Texas Instruments UCC14141-Q1 Isoliertes DC/DC-Modul von 5 kVRMS

Das Texas Instruments UCC14141-Q1 isolierte DC/DC-Modul von 5 kVRMS ist ein für Fahrzeuganwendungen qualifiziertes DC/DC-Leistungsmodul mit hoher Isolationsspannung, das IGBT- oder SiC-Gate-Treiber mit Strom versorgt. Das UCC14141-Q1 enthält einen Transformator und einen DC/DC-Controller mit einer proprietären Architektur, um eine hohe Dichte mit sehr geringen Emissionen zu erzielen. Die Ausgangsspannungen mit hoher Genauigkeit bieten eine bessere Kanalverbesserung für einen höheren Systemwirkungsgrad ohne Überlastung des Gate des Leistungsgeräts. Die Eingangsspannung von UCC14141-Q1 unterstützt sowohl die große LiFePO4 -Batteriespannung von Elektrofahrzeugen (8 V bis 18 V) als auch die geregelte 12-V-Schiene (10,8 V bis 13,2 V) mit unterschiedlicher Ausgangsleistung.

Das UCC14141-Q1 von Texas Instruments ist ein vollständig integriertes Modul mit On-Chip-Bauteilschutz, das ein Minimum an externen Bauelementen erfordert und zusätzliche Funktionen bietet. Zu den weiteren Merkmalen gehören Eingangsunterspannungssperre, Überspannungssperre, Ausgangsspannungs-Power-Good-Komparatoren, Übertemperaturabschaltung, Soft-Start-Timeout, einstellbare isolierte positive und negative Ausgangsspannung, ein Enable-Pin und ein Open-Drain-Ausgangs-Power-Good-Pin.

Merkmale

  • Vollständig integriertes isoliertes DC/DC-Modul mit hoher Dichte und Trenntransformator
  • Isolierter DC/DC zum Antrieb: IGBTs, SiC-FETs
  • Eingangsspannungsbereich von 8 V bis 18 V mit einem absoluten Maximum von 32 V
  • Ausgangsleistung von 1,5 W für 10,8 V < VIN < 13,2 V, bei TA ≤ 85 °C
  • Ausgangsleistung von 1 W für 8 V < VIN < 18 V, bei TA ≤ 85 °C
  • Einstellbare (VDD– VEE) Ausgangsspannung (mit externen Widerständen): 15 V bis 25 V, ±1,3 % Regelgenauigkeit über den gesamten Temperaturbereich
  • Einstellbare (COM – VEE) Ausgangsspannung (mit externen Widerständen): 2,5 V bis (VDD– VEE), ±1,3 % Regelgenauigkeit über den gesamten Temperaturbereich
  • Freigabe, Power-Good, UVLO, OVLO, Soft-Start, Kurzschluss, Leistungsbegrenzung, Unterspannungs-, Überspannungs- und Übertemperaturschutz
  • Geringe elektromagnetische Emission mit Frequenzspreizungsmodulation und integriertem Transformator
  • CMTI > 150 kV/Vs
  • AEC-Q100-qualifiziert für Fahrzeuganwendungen
    • Temperaturklasse 1: -40 °C ≤ TJ ≤ 150 °C
    • Temperaturklasse 1: -40 °C ≤ TA ≤ 125 °C
  • Fähig für die funktionale Sicherheit
    • Dokumentation zur Unterstützung des Designs von funktionalen Sicherheitssystemen ist verfügbar
  • Geplante sicherheitsbezogene Zulassungen
    • Verstärkte Isolierung von 7.071 VPK gemäß DIN EN IEC 60747-17 (VDE 0884-17)
    • Isolierung: 5.000 VRMS für 1 Minute gemäß UL 1577
    • Verstärkte Isolierung gemäß CQC GB4943.1
  • 36-Pin-Wide-SSOP-Gehäuse

Applikationen

  • Hybrid-, Elektro- und Antriebsstrangsystem (EV/HEV)
    • Wechselrichter und Motorsteuerung
    • On-Board- (OBC) und drahtloses Ladegerät
    • DC/DC-Wandler
  • Netzinfrastruktur
    • EV-Leistungsmodul für Ladestationen
    • DC-Ladestation (Stapel)
    • Solarstringwechselrichter
  • Motorantrieb
    • AC-Wechselrichter und VF-Antrieb, Roboter-Servoantrieb
  • Industrie-Transportsysteme
    • Elektroantrieb für Geländefahrzeuge

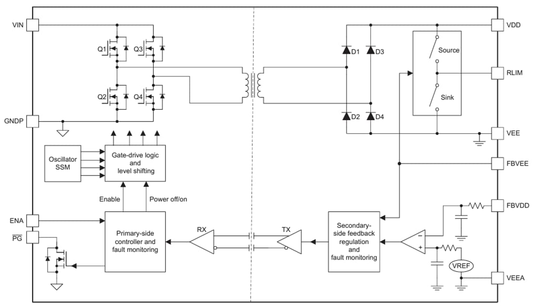
Funktionales Blockdiagramm

Blockdiagramm - Texas Instruments UCC14141-Q1 Isoliertes DC/DC-Modul von 5 kVRMS

Gerätevergleich-Tabelle

Tabelle - Texas Instruments UCC14141-Q1 Isoliertes DC/DC-Modul von 5 kVRMS
Veröffentlichungsdatum: 2023-09-20 | Aktualisiert: 2024-03-11