Texas Instruments LMG3626 700 V 220 mΩ GaN-FET
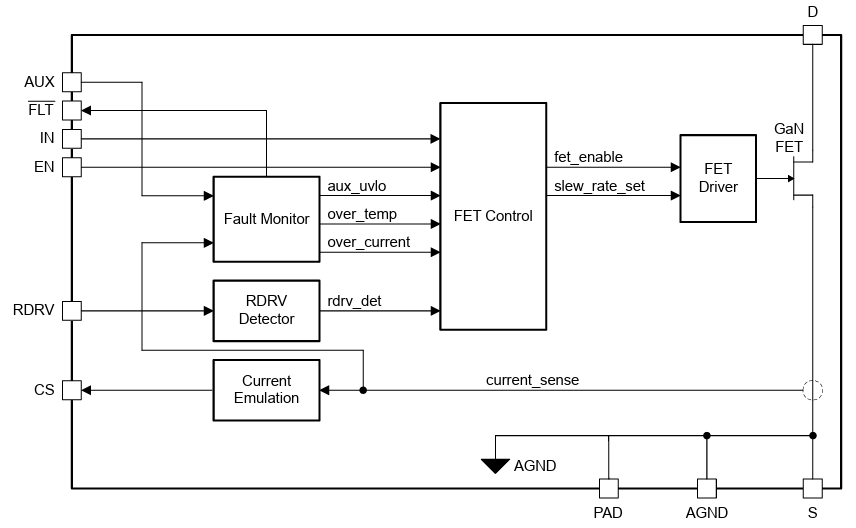
LMG3626 700 V 220 mΩ GaN FET Applikationen Texas Instruments ist für den Einsatz in Schaltnetzteilen (SMPS) konzipiert. Dieser IC unterstützt Wechselrichter Leichtlast- Wirkungsgrad Anforderungen und Burst-Modus-Betrieb mit niedrigen Ruheströmen und schnellen Startzeiten. Die Funktionen des LMG3626 beinhalten einen Gate-Treiber, Schutzfunktionen und Strommessung. Zu den Schutzfunktionen dieses GaN-FET gehören Unterspannungssperre (UVLO), zyklusweise Strombegrenzung und Übertemperaturschutz. Der GaN-FET der Baureihe LMG3626 unterstützt die hohen Spannungen, die bei Offline-Leistungsschaltapplikationen auftreten. Der GaN-FET wird in einem 8 mm x 5,3 mm großen QFN-Gehäuse mit Wärme-Pad angeboten. Der LMG3626 ist ideal für AC/DC -Adapter und Ladegeräte, mobile Wand-Ladegeräte, USB- Wandsteckdosen, Zusatzstromversorgungen, SMPS -Stromversorgungen für TVS und LED-Netzteile.Merkmale
- 700 V, 220 mΩ GaN-Leistung FET
- Integrierter GATE-Treiber mit geringer Ausbreitungsverzögerung und einstellbarer Einschalt-Anstiegsgeschwindigkeitssteuerung
- Stromsensoremulation mit hoher Bandbreite und hoher Genauigkeit
- Zyklusweiser Überstromschutz
- Übertemperaturschutz mit FLT-Pin-Meldung
- 240 μA AUX-Ruhestrom
- 50 μA AUX-Standby-Ruhestrom
- 26 V maximale Spannung für die Versorgung und den Eingangslogik-Pin
- -40 °C bis 125 °C Betriebstemperaturbereich
- QFN-Gehäuse mit Wärme-Pad, 8 mm x 5,3 mm
Applikationen
- AC/DC-Adapter und -Ladegeräte
- Design von mobilen Wandladegeräten
- USB-Steckdose
- Auxiliary-power netzteile
- SMPS-Stromversorgung für Fernsehgeräte
- LED-Netzteile
Blockdiagramm
Veröffentlichungsdatum: 2025-09-19
| Aktualisiert: 2025-09-30
