Texas Instruments LMG3624 GaN-Power-Stage mit 650 V, 170 mΩ
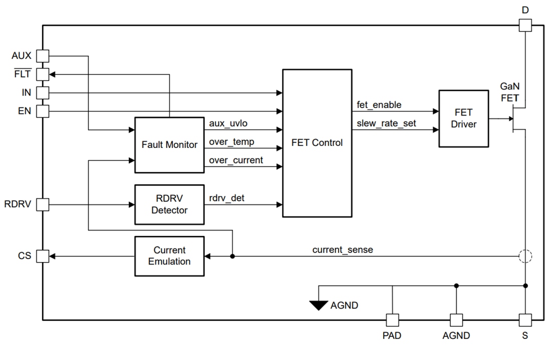
Die 650-V-/170-mΩ-GaN-Leistungsstufe LMG3624 von Texas Instruments ist für Applikationen mit Schaltnetzteilen vorgesehen. Die ICs der Baureihe LMG3624 vereinfachen das Design und reduzieren die Anzahl der Bauteile durch Integration des GaN-FETs und Gate-Treibers in ein einzelnen QFN-Gehäuse mit der Baugröße 8 mm x 5,3 mm. Programmierbare Einschalt-Anstiegsraten ermöglichen die EMI- und Schaltüberschwingkontrolle. Im Vergleich zu herkömmlichen Strommesswiderständen reduziert die Strommess-Emulation die Verlustleistung und ermöglicht es, das Low-Side-Wärme-Pad mit der Kühl-PCB zu verbinden. Diese Gate-Treiber ist ideal für AC/DC-Adapter und -Ladegeräte, Designs für mobile Wandladegeräte, USB-Wandsteckdosen, Hilfsstromversorgungen sowie SMPS-Stromversorgungen für Fernsehgeräte und LED-Netzteile.Das Bauteil LMG3624 von Texas Instruments unterstützt den Burst-Modus-Betrieb mit niedrigen Ruheströmen, erfüllt die Effizienzanforderungen für Wechselrichter bei Teillast und ermöglicht schnelle Startzeiten. Zu den Schutzfunktionen gehören die Unterspannungssperre (UVLO), die zyklusweise Strombegrenzung und der Übertemperaturschutz. Der Übertemperaturschutz wird über den Open-Drain-Pin FLT gemeldet.
Merkmale
- 650 V 170 mΩ GaN-Power-FET
- Integrierter Gate-Treiber mit geringen Ausbreitungsverzögerungen und einstellbarer Einschalt-Anstiegsgeschwindigkeitssteuerung
- Stromsensoremulation mit hoher Bandbreite und hoher Genauigkeit
- Zyklusweiser Überstromschutz
- Übertemperaturschutz mit FLT-Pin-Meldung
- AUX-Ruhestrom: 240 µA
- AUX-STANDBY Ruhestrom: 50 µA
- Maximale Versorgungsspannung und Eingangsspannung an den Logikpins: 26 V
- QFN-Gehäuse mit Wärme-Pad, 8 mm x 5,3 mm
Applikationen
- AC/DC-Adapter und -Ladegeräte
- AC/DC-USB-Netzgeräte für Steckdosen
- AC/DC-Hilfsstromversorgungen
- Stromversorgung für Fernseher
- Design eines mobilen Wandladegeräts
- USB-Steckdose
- Hilfsnetzteile
- SMPS-Stromversorgung für TV
- LED-Netzteil
Funktionales Blockdiagramm
Veröffentlichungsdatum: 2024-08-13
| Aktualisiert: 2025-09-19
