Diodes Incorporated AP53782 USB PD DRP Regler mit I2C Schnittstelle

Der Diodes Inc. AP53782 USB Power Delivery (PD) Dual-Role-Leistungsregler (DRP)-Regler ist ein hochintegrierter USB Type-C® PD3.1 DRP-Regler mit einer I2C-Schnittstelle zur flexiblen Systemsteuerung. Die Diodes Inc. AP53782 unterstützt Extended Power Bereich (EPR)/Adjustable Spannung Supply (AVS) bis zu 28 V und Standard Power Bereich (SPR)/programmierbarer Power Supply (PPS) bis zu 21 V, ideal für Applikationen, die eine dynamische Spannungs- und Stromaushandlung erfordern.

Der AP53782 ist für den Betrieb mit einem externen MCU über I2C (SCL, SDA) und Interrupt-Pins ausgelegt und ermöglicht die präzise Steuerung von Leistungsrollen. Über I2C-Befehle kann der Host-MCU das Bauteil als Senke konfigurieren, um bestimmte Request Data Objects (RDO) von einer PD3.1-konformen Quelle anzufordern, oder als Quelle, um Power Data Objects (PDO) für mit einem Type-C-Anschluss ausgestattete Bauteile bereitzustellen.

Der AP53782 unterstützt QC2.0/3.0 Protokolle, den Modus für den Batteriestillstand und liefert VFB-Rückmeldung für externe DC/DC-Controller während der Leistungsverhandlung. Der Regler integriert Rp/Rd Endenabschluss- Widerstände und DRP Steuerschalter und arbeitet von 3,6 V bis 28 V mit einem Low-Side Strommessungs- Topologie. Der Stromverbrauch im Standby-Modus ist mit 50 µA minimal und erfüllt damit die Anforderungen batteriebetriebener Bauteile.

Der AP53782 basiert auf einem Hochspannungsprozess und verfügt über fortschrittliche Schutzfunktionen wie Kurzschlussschutz an den CC-Pins bis einschließlich 34 V und den DP/DN-Pins bis einschließlich 24 V. Intelligente FirmWare bietet umfassende Sicherheitsmechanismen, darunter Überspannungsschutz (OVP), Unterspannungsschutz (UVP), Überstromschutz (OCP) und Feuchtigkeitserkennung für den USB- Steckverbinder. Zu den weiteren Funktionen gehören Dual -Gate-Treiber für VBUS nMOS- Schalter, VBUS/VOUT Entladung und ein automatischer Neustart nach Defekten.

Der AP53782 ist nach USB PD3.1 v1.8 (TID: 11689) zertifiziert, vollständig RoHs-konform und halogenfrei und somit eine zuverlässige und umweltfreundliche LÖSUNG für moderne USB Type-C Applikationen.

Merkmale

  • Zertifiziert nach USB PD3.1 v1.8 mit TID: 11689
  • Unterstützt autonome DRP-Steuerung
  • Unterstützt EPR/AVS bis zu 28 V mit 100 mV/Schritt
  • Unterstützt SPR bis zu 21 V mit 20 mV/Schritt und 50 mA/Schritt
  • Stromverbrauch im Ruhezustand von nur 50 µA
  • Unterstützt Statusregister für die Systemüberwachung und -steuerung
  • Unterstützt I2C-Befehle für PDO- und RDO-Auswahlen
  • Unterstützt I2C-Befehle für einen externen MCU zur Überwachung und Steuerung
  • Unterstützt QC2.0/3.0 Ableitvorrichtung/Quelle
  • Unterstützt Dual-Gate-Treiber für VBUS nMOS Schalter
  • Unterstützt VFB-Feedback über den Strom-DAC für externe DC/DC
  • Betriebsspannungsbereich von 3,6 V bis 28 V mit Strommessung an der Low-Side
  • Unterstützt VBUS- und VOUT-Entladung
  • Unterstützt den Modus für eine leere Batterie
  • Unterstützt OVP/UVP/OCP mit automatischem Neustart
  • Unterstützt die Feuchtigkeitserkennung für den USB Steckverbinder
  • Bis zu 34 V VBUS-Kurzschlussschutz an den CC1/CC2 Pins, bis zu 24 V an den DP/DN Pins
  • Oberflächenmontierbares WQFN-24-Gehäuse
  • Vollständig RoHS-konform und völlig bleifrei
  • Gerät ohne Halogene und Antimon, umweltfreundliches Gerät

Applikationen

  • Powerbanks (Ladegeräte)
  • Elektrowerkzeuge
  • Drahtlose Lautsprecher
  • Elektrofahrräder
  • POS- Anschlüsse
  • Tragbare Displays

Technische Daten

  • Versorgungsspannungsbereich von 3,6 V bis 28 V
  • 2,5 mA Betriebsversorgungsstrom
  • 3 V Betriebsversorgungsspannung
  • Wärme-
    • Widerstand von 29,6 °C/W von der Verbindungsstelle zur Umgebung
    • Widerstand von 20,6 °C/W von der Verbindungsstelle zum Gehäuse (Oberseite)
    • 11,2 °C/W Widerstand von der Verbindung zur Platine
    • 0,4 °C/W Kennwert von der Verbindung zur Oberseite
    • 11,4 °C/W Kennwert von der Verbindung zur Oberseite
    • 6,0 °C/W Widerstand von der Verbindung zum Gehäuse (unterer Teil)
  • ESD-Bewertungen
    • Maximales Human Body Model (HBM) von 2 kV
    • 750 V maximaler CDM-Wert (CDM = Charged-Device Model)
  • Betriebsumgebungstemperaturbereich von -40 °C bis +85 °C
  • Betriebstemperatur-Verbindungsbereich zwischen -40 °C und +125 °C
  • Maximale Löttemperatur für 10 s: +300 °C

Typische Applikationsschaltung

Applikations-Schaltungsdiagramm - Diodes Incorporated AP53782 USB PD DRP Regler mit I2C Schnittstelle

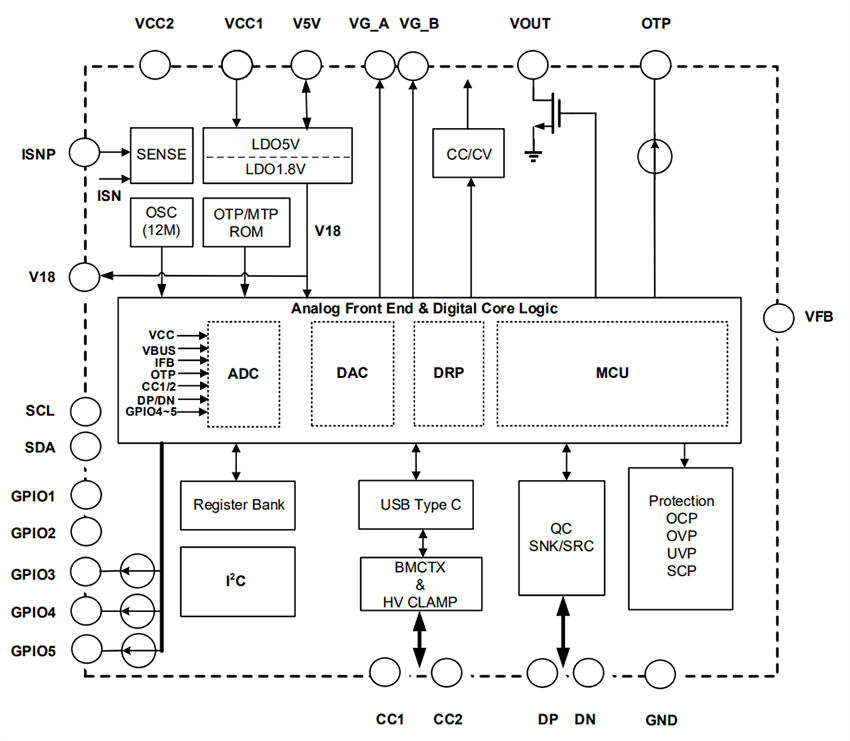
Funktionales Blockdiagramm

Blockdiagramm - Diodes Incorporated AP53782 USB PD DRP Regler mit I2C Schnittstelle
Veröffentlichungsdatum: 2025-11-26 | Aktualisiert: 2026-01-26