Toshiba TMPM4K Gruppe(1) 32-Bit-Mikrocontroller
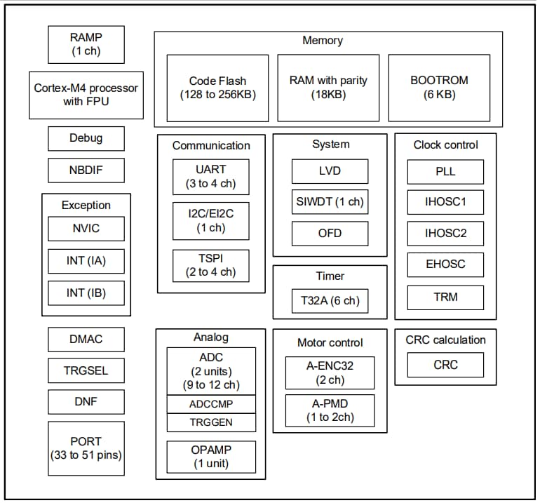
Der TMPM4K Gruppe(1) 32-Bit-Mikrocontroller von Toshiba basiert auf dem leistungsstarken Arm® Cortex®-M4 Prozessor mit FPU. Dieser Mikrocontroller arbeitet in einem Frequenzbereich von 1 MHz bis 120 MHz und einem Spannungsbereich von 2,7 V bis 5,5 V. Der TMPM4K Mikrocontroller verfügt über Selbstdiagnosefunktionen, die die Zertifizierung der funktionalen Sicherheit gemäß IEC 60730 Klasse B und anderen Standards unterstützen. Dieser Mikrocontroller verfügt über Encoder-Schnittstellen und programmierbare Motorsteuerungsfunktionen, die die CPU- Belastung während der Motorsteuerung reduzieren. Der TMPM4K Mikrocontroller verfügt über einen 12-Bit-Analog-Digital-Wechselrichter (ADC), einen DMA-Regler (DMAC), eine CRC-BerechnungsSchaltung (CRC), eine asynchrone serielle Kommunikationsschaltung (UART) und eine Trigger- Auswahlschaltung (TRGSEL). Dieser Mikrocontroller wird in Applikationen wie Motoren, Waschmaschinen, Kühlschränken und Industrieausrüstungen eingesetzt.Merkmale
- Arm® Cortex®-M4 Prozessor mit FPU
- Betriebsfrequenzbereich von 1 MHz bis 120 MHz
- Unterstützt die Speicherschutzeinheit (Memory Protection Unit, MPU)
- 128 KB bis 256 KB Flash-Speicher
- Betriebsbereiche
- Spannungsbereich von 2,7 V bis 5,5 V
- Leerlauf- und STOP1-Modus mit geringem Stromverbrauch
- Interner Speicher
- 128 KB bis 256 KB Code-Flash und bis zu 100.000-fache Wiederbeschreibungsfrequenzen
- 18 KB RAM, unterstützt Parität
- Uhr
- 6 MHz bis 24 MHz (Keramik- und Quarzoszillator) externer Hochgeschwindigkeits-Oszillator (EHOSC)
- 6 MHz bis 24 MHz externer Hochgeschwindigkeits-Takteingang (EHCLKIN)
- 10 MHz, unterstützt Benutzertrimmung interner Hochgeschwindigkeits-Oszillator (IHOSC1)
- 120 MHz PLL
- Fortschrittliche programmierbare Motorsteuerungsschaltung (A-PMD)
- 1x bis 2x Kanäle
- Synchronisierter Betrieb mit komplementärem 3-Phasen-PWM-Ausgang und 12-Bit-ADC
- Unterstützt eine verschachtelte 3-Phasen-PFC-Steuerung
- Not-Aus-Funktion durch externe Eingänge (EMG-Pin und OVV-Pin)
- Erweiterte Encoder-Eingangsschaltung (32-Bit, A-ENC32)
- 2-Kanal
- Encoder / Sensor (3x Typen) / Timer / Phasenzähler-Modus
- 32-Bit-Timer-Ereigniszähler (T32A)
- 6 Kanäle als 32-Bit-Timer und 12 Kanäle als 16-Bit-Timer
- Intervalltimer, Ereigniszähler, Eingangserfassung, Zweiphasen-Plus-Zähler, PPG-Ausgang, Synchronstart und Trigger-Start und -Stopp
- Takt-selektiver Watchdog-Timer (SIWDT)
- 1 Kanal
- Ein anderer Takt als der Systemtakt kann als Quelltakt gewählt werden
- Klares Fenster, Unterbrechung oder Reset-Ausgang (auswählbar)
- I2C-Schnittstelle
- 1-Kanal, unterstützt Multi-Master-I2C-Schnittstelle
- 1-Kanal, unterstützt Multi-Master und 10-Bit-Adressierung, I2C-Schnittstelle Version A (EI2C)
- 12-Bit-Analog-Digital-Wechselrichter (ADC)
- 2 Einheiten, 9 bis 12 analoge Eingänge
- Wandlungszeit von 0,73 µs bei fSCLK = 30 MHz
- Funktion zur Unterstützung der Selbstdiagnose
- Vergleichsfunktionen der Umrechnungsergebnisse jeder Einheit
- Gehäuse
- LQFP64 10 mm x 10 mm, 0,5 mm Raster
- LQFP48 7 mm x 7 mm, 0,5 mm Raster
- LQFP44 10 mm x 10 mm, 0,8 mm Raster
Applikationen
- Industrieapplikationen
- Umrichter
- Motorgeräte
- Leistungsregler
- Roboter
- Verbraucher
- Klimaanlagen
- Waschmaschinen
- Kühlschränke
Blockdiagramm
Veröffentlichungsdatum: 2025-02-20
| Aktualisiert: 2025-08-28
