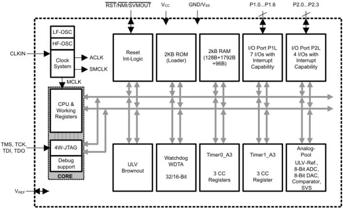
Bei dem MSP430L092 von Texas Instruments handelt es sich um eine MSP430 Mikrocontroller-Konfiguration mit zwei 16-Bit-Timern, einem Ultra-Low-Voltage 8-Bit AD-Wandler, einem Ultra-Low-Voltage 8-Bit DA-Wandler und bis zu 11 I/O-Pins. Der TI MSP430L092 MCU ist der erste echte 0,9V MCU und bietet Entwicklern mehr Flexibilität und konfigurierbare Analogintegration. Der TI MSP430L092 ist ideal für Einzelzellensysteme (mit nur einer Batterie), bei denen eine komplette Analogsignalkette erforderlich ist. Die Familie der TI MSP430 Ultra-Low Power Mikrocontroller umfasst mehrere Geräte mit unterschiedlichen Peripherien für unterschiedliche Anwendungen. Die Architektur, kombiniert mit fünf Energiesparmodi, ist optimiert, um die Lebensdauer der Batterie bei tragbaren Messanwendungen zu verlängern. Der TI MSP430L092 MCU besitzt eine leistungsstarke 16-Bit RISC CPU, 16-Bit Register und Konstantgeneratoren für maximale Kodiereffizienz. Der digital gesteuerte Oszillator ermöglicht das Umschalten vom Energiesparmodus in den aktiven Modus in weniger als 5µs.
Merkmale
Ultra-Low-Versorgungsspannung (ULV) Bereich: 0,9V bis 1,5V (1 MHz), 1,5V bis 1,65V (4 MHz)