Texas Instruments UCC21737-Q1 Einkanal-Gate-Treiber
Der Texas Instruments UCC21737-Q1 Einkanal-Gate-Treiber ist ein galvanisch getrennter Gate-Treiber, der für SiC-MOSFETs und IGBTs mit einer Betriebsspannung von bis zu 2.121 V DC mit erweiterten Schutzfunktionen, erstklassiger dynamischer Leistung und Robustheit ausgelegt ist. Das Bauteil verfügt über einen Quellen- und Senken-Spitzenstrom von bis zu ±10 A.Die Eingangsseite ist von der Ausgangsseite mit der kapazitiven SiO2 -Isolationstechnologie isoliert. Diese Funktion unterstützt eine Betriebsspannung von bis zu 1,5 kVRMS und eine Stoßstromfestigkeit von 12,8 kVPK mit einer Lebensdauer der Isolationsbarriere von mehr als 40 Jahren. Darüber hinaus bietet das Bauteil einen niedrigen Teil-zu-Teil-Versatz und eine Gleichtakt-Rauschimmunität (CMTI) von 150 V/ns.
Der UCC21737-Q1 von Texas Instruments enthält die hochmodernen Schutzfunktionen, wie z. B. schnelle Überstrom- und Kurzschlusserkennung, Fehlermeldung und Unterstützung für die Nebenschlussstrommessung. Außerdem verfügt das Bauteil über eine aktive Miller-Klemme sowie eine eingangs- und ausgangsseitige UVLO-Funktion zur Optimierung des Schaltverhaltens und der Robustheit von SiC und IGBT. Die ASC-Funktion kann verwendet werden, um den Netzschalter bei Systemausfällen zwangsweise einzuschalten. Diese Funktion erhöht die Vielseitigkeit der Treiber und vereinfacht den Aufwand, die Größe und die Kosten des Systemdesigns.
Merkmale
- 5,7 kV Isolierter Einkanal-Gate-Treiber: 5,7 kVRMS
- Mit den folgenden Ergebnissen AEC-Q100-qualifiziert:
- Umgebungsbetriebstemperaturbereich: -40 °C bis +150° C (Bauteiltemperatur Klasse 0)
- HBM-ESD-Bauteilklassifikation Stufe 3A
- CDM-ESD-Bauteilklassifikation Stufe C6
- SiC-MOSFETs und IGBTs von bis zu 2.121 Vpk
- Maximale Ausgangsantriebsspannung (VDD-VEE): 33 V
- Antriebsstärke von ±10 A und Split-Ausgang
- Mindestens 150 V/ns CMTI
- Schneller Überstromschutz mit Anschwingzeit von 270 ns
- Externe aktive Miller-Klemme
- Sanftes Ausschalten von 900 mA, wenn ein Fehler auftritt
- ASC-Eingang auf der isolierten Seite zum Einschalten des Leistungsschalters während Systemfehlern
- Alarm-FLT bei Überstrom und Rückstellung von RST/EN
- Schnelle Aktivierungs-/Deaktivierungs-Reaktion auf RST/EN
- Unterdrückt Rauschtransienten von <40 ns und Impuls auf den Eingangspins
- 12 V VDD UVLO und -3 V VEE UVLO mit Power-Good auf RDY
- Ein-/Ausgänge mit Über-/Unterschwingungs-Transientenspannungsfestigkeit von bis zu 5 V
- Ausbreitungsverzögerung von 130 ns (max.) und Impuls-/Teileversatz von 30 ns (max.)
- SOIC-16-DW-Gehäuse mit Kriechstrecke und Luftstrecke von > 8 mm
- Sperrschicht-Betriebstemperatur: -40 °C bis +150 °C
Applikationen
- Traktionswechselrichter für EVs
- On-Board-Ladegerät und -Ladestapel
- DC/DC-Wandler für HEV/EVs
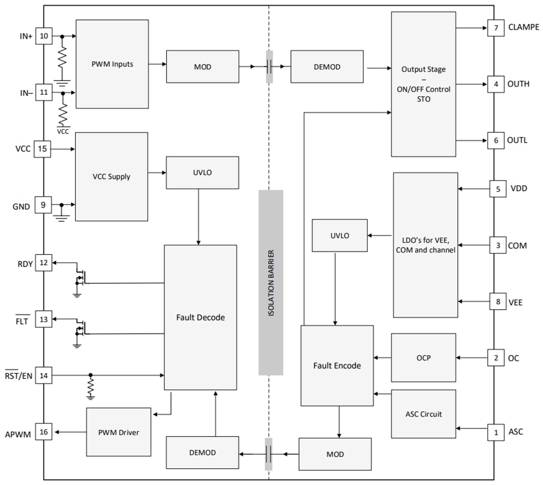
Funktionales Blockdiagramm
