Texas Instruments TPS92365x Aufwärts-/Abwärts-Aufwärts-LED-Treiber
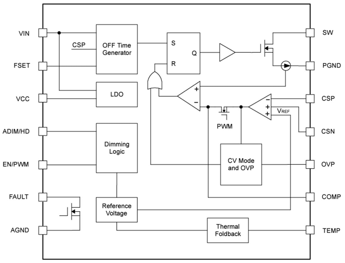
Die nicht-synchronen Aufwärts-/Abwärts-Aufwärts-LED-Treiber TPS92365x von Texas Instruments verfügen über einen großen Eingangsbereich von 4,5 V bis 65 V. Durch die Integration des Low-Side-NMOS-Schalters können die Bauteile LEDs ansteuern und Batterien mit hoher Leistungsdichte und hohem Wirkungsgrad laden. Diese Bauteile sind mit typischen Strombegrenzungen von 1,5 A (TPS922650), 3 A (TPS922651, TPS922652 und TPS922653) und 6,5 A (TPS922654 und TPS922655) erhältlich. Darüber hinaus unterstützt der TPS92365x eine gemeinsame Anodenverbindung und ein einschichtiges PCB-Design. Die Schaltfrequenz ist von 100 kHz bis 2,2 MHz mit einer optionalen Frequenzspreizungsfunktion für eine bessere EMI-Leistung konfigurierbar.Der TPS92365x unterstützt vier Verdunkelungsoptionen: Analog, PWM, hybrid und flexibel. Jede Verdunkelungsmethode kann über die PWM- und ADIM-Eingangspins mit einfachen High- und Low-Signalen konfiguriert werden. Der TPS92365x übernimmt eine adaptive Off-Time-Strommodussteuerung und eine intelligente und genaue Abtastung, um eine induktive schnelle Verdunkelung (Inductive Fast Dimming, IFD) zu ermöglichen und eine hohe Verdunkelungsgenauigkeit zu erzielen.
Der TPS92365x von Texas Instruments bietet mehrere systematische Schutzfunktionen, diese umfassen Unterbrechungen und Kurzschlüsse von LEDs und Messwiderständen, ein konfigurierbares thermisches Foldback sowie eine thermische Abschaltung. Ein Fehlerausgang sendet Bestätigungssignale aus, sobald ein Fehlerzustand erkannt wird.
Merkmale
- Großer Eingangsbereich: 4,5 V bis 65 V
- LED-Verbindung mit gemeinsamer Anode
- Integrierter 150 mΩ MOSFET mit typischer Strombegrenzung in Höhe von 3 A/6,5 A
- Optionale Schaltfrequenz: 100 kHz bis 2,2 MHz
- Frequenzspreizung für TPS923653 und TPS923655
- Erweiterte Verdunkelungsoptionen
- Analoge Verdunkelung (256 : 1)
- Schnelle PWM-Verdunkelung (150 ns Pulsbreite)
- Hybride und flexible Verdunkelung (2.000 : 1 bei 20 kHz PWM, 10.000 : 1 bei 4 kHz PWM, 1.000.000 : 1 bei 120 Hz PWM)
- CC/CV-Lademodus
- Vollständige Schutzfunktionen
- Schutz der LED gegen Unterbrechung und Kurzschluss
- Schutz des Schalter-FETs gegen Unterbrechung und Kurzschluss
- Ausfallschutz für externe Komponenten
- Zyklus-für-Zyklus-Strombegrenzung
- Übertemperaturschutz
- Fehlerausgang (Open-Drain)
- Konfigurierbare thermische Foldback-Kurve
- VSON-, WSON- und SOT-23-Gehäuseoptionen
Applikationen
- Konstante Beleuchtung
- Innen-, Außen- und professionelle Beleuchtung
- Medizinische, chirurgische Beleuchtung
- Projektor, Laser-TV, Drucker, IP-Kamera
- Sofortige Beleuchtung
- Maschinelles Sehen, Kamerablitz
- Feueralarm, Stroboskop
- CC- und CV-Quelle
- LCD-Hintergrundbeleuchtung
- Batterieladung
- TEC-Steuerung
Funktionales Blockdiagramm
