Texas Instruments TPS92360 LED-Hintergrundbeleuchtungstreiber

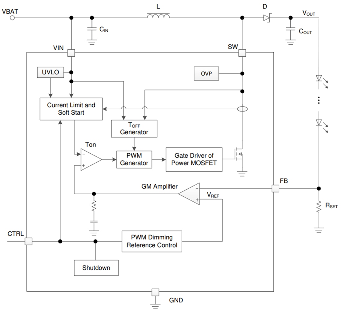
Der LED-Hintergrundbeleuchtungstreiber TPS92360 von Texas Instruments wird mit einem integrierten 40-V-Schalter-FET geliefert und ist ein Aufwärtswandler, der reihengeschaltete LEDs ansteuert. Der Aufwärtswandler verfügt über einen internen MOSFET von 40 V, 1,8 A mit einer Strombegrenzung von mindestens 1,2 A; dadurch kann er einzelne oder parallele LED-Ketten für kleine bis große Panel-Hintergrundbeleuchtungen antreiben. Der voreingestellte weiße LED-Strom wird mit dem externen Sensorwiderstand, RSET, eingestellt und die Rückkopplungsspannung auf 204 mV geregelt. Während des Betriebs kann der LED-Strom mit einem Pulsweitenmodulationssignal (PWM) gesteuert werden, das auf dem CTRL-Pin angelegt ist, über den das Tastverhältnis die Rückkopplungs-Referenzspannung bestimmt. Der TPS92360 schaltet den LED-Strom nicht aus und erzeugt daher keine hörbaren Geräusche auf dem Ausgangskondensator. Für einen maximalen Schutz verfügt das Bauteil über einen integrierten offenen LED-Schutz, der den TPS92360 deaktiviert, um zu verhindern, dass die Ausgangsspannung die absoluten maximalen Nennspannungen des Bauteils während offenen LED-Bedingungen überschreitet. Der TPS92360 von Texas Instruments ist in einem platzsparenden 5-Pin-SC70-Gehäuse verfügbar.

Merkmale

  • Eingangsspannung: 2,7 V bis 5,5 V
  • Integrierter 40-V-, 1,8-A-MOSFET
  • Treibt eine LED-Kette von bis zu 38 V an
  • 1,2 A minimale Schaltstromgrenze
  • 1,2 MHz Schaltfrequenz
  • 204 mV Spannungsreferenz
  • Interne Kompensation
  • PWM-Helligkeitssteuerung
  • Offener LED-Schutz
  • Unterspannungsschutz
  • Integrierter Soft-Start
  • Thermische Abschaltung
  • Wirkungsgrad von bis zu 90 %

Applikationen

  • Smartphone-Hintergrundbeleuchtung
  • Tablet-Hintergrundbeleuchtung
  • PDAs, Handheld-Computer, GPS-Empfänger
  • Tragbare Media-Player, tragbare TV-Geräte
  • Weiße LED-Hintergrundbeleuchtung für Displays mit kleinem und Medien-Formfaktor
  • Handheld-Datenterminals (EPOS)
  • Medizinische und Handheld-Geräte
  • Thermostatanzeige
  • Blutzuckermessgeräte
  • Blitzlichter
  • Kühlschränke und Backöfen

Funktionales Blockdiagramm

Blockdiagramm - Texas Instruments TPS92360 LED-Hintergrundbeleuchtungstreiber
Veröffentlichungsdatum: 2021-05-20 | Aktualisiert: 2022-03-11