Texas Instruments TPS7A05 Low-Dropout-Regler mit extrem niedrigem IQ
Der Texas Instruments TPS7A05 Low-Dropout-Regler mit extrem niedrigem IQ ist ein sehr kleiner Low-Dropout-Regler mit niedrigem Ruhestrom, der mit einer ausgezeichneten transienten Leistungsfähigkeit 200 mA beziehen kann. Dieses Bauteil verfügt über einen Ausgangsbereich von 0,8 V bis 3,3 V mit einer typischen Genauigkeit von 1 %. Der TPS7A05 mit sehr niedrigem IQ (1µA) ist speziell für batteriebetriebene Applikationen ausgelegt, bei denen ein sehr niedriger Ruhestrom ein kritischer Parameter für die Verlängerung der Lebensdauer der Batterie ist. Das Bauteil kann von wiederaufladbaren Li-Ionen-Batterien, Li-Primärbatteriechemien wie Li-SOCl2, Li-MnO2 und zwei oder drei Zell-Alkali-Batterien betrieben werden. Der TLV7A05 bietet einen aktiven Pull-Down-Schaltkreis, um den Ausgang bei Deaktivierung schnell zu entladen.Merkmale
- Extrem niedriger IQ: 1 µA (typisch), 3 µA (max.)
- IGND: 6 µA (typisch) bei 200 mA
- Hervorragendes Einschwingverhalten
- Gehäuse
- X2SON (4) von 1,0 mm x 1,00 mm
- DSBGA (4) von 0,65 mm × 0,65 mm
- SOT-23 (5)
- Eingangsspannungsbereich: 1,4 V bis 5,5 V
- Ausgangsgenauigkeit: 1 % typisch, 3 % max.
- Erhältlich in festen Ausgangsspannungen
- 0,8 V bis 3,3 V
- Sehr niedriger Dropout
- 235 mV (max.) bei 200 mA (3,3 VOUT)
- Aktive Ausgangsentladung
- Foldback-Strombegrenzung
- Stabiler Betrieb mit 0,47 μF oder größerer Kondensator
Applikationen
- Wearable Elektronik
- Ultrabooks, Tablets, eReaders
- Always-On-Netzgeräte
- Set-Top-Boxen
- Spiele-Controller, Fernbedienungen, Spielzeuge, Drohnen
- Drahtlose Handapparate und Smartphones
- Tragbare und batteriebetriebene Geräte
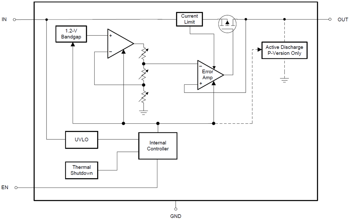
Funktionales Blockdiagramm
Veröffentlichungsdatum: 2018-06-22
| Aktualisiert: 2024-04-23
