Texas Instruments TPS62830x Synchrone Abwärtswandler
Die synchronen Abwärtswandler TPS62830x von Texas Instruments sind benutzerfreundliche DC/DC-Wandler mit niedrigem Ruhestrom und 1 % Genauigkeit. Dank der DSC-Control™ -Topologie bieten diese Wandler ein schnelles Einschwingverhalten bei geringer Ausgangskapazität. Durch die interne Referenz in den TPS62830x-Wandlern kann die Ausgangsspannung mit einer Rückkopplungsspannungsgenauigkeit von 1 % auf bis zu 0,5 V geregelt werden. Die Betriebstemperatur der Wandler erstreckt sich von -40°C bis 125°C und sind in zwei Pin-zu-Pin-kompatiblen Gehäusevarianten erhältlich. Die TPS62830x-Wandler bieten die Möglichkeit, den Betriebsmodus über einen MODE-Pin zu steuern und nutzen den Energiesparmodus, um einen hohen Wirkungsgrad aufrechtzuerhalten und die Batterie-/Akkulaufzeit des Systems zu verlängern.Zur Fehlerabsicherung verfügen die Wandler TPS62830x über einen HICCUP-Kurzschlussschutz und thermische Abschaltung. Die Wandler sind in zwei Gehäusevarianten erhältlich: einem 8-poligen QFN-Gehäuse mit den Maßen 1 mm x 2 mm und einem 8-poligen SOT583-Gehäuse mit den Maßen 1,6 mm x 2,1 mm. Die typischen Einsatzbereiche umfassen Solid-State-Laufwerke, tragbare Elektronik, analoge Sicherheit, IP-Netzwerkkameras, industrielle PCs, Fabrikautomatisierung und -steuerung, ASIC, SoC, MCU-Versorgung sowie generische Punkt-zu-Last-Anwendungen.
Merkmale
- Erhältlich als integriertes Induktor-Leistungsmodul
- 2.25V bis 5.5V Eingangsspannungsbereich
- Einstellbare Ausgangsspannung von 0,5 V bis 4,5 V
- 1 % Genauigkeit der FB-Spannung (-40 °C bis 125 °C TJ)
- 2MHz Schaltfrequenz
- Interne Leistungs-MOSFETs von 35 mΩ und 18 mΩ
- DCS-Control-Topologie
- Optimierte EMI-Leistung
- Erleichtert die Einhaltung von CISPR 11/32:
- Integrierte On-Chip-Rauschfilterkondensatoren
- Messungen nach CISPR sind verfügbar
- Hervorragendes Einschwingverhalten
- MODE-Pin zur Auswahl des Leitungsmodus
- Unterstützt 1,2 V GPIO
- Tastverhältnis von 100 % für niedrigen Dropout
- Aktive Ausgangsentladung
- Power-Good-Ausgang
- Übertemperaturschutz
- Hiccup oder Latch-off OCP/OVP
- Als Modelle stehen PSpice und SIMPLIS zur Verfügung
Applikationen
- Solid-State-Drive
- Tragbare Elektronik
- Analoge Sicherheits- und IP-Netzwerkkameras
- Industrie-PC
- Fabrikautomatisierung und -steuerung
- ASIC-, SoC- und MCU-Versorgung
- Allgemeiner Lastpunkt
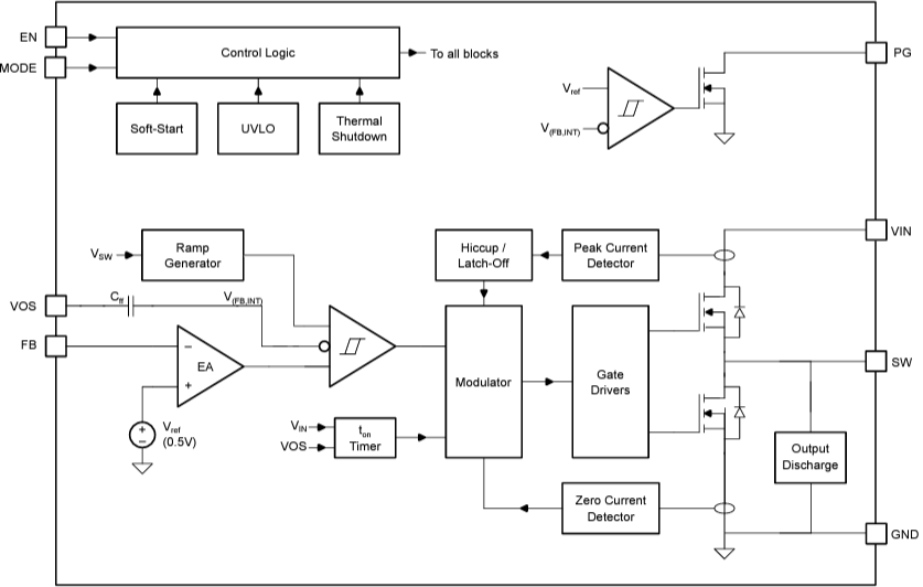
Funktionales Blockdiagramm
Typisches Applikationsdiagramm
Veröffentlichungsdatum: 2024-01-19
| Aktualisiert: 2024-05-29
