Texas Instruments TPS548D26 40-A-D-CAP+-Abwärtswandler
Der Texas Instruments TPS548D26 40-A-D-CAP+-Abwärtswandler ist ein hochintegrierter Abwärtswandler mit einer D-CAP+-Steuerungstopologie für ein schnelles Einschwingverhalten. Das Bauteil ist einfach zu bedienen und benötigt nur wenige externe Komponenten, da eine externe Kompensation nicht erforderlich ist. Das Bauteil eignet sich hervorragend für Applikationen in Rechenzentren mit begrenztem Platzangebot.Das TPS548D26 Bauteil verfügt über eine echte differenzielle Fernabfrage, leistungsstarke integrierte MOSFETs und eine genaue Referenz von ±1 %, 0,6 V über den gesamten Sperrschicht-Betriebstemperaturbereich. Das Bauteil zeichnet sich durch ein schnelles Ansprechen auf Lasttransienten, eine präzise Last- und Netzregelung, einen Skip-Modus- oder FCCM-Betrieb und eine programmierbare Soft-Start-Zeit aus. Schutzfunktionen für Überstrom, Überspannung, Unterspannung und Übertemperatur werden mit einem wählbaren Hiccup- oder Latch-off-Verhalten bereitgestellt.
Das TPS548D26 Bauteil von Texas Instruments ist bleifrei und ohne Ausnahmegenehmigung RoHs-konform.
Merkmale
- Integrierte MOSFETs von 4,0 mΩ und 1,0 mΩ für einen Dauerstrombetrieb von 40 A
- Unterstützt eine externe Vorspannung von 5 V, verbessert den Wirkungsgrad und ermöglicht eine minimale Eingangsspannung von 2,7 V.
- Ausgangsspannungsbereich: 0,6 V bis 5,5 V
- Präzise Spannungsreferenz und differenzielle Fernabfrage für hohe Ausgangsgenauigkeit
- VOUT -Toleranz von 0 °C bis 85 °C TJ: ±0,5 %
- VOUT -Toleranz von ±1 % bei -40 °C bis 125 °C TJ
- D-CAP+™-Steuertopologie mit einem schnellen Einschwingverhalten, das alle Keramik-Ausgangskondensatoren unterstützt
- Wählbare interne Schleifenkompensation über SS-Pin
- Wählbare Zyklus-für-Zyklus-Talstrombegrenzung
- Wählbare Betriebsfrequenz von 0,6 MHz bis 1,2 MHz mit DCM- oder FCCM-Betrieb
- Sicheres Hochfahren in vorgespannte Ausgänge
- Programmierbare Soft-Start-Zeit von 0,75 ms bis 6 ms
- Open-Drain-Power-Good-Ausgang (PG)
- Schutzfunktionen für Überstrom, Überspannung, Unterspannung und Übertemperatur mit einem wählbaren Hiccup- oder Latch-off-Verhalten
- 37-Pin-WQFN-FCRLF-Gehäuse von 5 mm x 6 mm
Applikationen
- Server- und Cloud-Computing-POLs
- Hardware-Beschleuniger
- Rechenzentrumsschalter
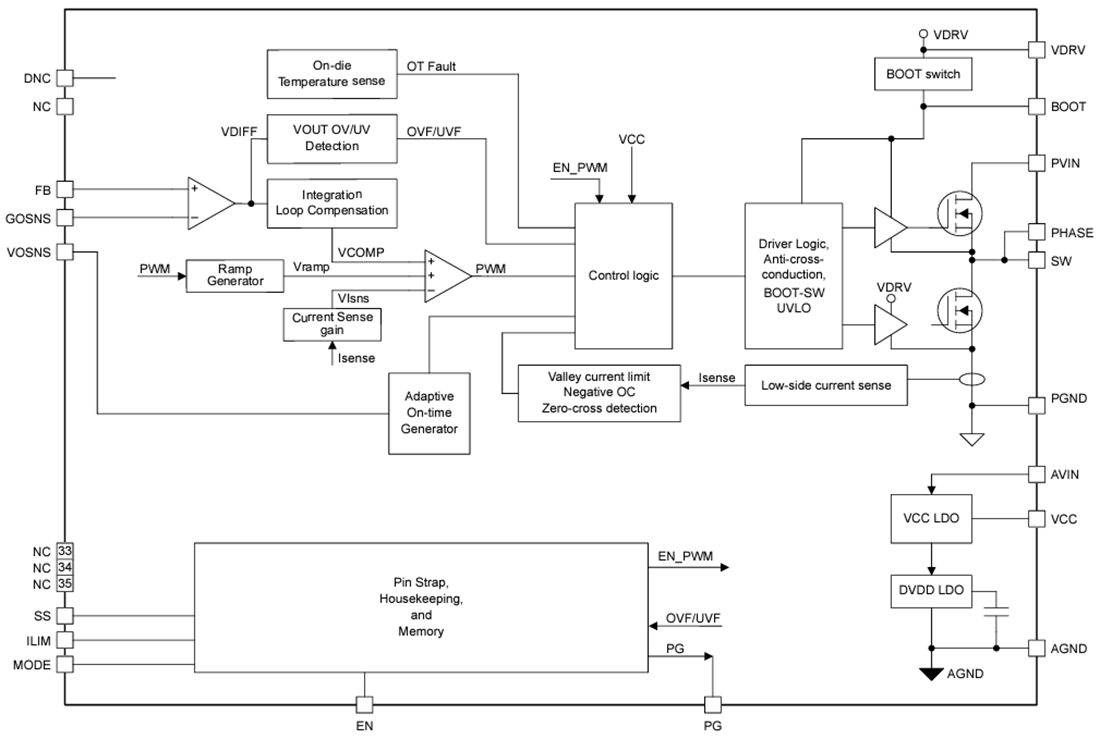
Funktionales Blockdiagramm
Veröffentlichungsdatum: 2024-04-22
| Aktualisiert: 2024-05-06
