Texas Instruments TPS389006/TPS389006-Q1 Spannungsüberwachung
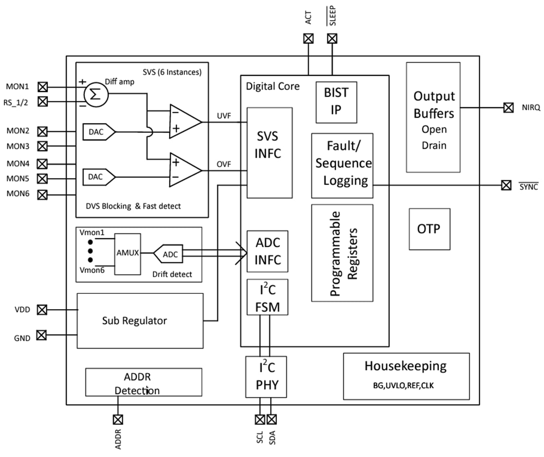
Texas Instruments TPS389006/TPS389006-Q1 Spannungsüberwachungs-ICs sind SIL-3-konforme Fensterüberwachungs-ICs mit sechs Kanälen und zwei Fernerkennungspins, die in einem 16-Pin-QFN-Gehäuse von 3 mm x 3 mm erhältlich sind. Diese hochpräzise Mehrkanal-Spannungsüberwachung ist für Systeme ausgelegt, die auf Niederspannungsversorgungsschienen betrieben werden und enge Versorgungstoleranzen aufweisen.Fernerkennungspins ermöglichen eine Spannungsmessung mit hoher Genauigkeit auf der Hochstromkernschiene, indem sie den Spannungsabfall über PCB-Leiterbahnen berücksichtigen. Der I2C-Funktionsumfang bietet Flexibilität bei der Auswahl von Schwellenwerten, Reset-Verzögerungen, Glitchfiltern und Pin-Funktionsumfang. Die interne Störfestigkeit und die Rauschfilter machen externe RC-Bauelemente überflüssig, um falsche Resets aufgrund von Spannungsspitzen zu reduzieren. Darüber hinaus benötigt das Bauteil keine externen Widerstände zum Einstellen der Überspannungs- und Unterspannungs-Reset-Schwellenwerte, was die Gesamtgenauigkeit, die Kosten und die Lösungsgröße weiter optimiert und die Zuverlässigkeit von Sicherheitssystemen verbessert.
Dieses Bauteil bietet CRC-Fehlerprüfung, Sequenzprotokollierung beim Ein- und Ausschalten und einen integrierten ADC für Spannungsanzeigen zur redundanten Fehlerprüfung. Darüber hinaus bietet der TPS389006 eine Synchronisierungsfunktion zum Identifizieren von Schienen, sobald diese erkannt werden. Das TPS389006/TPS389006-Q1 Bauteil kann auch mit dem TPS38700 Stromversorgungssequenzer von TI gekoppelt werden, um eine ordnungsgemäße Einschaltsequenz und Spannungsüberwachung für die Einhaltung der SIL-3-Stufe sicherzustellen. Die TPS389006-Q1 Bauteile von Texas Instruments sind gemäß AEC-Q100 für Fahrzeuganwendungen zugelassen.
Merkmale
- Mit der funktionalen Sicherheit konform
- Entwicklungsziel für funktionale Sicherheitsapplikationen
- Dokumentation zur Unterstützung des Systemdesigns gemäß IEC 61508
- Systematische Fähigkeit von bis zu SIL 3
- Hardwarefähigkeit bis zu SIL 3
- Überwachen hochmoderne SOCs
- Schwellenwertgenauigkeit (-40 °C bis +125 °C): ±6 mV
- Eingangsspannungsbereich: 2,5 V bis 5,5 V
- Unterspannungssperre (UVLO): 2,48 V
- Niedriger Standby-Ruhestrom: 200 µA
- Sechs Kanäle mit zwei Fernbedienungen
- Feste Fenster-Schwellenwerte
- 5-mV-Schritte von 0,2 V bis 1,475 V
- 20-mV-Schritte von 0,8 V bis 5,5 V
- Miniaturlösung und minimale Bauelementkosten
- QFN-Gehäuse: 3 mm x 3 mm
- Einstellbare Störfestigkeit über I2C
- Vom Benutzer einstellbare Spannungsschwellenwerte über I2C
- Für Sicherheitsapplikationen ausgelegt:
- Active-Low-Open-Drain-NIRQ-Ausgang
- Integrierter 8-Bit-ADC für Echtzeit-Spannungsanzeigen
- Zyklische Redundanzprüfung (CRC)
- Paket-Fehlerprüfung (PEC)
- Sequenz- und Fehlerprotokollierung
- Synchronisierungsfunktion zum Identifizieren von Schienen
- Verbindung mit einem Mehrkanal-Sequenzer für Sequenzierungsfunktionen
Applikationen
- Medizinische Robotik
- Industrieroboter
- Server-Switches
- Motortreiber
Funktionales Blockdiagramm
