Texas Instruments TPS27SA08/TPS27SA08-Q1 Smart-High-Side-Schalter
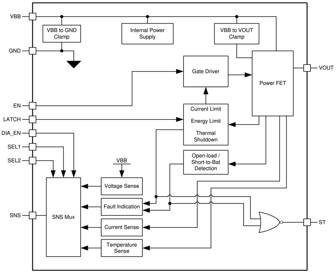
Der TPS27SA08/TPS27SA08-Q1 Smart-High-Side-Schalter von TTexas Instruments ist ein Einkanal-High-Side-Schalter, der für den Einsatz mit 24 V Versorgungssystemen ausgelegt ist. Das Bauteil enthält robuste Schutz- und Diagnosefunktionen, um den Schutz des Ausgangsanschlusses selbst bei schädlichen Ereignissen, wie z. B. Kurzschlüsse, zu gewährleisten. Das Bauteil schützt gegen Fehler durch eine zuverlässige Strombegrenzung, die je nach Bauteilausführung konfiguriert werden kann, um auf ein Überstromereignis zu reagieren, indem der Schalter sofort ausgeschaltet oder der Ausgangsstrom am Sollwert geregelt wird (nominal 20 A). Darüber hinaus bietet das TPS27SA08/TPS27SA08-Q1 Bauteil eine hochgenaue analoge Strommessung, die verbesserte Diagnosefunktionen bei der Ansteuerung verschiedener Lastprofile ermöglicht. Das Bauteil ermöglicht eine vorausschauende Wartung und Lastdiagnose, welche die Lebensdauer des Systems verlängern, indem Laststrom, Bauteiltemperatur und Versorgungsspannung an einen System-MCU gemeldet werden. Das TPS27SA08/TPS27SA08-Q1 Bauteil von Texas Instruments ist in einem kleinen 16-Pin-HTSSOP-Gehäuse verfügbar, das einen reduzierten PCB-Footprint ermöglicht.Merkmale
- Einkanal-High-Side-Smart-Schalter mit einem typischen 9 mΩ RON (TJ = 25 °C)
- Verbessert die Zuverlässigkeit durch Überstromschutz
- Der Strombegrenzungsschwellenwert ist nominal bei 20 A
- Strombegrenzung (Klemmung) beim Erreichen des Schwellenwerts
- Robuster integrierter Ausgangsschutz
- Integrierter thermischer Schutz
- Schutz gegen Kurzschluss zu Masse und Versorgung
- Automatisches FET-Einschalten während umgekehrter Versorgung
- Automatische Abschaltung, wenn ein Versorgungs- und Masseverlust auftritt
- Integrierte Ausgangsklemme zur Entmagnetisierung induktiver Lasten
- Konfigurierbare Fehlerbehandlung
- Analoger Messausgang kann für eine genaue Messung konfiguriert werden
- Laststrom
- Versorgungsspannung
- Bauteil-Temperatur
- Bietet eine FLT-Anzeige zurück zum MCU
- Erkennung von offener Last im Aus-Zustand und Kurzschluss-zu-GND
Applikationen
- Industrie-Motorantriebe
- Heizelemente
- Sensorelement-Heizgeräte
- Tankheizungen
- Digitale Hochstromausgänge
- Induktive Lasten
Datenblätter
Funktionales Blockdiagramm
Veröffentlichungsdatum: 2020-12-02
| Aktualisiert: 2024-10-07
