Texas Instruments TMUX9616QFPEVM Evaluierungsmodul
Das Evaluierungsmodul TMUX9616QFPEVM von Texas Instruments ist für das schnelle und einfache Prototyping der Multiplexer TMUX9616PT und TMUX9616NPT ausgelegt. TMUX9616 und TMUX9616N sind integrierte Schaltkreise (ICs) mit 16 Kanälen, niedrigem Widerstand, niedriger Kapazität und hoher Spannung, die gegen Latch-up-Effekte immun sind. Die Bauteile verfügen über 16 unabhängig wählbare 1:1-Single-Pole-Single-Throw-Schaltkanäle (SPST) und arbeiten mit zwei Spannungsversorgungen bis zu ±110 V. Der TMUX9616 verfügt über Ableitungswiderstände am Ausgang, während der TMUX9616N keine enthält.Der TMUX9616N kann separat bestellt und zur Evaluierung auf dem TMUX9616QFPEVM von TI platziert werden.
Merkmale
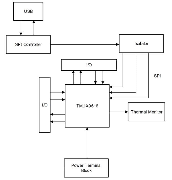
- Integrierte SPI-Controller-Hardware und GUI für die Kommunikation mit dem TMUX9616
- Direkte Docking-Stiftleisten für die einfache Integration des Impulsgebers TX7516
- Stiftleisten zur Überwachung aller Quellen- und Drain-Pins sowie digitalen Steuerpins
- Stromversorgungsanschlüsse für VDD, VLL und GND mit bestückten Entkopplungskondensatoren in der Nähe des Eingangsversorgungsanschlusses und des Bauteils
- Überwachungsschaltung für thermische Abschaltung mit LED-Signal
Applikationen
- Medizinische Ultraschall-Bildverarbeitung
- NDT Metall-Fehler-Erkennung
- Piezoelektrischer Transducer-Treiber
- Ultraschall-Durchflussgeber
- Drucker
- Optische MEMS-Module
Lieferumfang Kit
- TMUX9616QFPEVM
- Mini-USB-Kabel
Funktionales Blockdiagramm
Layout
Veröffentlichungsdatum: 2025-05-29
| Aktualisiert: 2025-06-06
