Texas Instruments TMS320F2812 32-Bit-Digitalsignal-Controller (DSC)

Der Texas Instruments TMS320F2812 32-Bit-Digitalsignal-Controller (DSC) mit Flash verfügt über eine leistungsstarke CMOS-Technologie, eine 32-Bit-CPU und einen stromsparenden Core. TMS320F2812 DSC enthält 128 KB x 16 eingebetteten Flash-Speicher, der in vier 8 KB x 16-Sektoren und sechs 16 KB x 16-Sektoren unterteilt ist. Dieses TI-Bauteil enthält außerdem einen einzelnen 1K x 16 OTP-Speicher im Adressbereich 0x3D 7800-0x3D 7BFF. Der Benutzer kann einen Flash-Sektor einzeln löschen, programmieren und validieren, während andere Sektoren unberührt bleiben.

Merkmale

  • Leistungsstarke statische CMOS-Technologie
    • 150 MHz (6,67 ns Zykluszeit)
    • Stromsparendes Design (1,8 V Core bei 135 MHz, 1,9 V Core bei 150 MHz, 3,3 V I/O)
  • JTAG-Boundary-Scan-Unterstützung IEEE-Standard 1149.1-1990 IEEE-Standard-Testzugriffsanschluss und Boundary-Scan-Architektur
  • Leistungsstarke 32-Bit-CPU (TMS320C28x)
    • 16 x 16 and 32 x 32 MAC Operationen
    • 16 x 16 Dual MAC
    • Harvard-Bus-Architektur
    • Atomare Operationen
    • Schnelle Reaktion auf Unterbrechungen und Bearbeitung
    • Unified-Memory-Programmiermodell
    • 4M Lineare Programm-/Datenadressenreichweite
    • Code-effizient (in C/C++ und Bestückung)
    • TMS320F24x/LF240x Prozessor-Quellcode-kompatibel
  • On-Chip-Speicher
    • Flash-Geräte: bis 128 K x 16 Flash (vier 8 K x 16 und sechs 16 K x 16 Sektoren)
    • ROM-Geräte: bis zu 128 K x 16 ROM
    • 1K x 16 OTP ROM
    • L0 und L1: 2 Blöcke mit je 4 KB x 16 Single-Access-RAM (SARAM)
    • H0: 1 Block von 8K x 16 SARAM
    • M0 und M1: 2 Blöcke zu je 1K x 16 SARAM
  • Boot-ROM (4 KB x 16)
    • Mit Software-Boot-Modi
    • Standard-Mathematik-Tabellen
  • Externe Schnittstelle (2812)
    • Über 1M x 16 Gesamtspeicher
    • Programmierbare Wartezustände
    • Programmierbares Lese-/Schreib-Strobe-Timing
    • Drei Einzelchip-Selektionen

Applikationen

  • Advanced Driver Assistance Systems (ADAS)
  • Building automation
  • Electronic point of sale
  • Electric Vehicle/Hybrid Electric Vehicle (EV/HEV) powertrain
  • Factory automation
  • Grid infrastructure
  • Industrial transport
  • Medical, healthcare, and fitness
  • Motor drives
  • Power delivery
  • Telecom infrastructure
  • Test and measurement

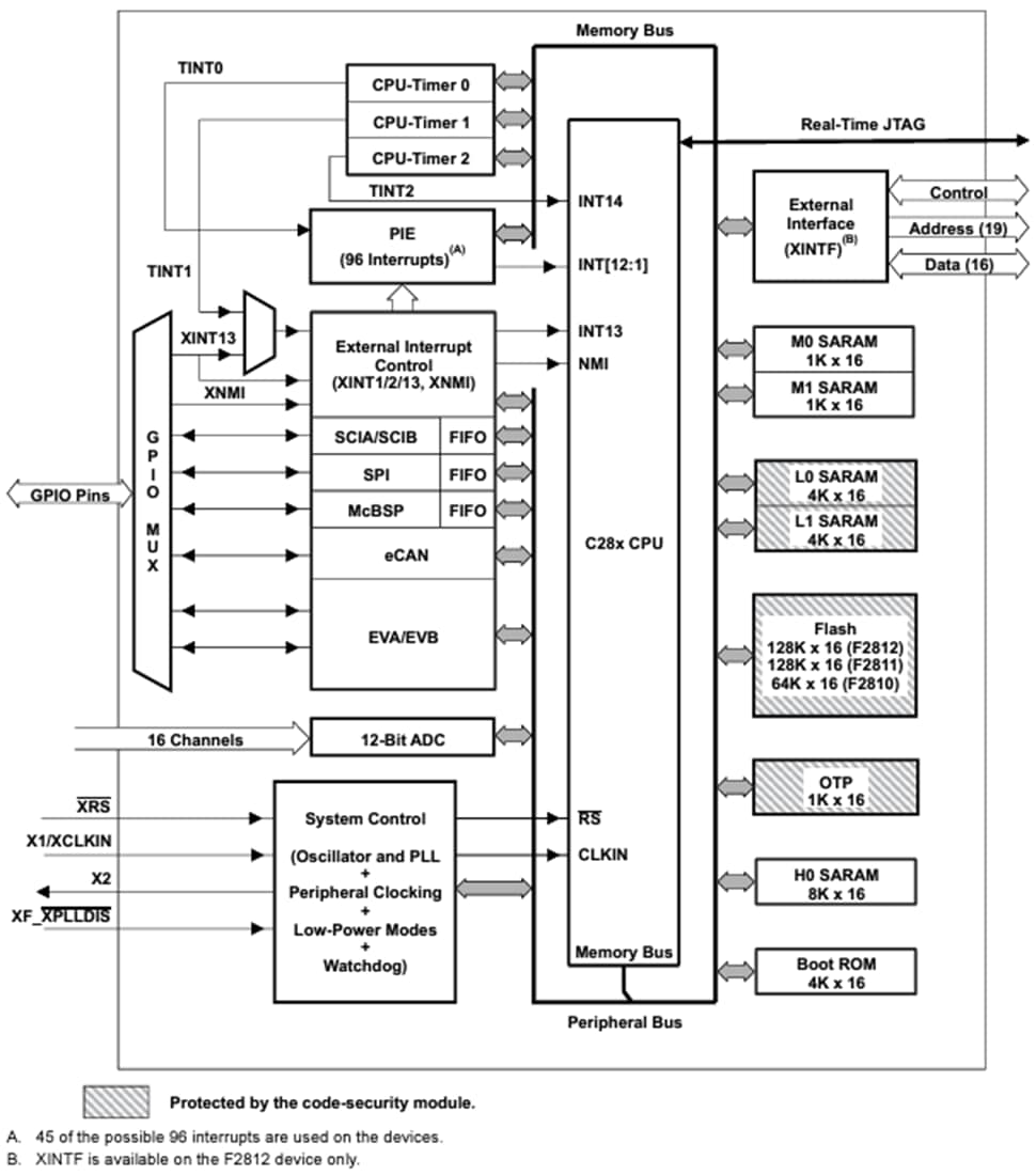
Functional Block Diagram

Blockdiagramm - Texas Instruments TMS320F2812 32-Bit-Digitalsignal-Controller (DSC)
Veröffentlichungsdatum: 2019-10-07 | Aktualisiert: 2023-11-27