Texas Instruments TMDS1204EVM Redriver-Evaluierungsmodul
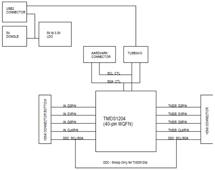
Das Texas Instruments TMDS1204EVM Redriver-Evaluierungsmodul (EVM) ist eine PCB, die zur Unterstützung der Kunden bei der Evaluierung des TMDS1204 für Videoapplikationen mit HDMI-Schnittstellen ausgelegt ist. Der TMDS1204 ist ein HDMI 2.1 Redriver, der Datenraten von bis zu 12 GBit/s unterstützt. Er ist mit HDMI 1.4b und HDMI 2.0b rückwärtskompatibel Dieses Evaluierungsmodul kann auch als Hardware-Referenzdesign für Implementierungen des TMDS1204 von Texas Instruments verwendet werden.Merkmale
- Plug-and-Play-Design
- Drei Bauteil-Aktivierungs-/Reset-Optionen
- Lokaler I2C-Zugang
- Eine DC-Strombuchse (J9) für einen 5V-Wandadapter
- Stromversorgung durch USB-Mikro-B-Steckverbinder
- Konfiguration über Steckbrücken verfügbar
Blockdiagramm
Veröffentlichungsdatum: 2022-09-30
| Aktualisiert: 2022-10-07
