Texas Instruments TLVx197-Q1 Hochspannungs-Präzisions-Operationsverstärker
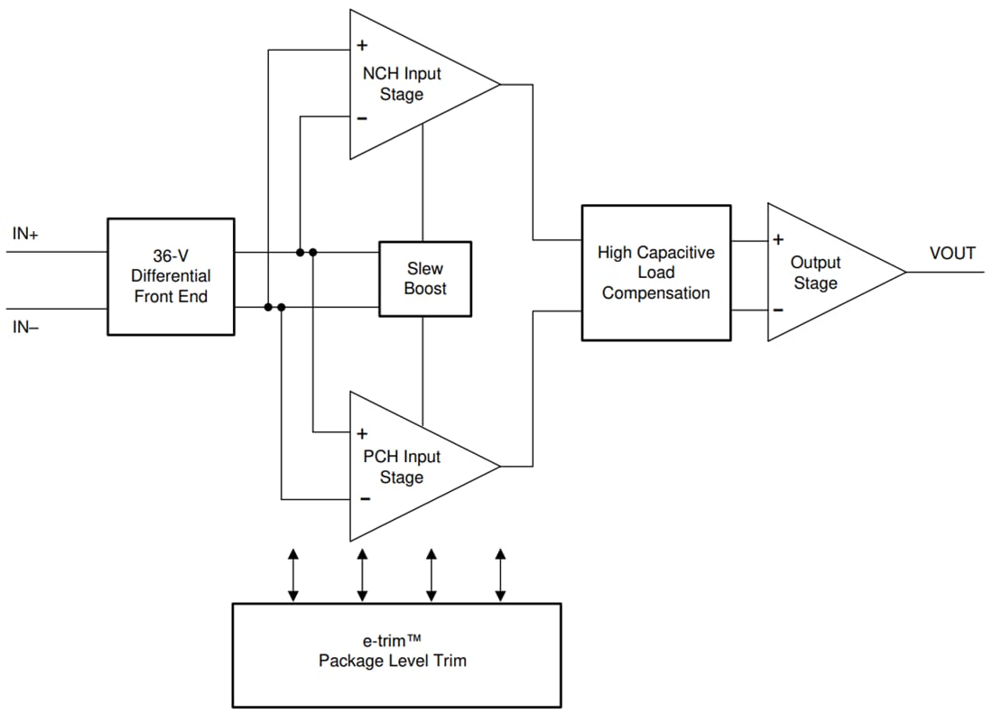
Texas Instruments TLVx197-Q1 Hochspannungs-Präzisions-Operationsverstärker (OPVs) gehören zu einer neuen Generation von kostengünstigen Automotive-qualifizierten 36-V-Operationsverstärkern. Der TLVx197-Q1 verwendet eine Methode der Trimmung auf Gehäuseebene für Offset und Offset-Temperaturdrift, die während der letzten Fertigungsschritte nach dem Kunststoffspritzgussverfahren implementiert wird. Diese Methode reduziert den Einfluss der inhärenten Eingangstransistor-Diskrepanz und der Fehler, die beim Formen des Gehäuses entstehen. Der TLVx197-Q1 von Texas Instruments hat eine gute DC-Präzision und AC-Leistung, einschließlich Rail-to-Rail-Ein-/Ausgang, optimierter Kostenaufbau und AEC-Q100-Qualifizierung der Klasse 1. Diese Funktion macht sie zu einer ausgezeichneten Wahl für Low-Side-, Strommessungs- und Signalkonditionierungs-Applikationen im Automobilbereich.Weitere einzigartige Merkmale sind ein differenzieller Eingangsspannungsbereich zur Versorgungsschiene, einen hohen Ausgangsstrom (±65 mA), eine starke kapazitive Lastansteuerung von bis zu 1 nF und eine hohe Anstiegsrate (20 V/µs). Diese Funktionen machen diese Bauteile zu einem robusten, leistungsstarken Operationsverstärker für Hochspannungs-Fahrzeuganwendungen. Die TLVx197-Q1 Operationsverstärker sind in Standardgehäusen verfügbar und sind von -40 °C bis +125 °C ausgelegt.
Merkmale
- Für Fahrzeuganwendungen AEC-Q100-qualifiziert
- Temperaturklasse 1: -40 °C bis +125 °C, TA
- Niedrige Offsetspannung von ±500 µV (max.)
- Rauscharm: 5,5 nV/√Hz bei 1 kHz
- Hohe Gleichtaktunterdrückung: 140 dB
- Niedriger Bias-Strom: ±5 pA
- Rail-to-Rail-Ein-/Ausgang
- Hohe Bandbreite: 10 MHz GBW
- Hohe Anstiegsrate: 20 V/µs
- Niedriger Ruhestrom: 1 mA pro Verstärker
- Großer Versorgungsspannungsbereich: ±2,25 V bis ±18 V, 4,5 V bis 36 V
- EMI-/RFI-gefilterte Eingänge
- Differential-Eingangsspannungsbereich zur Versorgungsschiene
- Hohe kapazitive Lastansteuerung: 1 nF
- Industriestandard-Gehäuse
- Einkanal in einem sehr kleinen 8-Pin-VSSOP (TLV197-Q1)
- Zweikanal in einem 8-Pin-VSSOP (TLV2197-Q1)
- Vierkanal in einem 14-Pin-TSSOP (TLV4197-Q1)
Applikationen
- Wechselrichter und Motorsteuerung
- DC/DC-Wandler
- On-Board- (OBC) und drahtloses Ladegerät
- Batteriemanagementsystem (BMS)
Blockdiagramm
Veröffentlichungsdatum: 2020-05-20
| Aktualisiert: 2025-03-10
