Texas Instruments TCA9539x-Q1 I2C/SMBus I/O-Expander
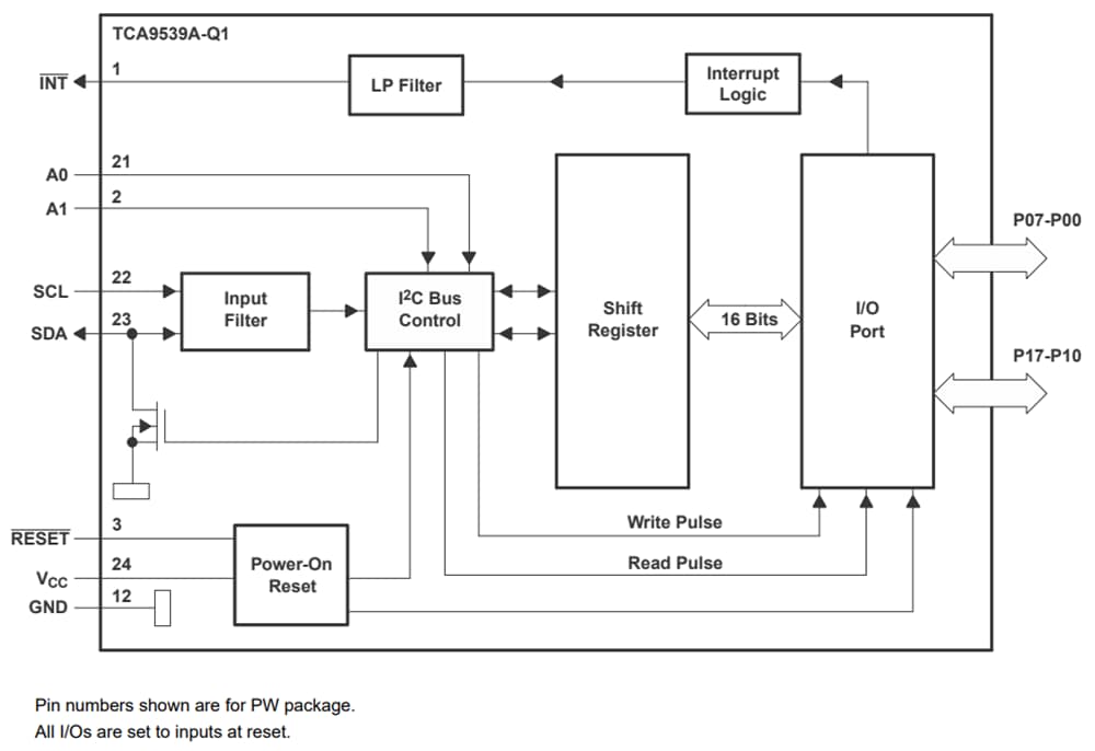
Die I2C-/SMBus-I/O-Expander TCA9539x-Q1 von Texas Instruments sind 24-polige Bauteile, die 16 Bits einer universellen parallelen Eingangs- und Ausgangserweiterung (I/O) für den zweidrahtigen bidirektionalen I2C-Bus oder das SMBus-Protokoll bereitstellen. Das Bauteil kann in einem Versorgungsspannungsbereich (VCC) von 1,65 V bis 5,5 V betrieben werden. Das Bauteil unterstützt Taktfrequenzen von 100 kHz (I2C Standard Mode) und 400 kHz (I2C Fast Mode). I/O-Expander wie dieses Bauteil bieten eine einfache Lösung, wenn zusätzliche Ein-/Ausgänge für Schalter, Sensoren, Drucktasten, LEDs, Lüfter und andere ähnliche Bauteile benötigt werden.Zur Ausstattung des Bauteils gehört ein Interrupt, der am INT-Pin generiert wird, wenn ein Anschluss seinen Status ändert. Die hardwareseitig wählbaren Adresspins A0 und A1 erlauben bis zu vier Bauteile auf demselben I2C-Bus. Das Bauteil kann in seinen Standardzustand zurückgesetzt werden, indem die Stromversorgung aus- und wieder eingeschaltet und ein Power-On-Reset durchgeführt wird. Es verfügt außerdem über einen Hardware-Reset-Pin, mit dem das Bauteil auf seinen Standardzustand zurückgesetzt werden kann.
Der I/O-Expander TCA9539x-Q1 I2C von Texas Instruments ist für Fahrzeuganwendungen zugelassen.
Merkmale
- AEC-Q100-zertifiziert für Fahrzeuganwendungen mit Temperaturklasse 1 von –40 °C bis +125 °C, TA
- Geeignet für die funktionale Sicherheit mit Dokumentation zur Unterstützung des Designs von funktionalen Sicherheitssystemen
- I2C-zu-Parallellport-Erweiterung
- Open-Drain-Interruptausgang (Active Low)
- Reset-Eingang (Active Low)
- 5V-tolerante Eingangs- und Ausgang-Ports
- Kompatibel mit den meisten Mikrocontrollern
- 400 kHz schneller I2C-Bus
- Polaritätsumkehrregister
- Interne Stromversorgung nach Reset
- Keine Spannungsspitze beim Einschalten
- Adressierung über zwei Hardware-Adresspins zur Verwendung von bis zu vier Bauteilen
- Verriegelte Ausgänge für die direkte Ansteuerung von LEDs
- Die Latch-up-Festigkeit übersteigt 100 mA gemäß JESD 78, Klasse II
- ESD-Schutz überschreitet JESD 22
- Human-Body-Modell (A114-A): 2.000 V
- 1.000 V Charged-Device Model (C101)
Applikationen
- Fahrzeuginfotainment
- Fahrerassistenzsysteme (ADAS)
- Karosserielektronikanforderungen bei Fahrzeugen
- HEV
- EV
- Antriebsstrang
- Industrieautomatisierung
- Fabrikautomatisierung
- Gebäudeautomation
- Prüf- und Messtechnik
- EPOS
- I2C-GPIO-Erweiterung
Funktionales Blockdiagramm
Veröffentlichungsdatum: 2025-09-18
| Aktualisiert: 2025-09-28
