Texas Instruments TCA9537 I²C- und SMBus-4-Bit-Remote-I/O-Expander
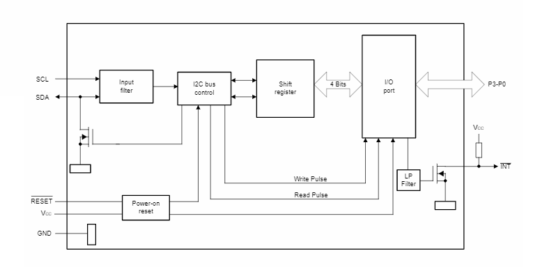
Der TCA9537 I2C- und SMBus-4-Bit-Remote-I/O-Expander von Texas Instruments bietet einen VCC-Betrieb von 1,65 V bis 5,5 V VCC und eine Universal-Remote-I/O-Erweiterung über die I²C-Schnittstelle. Der System-Controller kann die I/Os durch Schreiben in den I/O-Konfigurationsregisterbits entweder als Eingänge oder Ausgänge freischalten. Die Daten für jeden Eingang oder Ausgang werden im entsprechenden Eingangs- oder Ausgangsregister gespeichert. Die Polarität des Eingangsanschlussregisters kann mit dem Verpolungsregister invertiert werden.Der TCA9537 I/O-Expander von TI bietet einen Open-Drain-Interrupt-Ausgang (INT), der aktiviert wird, wenn ein Eingang sich vom entsprechenden Eingangsanschlussregisterzustand unterscheidet und dem Systemcontroller angezeigt wird, dass sich der Eingangszustand geändert hat. Der Systemprozessor kann den TCA9537 im Falle eines Timeouts oder eines anderen unsachgemäßen Betriebs zurücksetzen, indem ein I2C-Soft-Reset-Befehl verwendet wird, der die Register in ihren Standardzustand versetzt oder den RESET-Pin verwendet.
Merkmale
- I2C-zu-GPIO-Expander
- Betriebs-Stromversorgungsbereich von 1,65 V bis 5,5 V
- 5-V-tolerante I/O-Anschlüsse
- Software-Reset über allgemeinen I2C-Aufruf
- RESET-Eingangspin für externe Reset-Steuerung
- Dedizierter INT-Ausgang
- I2C-Schnellmodus Plus von 1 MHz
- Ein- und Ausgangskonfigurationsregister
- Polaritätsumkehrungsregister
- Internes Power-on-Reset
- Stromversorgung, bei der alle Kanäle als Eingänge konfiguriert sind
- Rauschfilter an den SCL- und SDA-Eingängen
- Latch-Ausgänge mit maximaler Hochstrom-Ansteuerungsfähigkeit für die direkte Ansteuerung von LEDs
- ESD-Schutz überschreitet JESD 22
- 2.000 V Human-Body-Modell (A114-A)
- 1.000 V Charged-Device-Modell (C101)
Applikationen
- Persönliche Elektronik
- Wearables
- Handys
- Spielkonsolen
- Server
- Router
Vereinfachter Schaltplan
Logikschaltungs-Diagramm
Veröffentlichungsdatum: 2022-04-10
| Aktualisiert: 2022-06-02
