Texas Instruments TAS6421-Q1 Automotive-Burr-Brown™-Audioverstärker
Texas Instruments TAS6421-Q1 Automotive-Burr-Brown™-Audioverstärker der Klasse D implementieren eine PWM-Schaltfrequenz von 2,1 MHz und ermöglichen eine kostenoptimierte Lösung für eine sehr kleine PCB-Größe. Der TAS6421-Q1 verfügt über einen vollständigen Betrieb bis hinunter zu 4,5 V für Start-/Stopp-Vorgänge und eine hervorragende Tonqualität mit einer Audio-Bandbreite von bis zu 40 kHz.Merkmale
- Erweiterte Lastdiagnosefunktionen
- DC-Diagnosefunktionen werden ohne Eingangstakte betrieben
- AC-Diagnosefunktionen für Hochton-Erkennung mit Impedanz und Phasenreaktion
- Erfüllt problemlos die CISPR25-L5 EMV-Spezifikation
- AEC-Q100-qualifiziert für Fahrzeuganwendungen
- Temperaturklasse: -40 °C bis +125 °C
- Audioeingänge
- I2S- oder Vier-/Achtkanal-TDM-Eingang
- Eingangs-Abtastraten: 44,1 kHz, 48 kHz, 96 kHz
- Eingangsformate: 16-Bit- bis 32-Bit-I2S und TDM
- Audioausgänge
- Einkanal-BTL (Bridge-Tied-Load)
- Ausgangsschaltfrequenz von bis zu 2,1 MHz
- 27 W, 10 % THD zu 4 Ω bei 14,4 V BTL
- 45 W, 10 % THD zu 2 Ω bei 14,4 V BTL
- Audioleistung zu 4 Ω bei 14,4 V BTL
- THD+N <0,02 % bei 1 W
- 42 µVRMS Ausgangsrauschen
- -90 dB Nebensignaleffekt
- Lastdiagnosefunktionen mit Host-unabhängigem Betrieb
- Offener Lastkreis im Aus-Zustand und Kurzschluss
- Ausgang-zu-Batterie oder Erdschluss
- Leitungsausgangserkennung von bis zu 6 kΩ
- Schutzfunktionen
- Ausgangsstrombegrenzung und Kurzschluss-Sicherung
- 40 V Lastabwurf
- Offene Erdung und Leistungstoleranz
- Übertemperaturwarnung und thermische Abschaltung
- Unterspannung und Überspannung, DC-Offset
- Allgemeiner Betrieb
- Versorgungsspannung von 4,5 V bis 26,4 V
- I2C-Steuerung mit 4 Adressoptionen
- Clip-Erkennung (verriegelnd oder nicht-verriegelnd)
Applikationen
- Automotive-Haupteinheit und externer Verstärker
- eCall (Notruf)
- Virtual-Engine-Soundsystem (VESS)
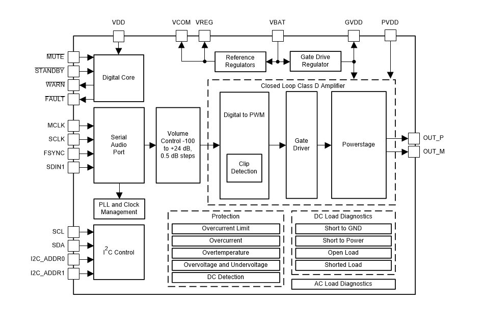
Blockdiagramm
Veröffentlichungsdatum: 2019-11-26
| Aktualisiert: 2025-03-05
