Texas Instruments TAS5830 65-W-Stereo-Klasse-D-Verstärker
Der TAS5830 65-W-Stereo-Klasse-D-Verstärker von Texas Instruments ist ein Hochleistungs-Stereo-Klasse-D-Verstärker mit geschlossenem Regelkreis, integriertem Audioprozessor und bis zu 192 kHz Audiounterstützung. Wenn das Gerät in den Hardware-Steuerungsmodus versetzt wird, unterstützt der TAS5830 die Auswahl der Schaltfrequenz, der analogen Gain, des BTL/PBTL-Modus und der Cycle-by-Cycle-Strombegrenzungsschwelle über die Pin-Konfiguration. Dieser Modus soll den Aufwand für die Endystem-Softwaretreiber-Integration eliminieren.Der TAS5830 von Texas Instruments bietet außerdem DSP-Funktionen, Rasselunterdrückung und eine Frequenzbegrenzung. Durch die Rasselunterdrückung wird die Gain des Signals bei Frequenzen verringert, die durch die Interaktion mit dem Lautsprechergehäuse Rasselgeräusche verursachen, und so die Klangqualität verbessert. Der Frequenzbegrenzungsprozess erkennt den Eingangspegel, begrenzt dynamisch die Gain des EQ und unterstützt den SPL ohne Phasenänderung.
Merkmale
- Unterstützt mehrere Ausgangskonfigurationen
- Zwei × 80 W, BTL-Modus (4 Ω, 26 V, THD+N=10 %)
- Zwei × 65 W, BTL-Modus (4 Ω, 26 V, THD+N=1 %)
- Zwei × 74 W, BTL-Modus (6 Ω, 30 V, THD+N=10 %)
- Zwei × 63 W, BTL-Modus (6 Ω, 30 V, THD+N=1 %)
- Ein × 151 W, PBTL-Modus (3 Ω, 30 V, THD+N=10 %)
- Ein × 131 W, PBTL-Modus (3 Ω, 30 V, THD+N=1 %)
- Flexible Audio-I/O
- Unterstützt Abtastrate von 32, 44,1, 48, 88,2, 96, 192 kHz
- I2S, LJ, RJ, 4 bis 16 Kanäle TDM-Eingang
- SDOUT für Audioüberwachung, Subkanal oder Echounterdrückung
- Unterstützt digitale Dreidraht-Audioschnittstelle (kein MCLK erforderlich)
- Hocheffiziente Klasse-D-Modulation mit Wirkungsgrad von > 90 %, RDSon von 70 mΩ
- Exzellente Audioleistung
- THD+N ≤ 0,03 % bei 1 W, 1 kHz, PVDD = 12 V
- SNR ≥ 110 dB (A-gewichtet), ICN ≤ 40 µVrms
- Flexible Bearbeitungsfunktionen
- Erweiterte 3-Band-DRC + zwei EQs + AGL + zwei EQs
- 15 BQs pro Kanal, Pegelmesser
- 96 kHz, 192 kHz Prozessorabtastung
- Mischpult, Lautstärke, dynamischer EQ, Ausgangskreuzschiene
- PVDD-Erkennung und Klasse-H-Algorithmus-Audiosignalverfolgung
- Rasselunterdrückung, Frequenzbegrenzung
- Flexible Stromversorgungskonfigurationen
- PVDD: 4,5 V bis 30 V
- DVDD und I/O: 1,8 V oder 3,3 V
- Ausgezeichneter integrierter Selbstschutz
- Überstromfehler (OCE)
- Cycle-by-Cycle-Strombegrenzung unterstützt vier wählbare OC-Werte
- Übertemperaturalarm (OTW)
- Übertemperaturfehler (OTE)
- Unter- und Überspannungssperre (UVLO/OVLO)
- PVDD-Spannungsabfallerkennung
- Einfache Systemintegration
- I2C-Softwaresteuerung (TAS5830 unterstützt sowohl Fast-Modus auch Fast-Plus-Modus) oder Hardware-Modus
- Weniger passive Bauelemente als bei Bauteilen mit offenem Regelkreis erforderlich
Applikationen
- Batteriebetriebener Lautsprecher
- Drahtlose BLUETOOTH® -Lautsprecher
- Soundbars und Subwoofer
- Intelligente Lautsprecher
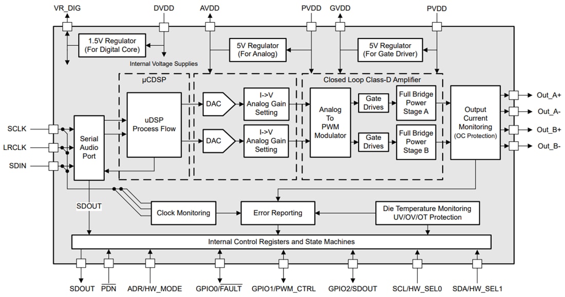
Funktionales Blockdiagramm
Veröffentlichungsdatum: 2025-08-20
| Aktualisiert: 2025-08-28
