Texas Instruments TAS5825P Audioverstärker
Der Texas Instruments TAS5825P Audioverstärker ist ein Stereo-Audioverstärker der Klasse D mit hohem Wirkungsgrad und geschlossenem Regelkreis mit fortschrittlichem Hybrid-Pro-Algorithmus. Dieser Algorithmus verbessert den Wirkungsgrad des Systems und reduziert die Wärme ohne Verzerrungen durch Clipping. Dieser Audioverstärker unterstützt einen Verzögerungspuffer von bis zu 4 ms, um das Audiosignal vorauszusehen und Audio-Verzerrungen durch Clipping zu verhindern. Der TAS5825P Verstärker erhöht die Laufzeit von 1S- und 2S-Batterien um mehr als 50 %, während ein ununterbrochenes Abspielen von Musik ermöglicht wird. Dieser Audioverstärker unterstützt mehrere Ausgangskonfigurationen und bietet einen hervorragenden integrierten Selbstschutz. Der TAS5825P Verstärker wird in einem Temperaturbereich von -25 °C bis +85 °C betrieben. Dieser Audioverstärker eignet sich hervorragend für den Einsatz in batteriebetriebenen Lautsprechern, Set-Top-Boxen, Soundbars oder Subwoofern, Bluetooth-Lautsprechern und Wirkungsgrad-empfindlichen Audiosystemen.Merkmale
- Klasse-D-Betrieb mit hohem Wirkungsgrad und Hybrid-Pro:
- Ca. 50 % längere Batterielaufzeit im Vergleich zu Lösungen mit festen Versorgungsspannungen
- Unterstützt mehrere Ausgangskonfigurationen:
- 1 × 53 W, 1.0-Modus (4 Ω, 22 V, THD+N = 1 %)
- 1 × 65 W, 1.0-Modus (4 Ω, 22 V, THD+N = 10 %)
- 2 × 30 W, 2.0-Modus (8 Ω, 24 V, THD+N = 1 %)
- 2 × 38 W, 2.0-Modus (8 Ω, 24 V, THD+N = 10 %)
- Hervorragende Audioleistung:
- THD+N = 0,03 % bei 1 W, 1 kHz, PVDD = 12 V
- SRV ≥ 110 dB (A-belastet), ICN ≤ 35 µVRMS
- Flexibler Audio-I/O:
- Unterstützt SR von 32, 44,1, 48, 88,2, 96 kHz
- Unterstützt I2S-, LJ-, RJ- und TDM-Format
- Unterstützt digitale 3-Draht-Audioschnittstelle
- Flexible Verarbeitungsfunktionen:
- PVDD-Erkennung zur Vermeidung von Verzerrungen durch Clipping während die Spannungsschiene abfällt
- Vorausschauender Verzögerungspuffer von bis zu 4 ms für die Audiosignalverfolgung des HybridPro-Algorithmus
- Optionale 8 oder 16 Hybrid-Pro-DC/DC-Regelschritte mit einer Spitzenhalteschaltung von 10 ms (max.).
- Ausgezeichneter integrierter Selbstschutz:
- Überstromfehler (OCE)
- Zyklus-für-Zyklus-Strombegrenzung
- Übertemperaturalarm (OTW)
- Übertemperaturfehler (OTE)
- Unterspannungssperre (UVLO)
- Überspannungssperre (OVLO)
- Einfache Systemintegration:
- I2C-Softwaresteuerung
- Reduzierte Lösungsgröße:
- Kleines Gehäuse von 5 mm × 5 mm
- Weniger passive Bauelemente erforderlich als bei Bauteilen der Klasse D mit offenem Regelkreis
- Keine sperrigen Elektrolytkondensatoren oder große Induktivitäten für die meisten Applikationen erforderlich
Technische Daten
- Betriebstemperaturbereich: -25 °C bis +85 °C
- Lagertemperaturbereich: -40 °C bis +125 °C
- Versorgungsspannungsbereich: -0,3 VPVDD bis 30 VPVDD
Applikationen
- Batteriebetriebener Lautsprecher
- Set-Top-Box (STB)
- Soundbar oder Subwoofer
- Kabelloser oder Bluetooth-Lautsprecher
- Auf Wärme oder Wirkungsgrad empfindliches Audiosystem
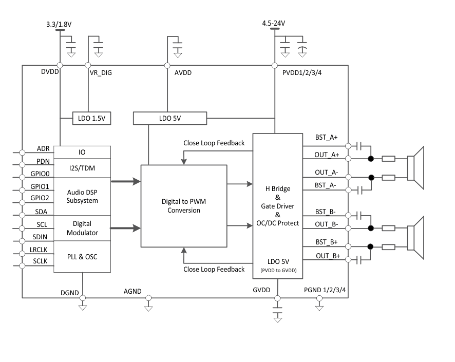
Funktionales Blockdiagramm
Veröffentlichungsdatum: 2019-12-27
| Aktualisiert: 2024-02-15
