Texas Instruments TAS5720A-Q1 Automotive-Audioverstärker der Klasse D
Texas Instruments TAS5720A-Q1 1x25W Automotive-Audioverstärker der Klasse D mit digitalem Eingang und geschlossenem Regelkreis bietet bis zu 25 W sofortige Leistung in 4 Ω bei 10 % THD+N bei 14,4 V. Der TAS5720A-Q1 ist eine hervorragende Wahl für den Einsatz bei Automotive-Notrufen (eCall), Telematik, akkustischen Fahrzeugbenachrichtungssystemen (AVAS) und EV/HEV-Sounderzeugungsapplikationen. Zu den Funktionen zählen auswählbare Hardware- oder Software-Steuerungsmodi, wählbare Verstärkungsoptionen und ein integrierter digitaler Clipper. Das Bauteil bietet einen breiten Stromversorgungsbereich von 4,5 V bis 26,4 V und ist in einem thermisch verbesserten 32-poligen TSSOP-Gehäuse verfügbar. Die Bauteile TAS5720A-Q1 sind laut AEC-Q100 für Fahrzeuganwendungen zugelassen.Merkmale
- Minimale Versorungsspannung bis herunter auf 4,5 V
- Wählbare Hard- oder Software-Steuerung
- Audioleistung (PVDD = 12 V, RSPK = 8 Ω, SPK_GAIN[1:0] Pins = 00)
- Leerlauf-Kanal-Rausch = 69 µVrms (A-Wtd)
- THD+N = 0,02 % (bei 1 W, 1 kHz)
- SNR = 10= dB A-Wtd (bezogen auf THD+N = 1 %)
- Audio-E/A-Einstellung
- Mono-I²S-Eingang
- 32, 44,1, 48, 88,2, 96 kHz Abtastraten
- Qualifiziert für Fahrzeuganwendungen
- Allgemeine Betriebsmerkmale
- Integrierter digitaler Ausgangsbegrenzer
- Programmierbare I²C-Adresse (1101100[R/W] oder 1101101[R/W])
- Closed-Loop-Verstärkerarchitektur
- Robustheits-Merkmale:
- Taktfehler, Gleichstrom, Kurzschlussschutz
- Übertemperatur- und programmierbarer Überstromschutz
Applikationen
- Fahrzeug-Telematik
- eCall (Notruf)
- Akustisches Fahrzeugwarnsystem (AVAS)
- EV/HEV-Klangerzeugung
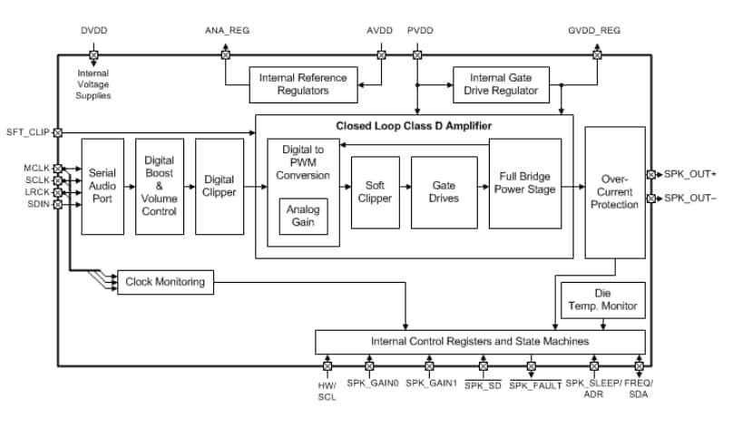
Blockdiagramm
Veröffentlichungsdatum: 2018-08-09
| Aktualisiert: 2025-03-06
