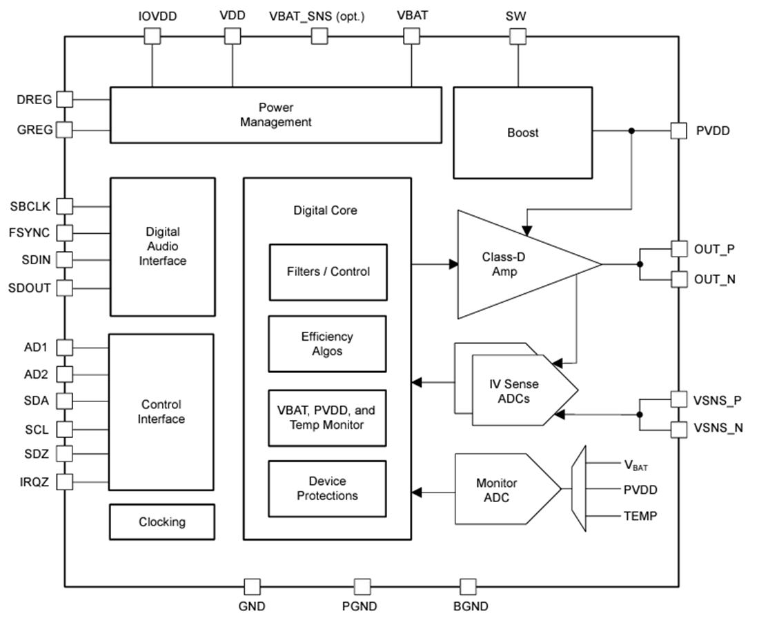
Texas Instruments TAS2574 Audioverstärker der Klasse D mit digitalem Eingang
Der Texas Instruments TAS2574 Audioverstärker der Klasse D mit digitalem Eingang verfügt über einen integrierten Boost für eine höhere Leistung in batteriebetriebenen Systemen. Das Bauteil verfügt über eine integrierte Lautsprecherspannung und Strommessung (IV-Sense) für die Echtzeitüberwachung der Lautsprecher. IV-sense-Daten können Lautsprecherschutzalgorithmen auf einem Host-DSP ausführen, um einen hohen Ausgangsschalldruck zu ermöglichen und gleichzeitig die Lautsprecher in einem sicheren Betriebsbereich zu halten.Das Bauteil ist so optimiert, dass es eine optimale Akkulaufzeit für Anwendungsfälle wie Musikwiedergabe und Sprachanrufe bietet. Hochentwickelte Funktionen zur Optimierung des Wirkungsgrads wie Klasse-H, Y-Brücke und Algorithmen ermöglichen es dem Bauteil, in allen Leistungsbereichen des Betriebs den besten Wirkungsgrad seiner Klasse zu erzielen. Der Verstärker der Klasse D kann mit dem integrierten 15-V-Boost der Klasse H eine Ausgangsleistung von 8,5 W liefern.
Ein Begrenzer für die Batteriespannungsspitzen und ein ADC zur Überwachung der Batteriespannung ermöglichen fortschrittliche Algorithmen zur Überwachung der Batterie auf dem Host-Prozessor, um die Abgabe der Spitzenausgangsleistung zu steuern und gleichzeitig Audioverzerrungen zu vermeiden, wenn die Batteriekapazität nachlässt. Bis zu vier TAS2574 von Texas Instruments können sich einen gemeinsamen Bus über I2S/TDM- + I2C-Schnittstellen teilen.
Merkmale
- Leistungsstarker Verstärker der Klasse D
- 8,5 W, 1 % THD+N
- 5-V-Boost mit einer maximalen Strombegrenzung von 5,1 A
- Erstklassiger Wirkungsgrad
- Bis zu 90 % Effizienz auf Systemebene
- 4,8 mW Leistung im Leerlauf
- Integrierte Y-Brücke
- Erweiterte 33 mV Schrittweite Klasse-H-Boost
- Leistungsstarker Audiokanal
- A-wt. von 4,2 µV Leerkanalrauschen
- Dynamikbereich: 114 dB
- THDN von -90 dB
- Niedrige EMI-Leistung
- Erweiterte integrierte Funktionen
- Integrierter Lautsprecher-IV-Sense
- Modi mit hohem Wirkungsgrad zur Signalerkennung
- Hochpräziser Spannungsmonitor und Temperatursensor
- Programmierbare Eingangsstrombegrenzung für Batterien
- Benutzerfreundliche Funktionen
- 1-Zell, 2-Zell, und 3-Zell-Unterstützung für Li-Ionen-Akkus
- Taktgesteuertes Hoch- und Herunterfahren
- Automatische Taktratenerkennung von 16 kHz bis 192 kHz
- Integrierter Ultraschall- und Pulskompressionsgenerator
- Unterstützt eine externe PVDD-Versorgung von 14 V
- MCLK-freier Betrieb
- Übertemperatur- und Überstromschutz
- Programmierbarer Antriebsstärken-IO-Puffer
- Stromversorgungen und Benutzeroberfläche
- Batteriespannung: 1,8 V bis 5,5 V
- VDD: 1,65 V bis 1,95 V
- IOVDD: 1,2 V oder 1,8 V
- I2S/TDM: Acht Kanäle
- I2C: Vier wählbare Adressen
- WCSP-Paket
Applikationen
- Handys, Tablets und Wearables
- Smart-Lautsprecher mit Sprachunterstützung
- BLUETOOTH® und drahtlose Lautsprecher
Funktionales Blockdiagramm
