Texas Instruments TAS2572 Class-D-Audioverstärker mit digitalem Eingang
Der Class-D-Audioverstärker mit digitalem Eingang von Texas Instruments TAS2572 verfügt über einen integrierten Class-H-Boost für eine höhere Leistungsabgabe in batteriebetriebenen Systemen. Das Gerät verfügt über eine integrierte Lautsprecherspannungs- und Strommessung (IV-Sense) zur Echtzeitüberwachung der Lautsprecher. Die IV-Sense-Daten können verwendet werden, um Algorithmen zum Schutz der Lautsprecher auf einem Host-DSP laufen zu lassen, um einen hohen Ausgangsschalldruck zu ermöglichen und gleichzeitig die Lautsprecher in einem sicheren Betriebsbereich zu halten.Das Texas Instruments TAS2572 ist so optimiert, dass es eine optimale Akkulaufzeit für den realen Einsatz bei Musikwiedergabe und Telefongesprächen bietet. Hochentwickelte Funktionen zur Optimierung des Wirkungsgrads wie Class-H, Y-Brücke und Algorithmen ermöglichen es dem Baustein, in allen Leistungsbereichen des Betriebs einen erstklassigen Wirkungsgrad zu erzielen. Der Class-D-Verstärker kann mit dem integrierten Class-H 13 V Boost eine Ausgangsleistung von 6,6 W liefern.
Ein Begrenzer für die Batteriespannung und ein ADC zur Überwachung der Batteriespannung ermöglichen moderne Algorithmen zur Batterieüberwachung auf dem Host-Prozessor. Diese Funktion steuert die Abgabe der Spitzenleistung und vermeidet gleichzeitig Audioverzerrungen, wenn die Batteriekapazität erschöpft ist. Bis zu vier Bauteile können sich einen gemeinsamen Bus über I2S-/TDM + I2C-Schnittstellen teilen.
Merkmale
- Leistungsstarker Class-D Verstärker
- 6,6 W 1 % THD+N
- 13 V Aufladung mit 4,0 A maximaler Stromgrenze
- Erstklassiger Wirkungsgrad
- Bis zu 90 % Effizienz auf Systemebene
- 4,8 mW Leistung im Leerlauf
- Integrierte Y-Brücke
- Erweiterte 33 mV Schrittweite Klasse-H-Boost
- Leistungsstarker Audiokanal
- 7 µV A-wt. Leerkanalrauschen
- 109 dB Dynamikbereich
- -90 dB THDN
- Niedrige EMI-Leistung
- Erweiterte integrierte Funktionen
- Integrierter Lautsprecher IV Sense
- Hocheffiziente Modi zur Signalerkennung
- Hochpräziser Spannungsmonitor und Temperatursensor
- Programmierbare Eingangsstrombegrenzung für Batterien
- Benutzerfreundliche Funktionen
- 1-Zell, 2-Zell, und 3-Zell-Unterstützung für Li-Ionen-Akkus
- Taktgesteuertes Hoch- und Herunterfahren
- 16 kHz zu 192 kHz automatische Taktratenerkennung
- Integrierter Ultraschalltongenerator
- Externe 14 V PVDD-Versorgung unterstützt
- MCLK-freier Betrieb
- Übertemperatur- und Überstromschutz
- Programmierbare Antriebsstärke IO-Buffer
- Netzteile und Benutzeroberfläche
- VBAT: 2,5 V bis 5,5 V
- VDD: 1,65 V bis 1,95 V
- IOVDD: 1,2 V oder 1,8 V
- I2S/TDM: 8 Kanäle
- I2C: 4 auswählbare Adressen
- WCSP-Paket
Applikationen
- Handys, Tablets und Wearables
- Smart-Lautsprecher mit Sprachunterstützung
- BLUETOOTH® und kabellose Lautsprecher
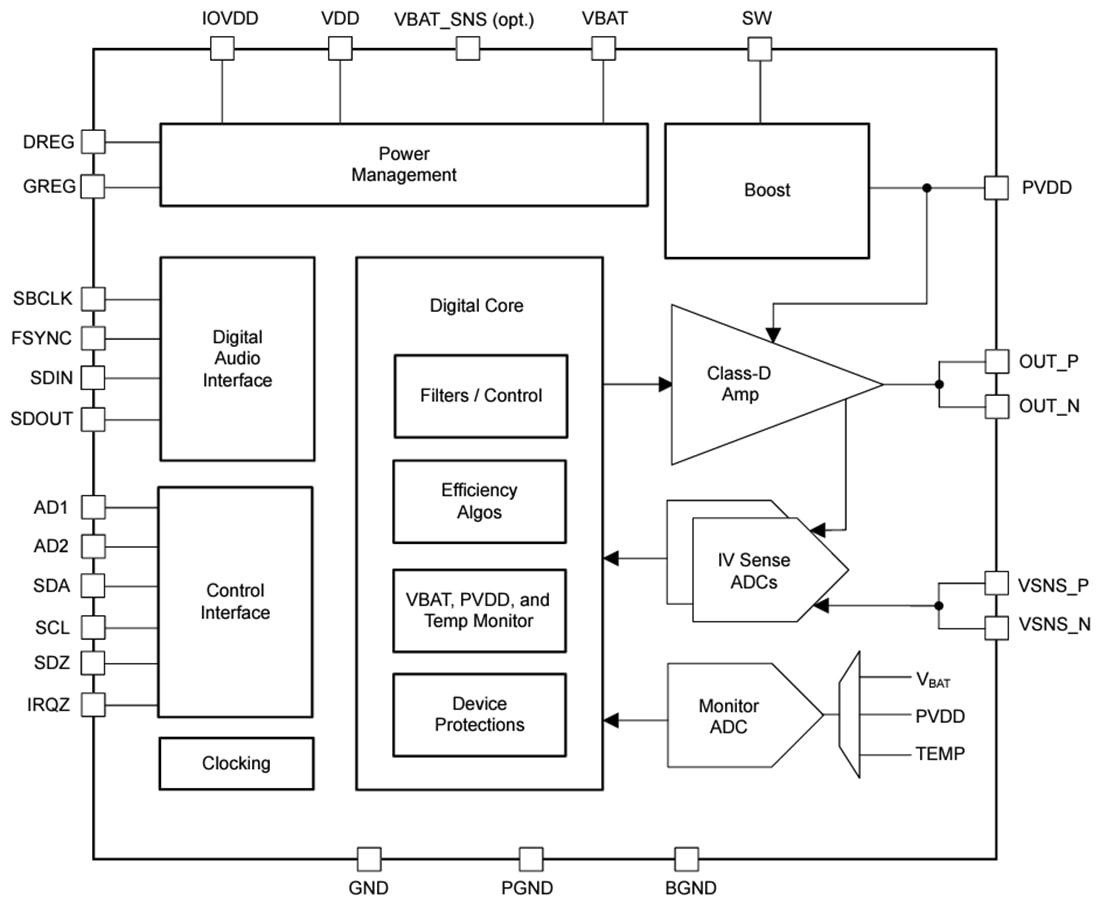
Funktionales Blockdiagramm
