Texas Instruments PCM6xx0-Q1 Audio-Analog-Digital-Wandler
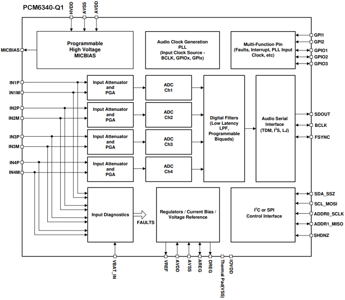
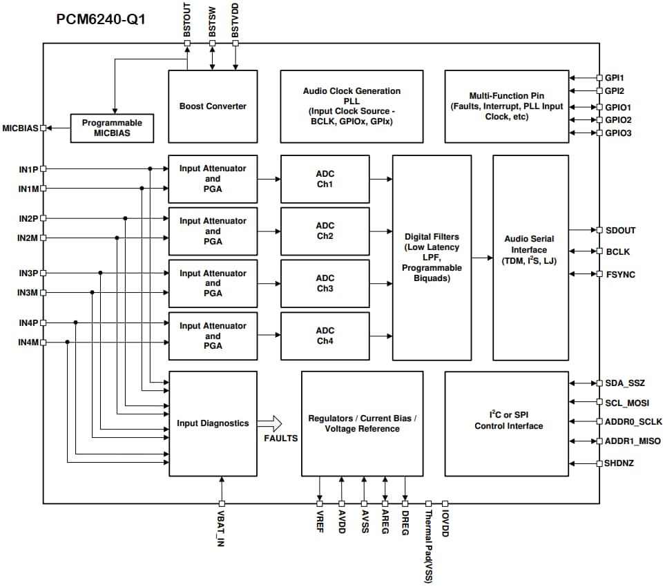
Texas Instruments PCM6xx0-Q1 Audio-Analog-Digital-Wandler (ADCs) sind Vierkanal-(PCM6240-Q1, PCM6340-Q1)- und Sechskanal-(PCM6260-Q1, PCM6360-Q1)-Hochleistungs-Audio-Analog-Digital-Wandler (ADCs). Diese Bauteile unterstützen analoge Eingangssignale bis zu 10 VRMS. Der PCM6xx0-Q1 unterstützt Leitungs- und Mikrofoneingänge und ermöglicht sowohl einendige als auch differentielle Eingangskonfigurationen. Diese Bauteile bieten eine integrierte Hochspannung, eine programmierbare Mikrofonvorspannung und eine Eingangsdiagnoseschaltung. Diese Schaltung verbindet Mikrofon-basierte Fahrzeugsysteme mit vollständiger Fehlerdiagnosefunktion für direkt gekoppelte Eingänge.Der PCM62x0-Q1 verfügt über einen effizienten Aufwärtswandler zur Erzeugung einer Hochspannungsvorspannung für das Mikrofon unter Verwendung einer externen Niederspannungsversorgung von 3,3 V. Der PCM63x0-Q1 verwendet eine externe Hochspannungsversorgung (HVDD), eine jederzeit verfügbare Versorgung im System, um die programmierbare Hochspannungsvorspannung für das Mikrofon zu erzeugen. Der PCM6xx0-Q1 integriert die programmierbare Kanalverstärkung, die digitale Lautstärkeregelung, eine Phasenregelschleife (Phase-Locked Loop, PLL) mit geringem Jitter und einen programmierbaren Hochpassfilter (HPF). Diese umfassen auch Biquad-Filter sowie Filtermodi mit niedriger Latenz und ermöglichen Abtastraten bis zu 768 kHz. Der PCM6xx0-Q1 von Texas Instruments unterstützt die Audioformate TDM (Time-Division Multiplexing), I2S oder links ausgerichtete (LJ) Audioformate und kann über die I2C- oder SPI-Schnittstelle gesteuert werden. Diese integrierten Hochleistungsfunktionen und ein 3,3-V-Netzteil machen die PCM6xx0-Q1-Produktfamilie zu einer ausgezeichneten Wahl für platzbeschränkte Fahrzeugsysteme.
Merkmale
- Gemäß AEC-Q101 für Fahrzeuganwendungen zugelassen
- -40 °C ≤TA ≤+125 °C Temperaturklasse 1
- ADC-Leistung
- Differential-Eingangs-Dynamikbereich für Leitung: 110 dB
- Differential-Eingangs-Dynamikbereich für Mikrofon: 110 dB
- -95dB THD+N
- Der Kanalsummierungsmodus unterstützt ein hohes SRV
- ADC-Eingangsspannung
- Differential, 10 VRMS Vollauschlageingänge
- Einendig, 5 VRMS Vollauschlageingänge
- ADC-Abtastrate (fS) = 8 kHz bis 768 kHz
- Programmierbare Kanaleinstellungen
- Kanalverstärkung: 0 dB bis 42 dB (1-dB-Schritte)
- Digitale Lautstärkeregelung: -100 dB bis 27 dB
- Gain-Kalibrierung mit einer Auflösung von 0,1 dB
- Phasenkalibrierung mit einer Auflösung von 163 ns
- Programmierbare Mikrofonvorspannung (5 V bis 9 V)
- Mit einem integrierten effizienten Aufwärtswandler (PCM62x0-Q1)
- Mit einer externen Hochspannungsversorgung HVDD (PCM63x0-Q1)
- Programmierbare Fehlerdiagnose am Mikrofoneingang
- Offene oder verkürzte Eingänge
- Kurzschluss gegen Masse, MICBIAS oder VBAT
- Mikrofonvorspannung-Überstromschutz
- Auswahl der Filter für die Signalverarbeitung mit niedriger Latenz
- Programmierbarer HPF und digitale Bi-Quad-Filter
- I2C- oder SPI-Steuerung
- Serielle Audio-Datenschnittstelle
- Format: TDM, I2S, oder linksbündig (LJ)
- Wortlänge von 16-Bit, 20-Bit, 24-Bit oder 32-Bit
- Master- oder Slave-Schnittstelle
- Einzelversorgung, 3,3-V-Betrieb
- I/O-Versorgungsbetrieb: 3,3 V oder 1,8 V
- <20 mW/Kanal bei Stromverbrauch von 48 kHz
Applikationen
- Aktive Automotive-Rauschunterdrückung
- Automotive-Haupteinheiten
- Digitale Cockpit-Verarbeitungseinheiten
- Externe Automotive-Verstärker
