Texas Instruments PCM6140-Q1 Audio-ADCs
Texas Instruments PCM6140-Q1 Audio-ADCs sind mehrkanalige leistungsstarke ADCs mit Burr-Brown™ -Technologie. Diese ADCs bieten eine Abtastrate von 8 kHz bis 768 kHz und ein Signal-Rausch-Verhältnis (SRV) von 122 dB Das Bauteil unterstützt Leitungs- und Mikrofoneingänge und ermöglicht Konfigurationen mit einendigen und differenziellen Eingängen. Diese ADCs verfügen über eine programmierbare Kanal-Gain, digitale Lautstärkeregelung, Mikrofonvorspannung, Phasenregelkreis (PLL), programmierbare Hochpassfilter, Biquad-Filter und Filtermodi mit niedriger Latenz. Die PCM6140-Q1 Bauteile sind für Fahrzeuganwendungen AEC-qualifiziert.Die PCM6140-Q1 Audio-ADCs sind mit leistungsstarken Funktionen ausgestattet und können von einer Versorgung von 3,3 V oder 1,8 V betrieben werden. Dadurch eignet sich das Bauteil hervorragend für platzbeschränkte Audiosysteme in Fernfeld-Mikrofonaufnahme-Applikationen. Diese Audio-ADCs arbeiten im Temperaturbereich von -40 °C bis +125 °C und werden in einem 24-Pin-VQFN-Gehäuse geliefert. Die PCM6140-Q1 Audio-ADC-Mikrofonarray-Systeme, sprachaktivierte digitale Assistenten, Telekonferenzsysteme sowie Sicherheits- und Überwachungssysteme.
Merkmale
- Leistungsstarke Mehrkanal-ADCs:
- Vierkanal-Analog-Mikrofon oder Leitungseingang
- Digitale Achtkanal-PDM-Mikrofone oder eine Kombination aus analogen und digitalen Mikrofonen
- ADC-Leitungs- und Mikrofon-Differentialeingangs-Leistung:
- Dynamikbereich (DR):
- Dynamikbereich-Enhancer (DRE) aktiviert: 123 dB
- DRE deaktiviert: 113 dB
- THD+N: -98 dB
- Dynamikbereich (DR):
- ADC-Kanal-Summiermodus, DR-Leistung:
- DRE deaktiviert, Zweikanal-Summierung: 116 dB
- DRE deaktiviert, Vierkanal-Summierung: 119 dB
- ADC-Eingangsspannung:
- Vollausschlag-Differentialeingänge von 2VRMS
- Unsymmetrische Vollausschlageingänge: 1VRMS
- ADC-Abtastrate (fS) = 8 kHz bis 768 kHz
- Programmierbare Kanaleinstellungen:
- Kanal-Gain: 0 dB bis 42 dB, 1-dB-Schritte
- Digitale Lautstärkeregelung: -100 dB bis 27 dB
- Gain-Kalibrierung mit einer Auflösung von 0,1 dB
- Phasenkalibrierung mit einer Auflösung von 163 ns
- Programmierbare Mikrofon-Vorspannung oder Versorgungsspannungserzeugung
- Auswahl der Filter für die Signalverarbeitung mit niedriger Latenz
- Programmierbare Hochpassfilter (HPF) und digitale Biquad-Filter
- Automatischer Gain-Controller (AGC)
- I2C-oder SPI-Steuerung
- Integrierte Hochleistungs-Audio-PLL
- Automatische Taktteiler-Einstellungskonfigurationen
- Serielle Audio-Datenschnittstelle:
- Format: TDM,I2S, oder linksbündig (LJ)
- Wortlänge: 16 Bits, 20 Bits, 24 Bits oder 32 Bits
- Controller oder Zielschnittstelle
- Einzelversorgungsbetrieb von 3,3 V oder 1,8 V
- I/O-Versorgungsbetrieb: 3,3 V oder 1,8 V
- Stromverbrauch für eineAVDD-Versorgung von 1,8 V:
- 8,5 mW/Kanal bei einer Abtastrate von 16 kHz
- 9,2 mw/Kanal bei einer Abtastrate von 48 kHz
Applikationen
- Mikrofonarray-Systeme
- Sprachaktivierte digitale Assistenten
- Telekonferenzsysteme
- Sicherheits- und Überwachungssysteme
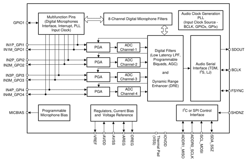
Funktionales Blockdiagramm
Weitere Ressourcen
Veröffentlichungsdatum: 2024-04-24
| Aktualisiert: 2025-05-08
