Texas Instruments OPAx196 Stromsparende Operationsverstärker

Die universellen stromsparenden Operationsverstärker OPAx196 von Texas Instruments sind eine neue Generation von 36V-Rail-to-Rail-e-trim™-Operationsverstärkern. Diese Bauelemente bieten eine sehr niedrige Offsetspannung (±25 µV, typisch), einen Drift (±0,5 µV/°C, typisch) und einen niedrigen Ruhestrom (±5 pA, typisch). Diese Eigenschaften werden mit einem sehr niedrigen Ruhestrom (140 μA/Kanal, typisch) über den gesamten Ausgangsbereich kombiniert. Die einzigartigen Merkmale umfassen einen differentiellen Eingangsspannungsbereich zur Versorgungsschiene, eine hohe Ausgangsspannung (±65 mA) und einen hohen kapazitiven Lastantrieb bis zu 1 nF. Dadurch ist der OPAx196 ein robuster Hochleistungs-Operationsverstärker für Industrieapplikationen mit hoher Spannung.

Merkmale

  • Niedrige Offsetspannung: max. ±100 µV
  • Niedriger Offsetspannungsdrift: ±0,5 µV/°C (typisch)
  • Niedriger Ruhestrom: +5 pA typisch
  • Hohe Gleichtaktunterdrückung: 140 dB
  • Rauscharm: 15 nV/√Hz bei 1 kHz
  • Rail-to-Rail-Eingang und -Ausgang
  • Differenzieller Eingangsspannungsbereich in Bezug auf Versorgungsschiene
  • Hohe Bandbreite: 2,5 MHz GBW
  • Niedriger Ruhestrom: 140 µA pro Verstärker (typisch)
  • Breiter Spannungsversorgungsbereich: ±2,25 V bis ±18 V, 4,5 V bis 36 V
  • EMI/RFI-gefilterte Eingänge
  • Hohe kapazitive Lastansteuerung: 1 nF
  • Gehäuse nach Industriestandard
    • Einzeln in SOIC-8, SOT-5 und VSSOP-8
    • Dual in SOIC-8 und VSSOP-8
    • Quad in SOIC-14, TSSOP-14 und QFN-16

Applikationen

  • Multiplexer-Datenerfassungssysteme
  • Prüf- und Messgeräte
  • Hochauflösende ADC-Treiberverstärker
  • SAR ADC-Referenzpuffer
  • Analoge Eingangs-/Ausgangsmodule
  • High-Side- und Low-Side-Strommessung
  • Präzisionskomparator
  • Medizinische Messgeräte

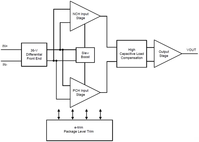
Funktionales Blockdiagramm

Blockdiagramm - Texas Instruments OPAx196 Stromsparende Operationsverstärker
Veröffentlichungsdatum: 2017-10-06 | Aktualisiert: 2022-06-27