Texas Instruments MSP430FR263x / MSP430FR253x Mikrocontroller mit sehr geringem Stromverbrauch

Die Mikrocontroller MSP430FR263x / MSP430FR253x von Texas Instruments mit sehr geringem Stromverbrauch sind FRAM-basierte MSP-Mikrocontroller mit sehr geringem Stromverbrauch, die über die CapTIvate-Touch-Technologie verfügen. Sie sind für den Einsatz in Tasten, Schiebereglern, Einstellrädern (BSW) und Näherungssensoren entwickelt. Die CapTIvate-Technologie bietet eine Capacitive-Touch-Lösung mit einem äußerst geringen Stromverbrauch und der branchenweit höchsten Auflösung, Zuverlässigkeit und Störimmunität. Die CapTIvate-Technologie verleiht ein hohes Maß an Flexibilität, indem sie gleichzeitig Elektroden mit Eigenkapazität und gegenseitiger Kapazität auf dem gleichen Design unterstützt. Mit dem CapTIvate Design Center können Entwickler mit einer benutzerfreundlichen GUI schnell BSW-Applikationen zusammenstellen.

Merkmale

  • Embedded Mikrocontroller:
    • 16-Bit RISC-Architektur
    • Takt unterstützt Frequenzen bis 16 MHz
    • Breiter Spannungsversorgungsbereich (1,8 V bis 3,6 V) (die Mindestversorgungsspannung ist durch SVS-Stufen eingeschränkt.)
  • Optimierte, extrem stromsparende Energiesparmodi:
    • Aktivmodus: 126 µA/MHz (typisch)
    • Standby
      • 1,7 µA/Button durchschnittlich (typisch) (16 Eigenkapazitätstasten, 8 Hz Scannen)
      • 1,7 µA/Button durchschnittlich (typ.) (64 Tasten mit gegenseitiger Kapazität, 8 Hz Scannen)
    • LPM3.5 Zähler mit Echtzeit-Taktgeber (RTC) mit 32768Hz-Quarz: 770 nA (typ.)
    • Abschaltung (LPM4.5): 15nA (typ.)
  • Stromsparender ferroelektrischer RAM (FRAM):
    • Bis zu 15,5 KB nicht flüchtiger Speicher
    • Integrierter Fehlerkorrekturcode (ECC)
    • Konfigurierbarer Schreibschutz
    • Unified Memory von Programm, Konstanten und Speicher
    • 1015 Lebensdauer des Schreibzyklus
    • Strahlungsbeständig und nichtmagnetisch
    • Hohes FRAM-zu-SRAM-Verhältnis, bis 4:1
  • Intelligente digitale Peripherie:
    • Vier 16-Bit Timer
      • Zwei Timer mit je drei Capture-/Compare-Registern (Timer_A3)
      • Zwei Timer mit je zwei Capture-/Compare-Registern (Timer_A2)
    • Ein 16-Bit-Timer mit der CapTIvate-Technologie verbunden
    • Eine 16-Bit Nur-Zähler-RTC
    • 16-Bit zyklische Redundanzprüfung (CRC)
  • Erweiterte serielle Kommunikation:
    • Zwei erweiterte serielle Universal-Kommunikations-Schnittstellen (eUSCI_A) mit Unterstützung für UART, IrDA und SPI
    • Eine eUSCI (eUSCI_B) unterstützt SPI und I2C
  • Leistungsstarke Analoge:
    • 10-Bit-8-Kanal-Analog-Digital-Wandler (ADC)
      • Interne 1,5V Referenz
      • Abtast- und Halteschaltung 200 ksps
    • CapTIvate Technologie - kapazitiver Touch
      • Leistungsfähigkeit:
        • Schnelles Scannen von Elektroden mit vier simultanen Scans
        • Unterstützung für Schieberegler mit hoher Auflösung mit >1024 Punkten
        • 30cm Näherungsmessung
    • Zuverlässigkeit:
      • Erhöhte Immunität gegen Netz-, HF- und andere Umgebungsgeräusche
      • Integrierte Algorithmen für Streuspektrumtaktung, Automatische Feineinstellung, Geräuschfilterung und Entprellung
      • Ermöglicht zuverlässige Berührungslösungen mit 10-V-RMS-Gleichtaktstörung, schnellen 4 kV-Transienten und 15 kV elektrostatischer Entladung, was die Konformität mit IEC-61000-4-6, IEC-61000-4-4 und IEC-61000-4-2 ermöglicht
      • Reduzierte HF-Störungen tragen zur Vereinfachung von elektrischen Konstruktionen
      • Unterstützung für Metall-Touch- und wasserabweisende Designs
    • Flexibilität:
      • Bis zu 16 Eigenkapazitäts- und 64 gegenseitige Kapazitätselektroden
      • Beliebiges Kombinieren von Eigenkapazitäts- und gegenseitigen Kapazitätselektroden im gleichen Design
      • Unterstützt Multitouch-Funktionalität
      • Große Auswahl von Kapazitätserkennung, große Auswahl von Elektroden von 0 bis 300 pF
    • Niedrige Leistung:
      • < 0,9 µA/Taste im Wake-on-Touch-Modus, wo die Kapazitätsmessung und Berührungserkennung durch die Hardware-Zustandsmaschine durchgeführt werden, während sich die CPU im Schlafmodus befindet.
      • Die Wake-on-Touch-Zustandsmaschine ermöglicht das Scannen von Elektroden während sich die CPU im Schlafmodus befindet
      • Hardware-Beschleunigung für Umgebungskompensierung, Filterung und Schwellwerterkennung
        • Bedienkomfort:
          • CapTIvate Design Center, die PC-GUI ermöglicht Ingenieuren das Entwickeln und Feineinstellen von kapazitiven Tasten in Echtzeit, ohne dass Code geschrieben werden muss
          • Die CapTIvate Software-Bibliothek auf ROM bietet ausreichend FRAM für die Kundenapplikation
  • Taktsystem (CS):
    • 32kHz On-Chip-RC-Oszillator (REFO)
    • 16 MHz digital kontrollierter On-Chip-Oszillator (DCO) mit Frequenzregelschlaufe (FLL)
    • ±1 % Genauigkeit mit On-Chip-Referenz bei Raumtemperatur
    • 10 kHz On-Chip-Oszillator mit sehr niedriger Frequenz (VLO)
    • On-Chip-Modulationsoszillator mit hoher Frequenz (MODOSC)
    • Externer 32 kHz Quarz-Oszillator (LFXT)
    • Programmierbarer MCLK-Vorteiler von 1 bis 128
  • SMCLK basierend auf MCLK mit programmierbarer Vorteiler von 1, 2, 4 oder 8
  • Universal-Eingang/-Ausgang und Pin-Funktionalität:
    • Insgesamt 19 I/Os im TSSOP-32-Gehäuse
    • 16 Unterbrechungskontakte (P1 und P2) ermöglicht das Aktivieren des Mikrocontrollers aus Niedrigenergiemodi
  • Development Tools und Software
    • Benutzerfreundliches Ökosystem
    • CapTIvate Design Center - Code-Generierung, einstellbare GUI, Echtzeit-Feineinstellung
  • Kostenlose professionelle Entwicklungsumgebungen
  • 12KB ROM-Bibliothek enthält CapTIvate-Touch- und Treiber-Bibliotheken
  • Mitglieder der Produktfamilie:
    • MSP430FR2633: 15KB programmierbarer FRAM + 512B Informations-FRAM + 4KB RAM bis 16 Eigenkapazitäts- und 64 gegenseitige Kapazitätssensoren
    • MSP430FR2533: 15KB programmierbarer FRAM + 512B Informations-FRAM + 2KB RAM bis 16 Eigenkapazitäts- oder 16 gegenseitige Kapazitätssensoren
    • MSP430FR2632: 8KB programmierbarer FRAM + 512B Informations-FRAM + 2KB RAM bis 8 Eigenkapazitäts- oder 16 gegenseitige Kapazitätssensoren
    • MSP430FR2532: 8KB programmierbarer FRAM + 512B Informations-FRAM + 1KB RAM bis 8 Eigenkapazitäts- oder 8 gegenseitige Kapazitätssensoren

Applikationen

  • Thermostate
  • Elektronische Zugangskontrolle
  • Beleuchtungssteuerung
  • Elektronische Türschlösser
  • Haushaltsgeräte
  • Kleine Haushaltsgeräte
  • Persönliche Elektronik

Videos

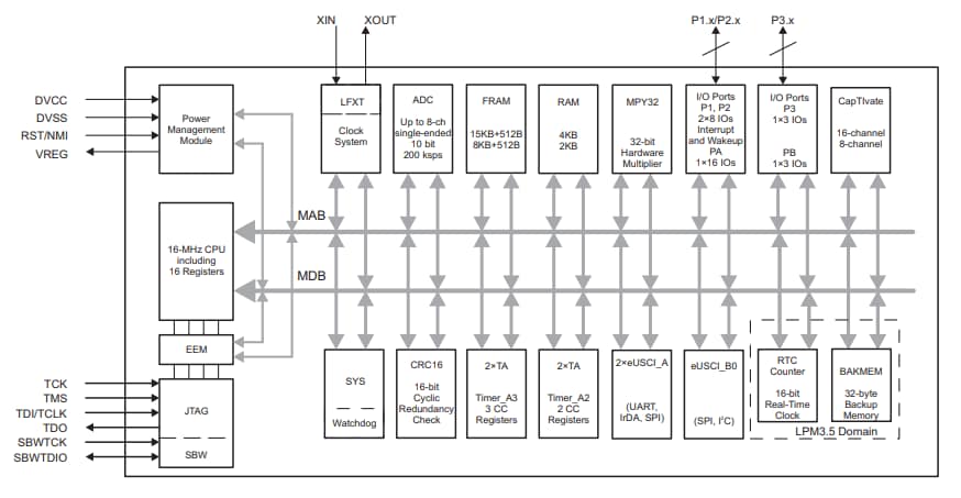
Funktionales Blockdiagramm

Blockdiagramm - Texas Instruments MSP430FR263x / MSP430FR253x Mikrocontroller mit sehr geringem Stromverbrauch
Veröffentlichungsdatum: 2016-02-17 | Aktualisiert: 2025-04-16