Texas Instruments MSP430FR215x / MSP430FR235x Mikrocontroller
Texas Instruments MSP430FR215x / MSP430FR235x Mikrocontroller (MCUs) sind Low-Cost-Bauteile mit extrem niedrigem Stromverbrauch für Abtast- und Messapplikationen. Die MSP430FR235x MCUs integrieren vier konfigurierbare Signalkettenmodule, sogenannte Smart-Analog-Combos, die jeweils als 12-Bit-DAC oder als konfigurierbarer Operationsverstärker mit programmierbarer Verstärkung verwendet werden können. Diese können verwendet werden, um die spezifischen Anforderungen eines Systems zu erfüllen und gleichzeitig die Stückliste und PCB-Größe zu reduzieren. Das Gerät umfasst auch einen 12-Bit-SAR-ADC und zwei Komparatoren.Die MSP430FR215x und MSP430FR235x MCUs unterstützen einen erweiterten Temperaturbereich von –40° C bis 105° C. Dies ermöglicht den Einsatz in industriellen Applikationen bei höheren Temperaturen, die von der FRAM-Datenprotokollierung profitieren können. Der erweiterte Temperaturbereich ermöglicht Entwicklern das Erfüllen der Anforderungen von Applikationen wie Rauchmeldern, Sensor-Transmittern und Leistungsschaltern.
Merkmale
- Integrierter Mikrocontroller
- 16-Bit RISC-Architektur mit bis zu 24 MHz
- Erweiterte Temperatur -40° C bis 105° C
- Breiter Spannungsversorgungsbereich von 3,6 V bis hinunter auf 1,8 V
- Optimierte Niedrigstrom-Modi (bei 3 V)
- Aktivmodus: 142 µA/MHz
- Standby
- LPM3 mit 32768Hz-Quarz: 1,43 µA (SVS aktiviert)
- LPM3,5 mit 32768Hz-Quarz: 620 nA (SVS deaktiviert)
- Abschaltung (LPM4.5): 42 nA (SVS deaktiviert)
- Stromsparender ferroelektrischer RAM (FRAM)
- Bis zu 32 KB nicht-flüchtiger Speicher
- Integrierter Fehlerkorrekturcode (ECC)
- Konfigurierbarer Schreibschutz
- Unified Memory von Programm, Konstanten und Speicher
- 1015 Lebensdauer des Schreibzyklus
- Strahlungsbeständig und nichtmagnetisch
- Bedienkomfort
- 20 KB ROM-Bibliothek enthält Treiber- und FFT-Bibliotheken
- Hochleistungs-Analog
- Ein 12-Kanal-Analog-Digital-Wandler (ADC)
- Zwei verbesserte Komparatoren (eCOMP)
- Vier Smart-Analog-Kombinationen - (SAC-L3) (nur MSP430FR235x-Geräte)
- Intelligente digitale Peripheriegeräte
- Drei 16-Bit Timer mit je drei Capture/Compare-Registern (Timer_B3)
- Ein 16-Bit-Timer mit jeweils sieben Erfassungs-/Vergleichsregistern (Timer_B7)
- Ein 16-Bit-Echtzeit-Uhr-Zähler (RTC)
- Zyklische 16-Bit-Redundanzprüfung (CRC)
- Interrupt-Compare-Controller (ICC) ermöglicht integrierte Hardware-Unterbrechungen
- 32-Bit-Hardware-Multiplizierer (MPY32)
- Manchester-Codec (MFM)
- Verbesserte serielle Kommunikationen
- Zwei verbesserte USCI A- (eUSCI_A) Module unterstützen UART, IrDA und SPI
- Zwei verbesserte USCI_B- (eUSCI_B) Module unterstützen SPI und I2C
- Taktsystem (CS)
- Universal-Eingang/-Ausgang und Pin-Funktionalität
- Gehäuseoptionen
- 48-polig: LQFP (PT)
- 40-polig: VQFN (RHA)
- 38-polig: TSSOP (DBT)
Applikationen
- Rauch- und Wärmemelder
- Sensor-Transmitter
- Leistungsschutzschalter
- Sensor-Signalkonditionierung
- Verdrahtete industrielle Kommunikation
- Optische Module
- Batteriemanagement
- Mautvignetten
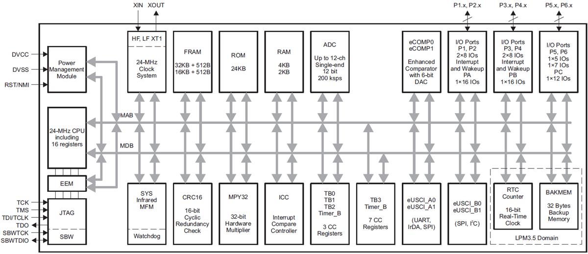
MSP430FR215x Blockdiagramm
MSP430FR235x Blockdiagramm
Veröffentlichungsdatum: 2018-08-01
| Aktualisiert: 2025-04-16
