Texas Instruments MSP430F663x Mischsignal-Mikrocontroller
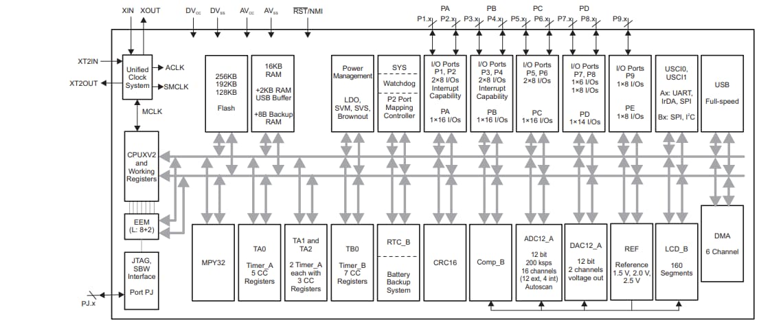
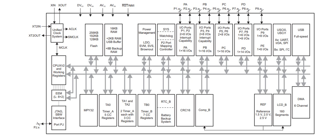
Texas Instruments MSP430F663x Mischsignal-Mikrocontroller bestehen aus mehreren Bauteilen mit verschiedenen Peripheriesätzen, die für zahlreiche Applikationen ausgelegt sind. Fünf stromsparende Modi in Kombination mit der 16-Bit-RISC-Architektur sind für eine längere Batterielaufzeit in tragbaren Messapplikationen optimiert. Der MSP430F663x verfügt über eine leistungsstarke 16-Bit-RISC-CPU, 16-Bit-Register und Konstantgeneratoren, die zu einem maximalen Code-Wirkungsgrad beitragen. Der digital geregelte Oszillator (DCO) ermöglicht dem Bauteil ein Umschalten aus den Stromsparmodi in den aktiven Modus in 3µs (typisch).Die MSP430F663x Mischsignal-Mikrocontroller von TI bieten einen 12-Bit-Hochleistungs-ADC, einen Komparator, zwei USCIs, einen USB 2.0, einen Hardware-Multiplikator, einen DMA, vier 16-Bit-Timer, ein RTC-Modul mit Alarmfunktionen und bis zu 74 I/O-Pins.
Merkmale
- Niedriger Versorgungsspannungsbereich von 1,8 V bis 3,6 V
- Extrem geringer Stromverbrauch
- Aktivmodus (AM):
- Alle Systemtaktgeber aktiv: 270 µA/MHz bei 8 MHz, 3,0 V, Flash-Programmausführung (typisch)
- Standby-Modus (LPM3):
- Watchdog mit Quarz und Versorgungsüberwachung bei Betrieb, vollständige RAM-Erhaltung, schnelle Aktivierung von 1,8 µA bei 2,2 V, 2,1 µA bei 3,0 V (typisch)
- Abschalt-Echtzeituhr(RTC)-Modus (LPM3.5) von 1,1 mA bei einem Abschaltmodus von 3,0 V (typisch), aktive RTC mit Quarz
- Abschaltmodus (LPM4.5): 0,3 µA bei 3,0 V (typisch)
- Aktivmodus (AM):
- Aktivierung aus dem Standby-Modus in 3 µs (typisch)
- 16-Bit-RISC-Architektur, erweiterter Speicher, Systemtakt von bis zu 20 MHz
- Flexibles Leistungsmanagementsystem
- Voll integrierter LDO mit programmierbarer geregelter Core-Versorgungsspannung
- Versorgungsspannungskontrolle, Überwachung und Brown-Out
- Einheitliches Taktsystem
- FLL-Regelkreis zur Frequenzstabilisierung
- Interne Taktquelle mit niedrigem Stromverbrauch und niedriger Frequenz (VLO)
- Getrimmte interne Referenzquelle mit niedriger Frequenz (REFO)
- 32-kHz-Quarze (XT1)
- Hochfrequenz-Quarze mit bis zu 32 MHz (XT2)
- Vier 16-Bit-Timer mit 3, 5 oder 7 Erfassungs-/Vergleichsregistern
- Zwei serielle Universal-Kommunikationsschnittstellen (USCIs)
- Unterstützung durch USCI_A0 und USCI_A1 – Verbesserte UART unterstützt eine automatische Baudraten-Erkennung, IrDA-Encoder und -Decoder, synchrone SPI
- USCI_B0 und USCI_B1 unterstützen jeweils die I2C- und synchrone SPI
- Serieller Vollgeschwindigkeits-Universal-Bus (USB)
- Integriertes USB-PHY
- Integriertes 3,3-V- und 1,8-V-USB-Leistungssystem
- Integriertes USB-PLL
- 8 Eingangs- und 8 Ausgangs-Endpunkte
- 12-Bit-Analog-Digital-Wandler (ADC) mit interner geteilter Referenz, Abtast- und Halteschaltung und automatische Scan-Funktion
- Duale 12-Bit-Digital-Analog-Wandler (DACs) mit Synchronisierung
- Spannungskomparator
- Integrierter LCD-Treiber mit Kontraststeuerung für bis zu 160 Segmente
- Hardware-Multiplizierer unterstützt 32-Bit-Betriebsabläufe
- Serielle On-Board-Programmierung, keine externe Programmierspannung erforderlich
- Interner Sechskanal-DMA
- RTC-Modul mit Versorgungsspannungs-Backupschalter
Applikationen
- Analoge und digitale Sensorsysteme
- Digitale Motorsteuerung
- Fernsteuerungen
- Thermostate
- Digitale Timer
- Tragbare Messgeräte
MSP430F6630/31/32 Blockdiagramm
MSP430F6633/34/35 – Blockdiagramm
MSP430F6636/37/38 Blockdiagramm
Veröffentlichungsdatum: 2020-10-21
| Aktualisiert: 2025-04-16
