Texas Instruments MSP430F563x Mischsignal-Mikrocontroller
Texas Instruments MSP430F563x Mischsignal-Mikrocontroller bestehen aus mehreren Bauteilen mit verschiedenen Peripheriesätzen, die für zahlreiche Applikationen ausgelegt sind. Die Architektur ist zusammen mit umfangreichen Stromsparmodi zur Verlängerung der Batterielaufzeit in tragbaren Messapplikationen optimiert. Die 16-Bit-RISC-Architektur zusammen mit fünf stromsparenden Modi ist für eine längere Batterielaufzeit in tragbaren Messapplikationen optimiert. Der MSP430F563x ist mit einem leistungsstarken 16-Bit-RISC-CPU, 16-Bit-Registern und konstanten Generatoren ausgestattet, die zu einem maximalen Code-Wirkungsgrad beitragen. Der digital geregelte Oszillator (DCO) ermöglicht dem Bauteil ein Umschalten aus den Stromsparmodi in den aktiven Modus in 3µs (typisch).Die MSP430F563x Mischsignal-Mikrocontroller von TI bieten einen 12-Bit-Hochleistungs-ADC, einen Komparator, zwei USCIs, einen USB 2.0, einen Hardware-Multiplikator, einen DMA, vier 16-Bit-Timer, ein RTC-Modul mit Alarmfunktionen und bis zu 74 I/O-Pins.
Merkmale
- Niedriger Versorgungsspannungsbereich von 1,8 V bis 3,6 V
- Extrem geringer Stromverbrauch
- Aktivmodus (AM):
- Alle Systemtaktgeber aktiv: 270 µA/MHz bei 8 MHz, 3,0 V, Flash-Programmausführung (typisch)
- Standby-Modus (LPM3):
- Watchdog mit Quarz und Versorgungsüberwachung bei Betrieb, vollständige RAM-Erhaltung, schnelle Aktivierung von 1,8 µA bei 2,2 V, 2,1 µA bei 3,0 V (typisch)
- Abschalt-Echtzeituhr(RTC)-Modus (LPM3.5) von 1,1 mA bei einem Abschaltmodus von 3,0 V (typisch), aktive RTC mit Quarz
- Abschaltmodus (LPM4.5): 0,3 µA bei 3,0 V (typisch)
- Aktivmodus (AM):
- Aktivierung aus dem Standby-Modus in 3 µs (typisch)
- 16-Bit-RISC-Architektur, erweiterter Speicher, Systemtakt von bis zu 20 MHz
- Flexibles Leistungsmanagementsystem
- Voll integrierter LDO mit programmierbarer geregelter Core-Versorgungsspannung
- Versorgungsspannungskontrolle, Überwachung und Brown-Out
- Einheitliches Taktsystem
- FLL-Regelkreis zur Frequenzstabilisierung
- Interne Taktquelle mit niedrigem Stromverbrauch und niedriger Frequenz (VLO)
- Getrimmte interne Referenzquelle mit niedriger Frequenz (REFO)
- 32-kHz-Quarze (XT1)
- Hochfrequenz-Quarze mit bis zu 32 MHz (XT2)
- Vier 16-Bit-Timer mit 3, 5 oder 7 Erfassungs-/Vergleichsregistern
- Zwei serielle Universal-Kommunikationsschnittstellen (USCIs
- Unterstützung durch USCI_A0 und USCI_A1 – Verbesserte UART unterstützt eine automatische Baudraten-Erkennung, IrDA-Encoder und -Decoder, synchrone SPI
- USCI_B0 und USCI_B1 unterstützen jeweils die I2C- und synchrone SPI
- Serieller Vollgeschwindigkeits-Universal-Bus (USB)
- Integriertes USB-PHY
- Integriertes 3,3-V- und 1,8-V-USB-Leistungssystem
- Integriertes USB-PLL
- 8 Eingangs- und 8 Ausgangs-Endpunkte
- 12-Bit-Analog-Digital-Wandler (ADC) mit interner geteilter Referenz, Abtast- und Halteschaltung und automatische Scan-Funktion
- Duale 12-Bit-Digital-Analog-Wandler (DACs) mit Synchronisierung
- Spannungskomparator
- Hardware-Multiplizierer unterstützt 32-Bit-Betriebsabläufe
- Serielle On-Board-Programmierung, keine externe Programmierspannung erforderlich
- Interner Sechskanal-DMA
- RTC-Modul mit Versorgungsspannungs-Backupschalter
Applikationen
- Analoge und digitale Sensorsysteme
- Digitale Motorsteuerung
- Fernsteuerungen
- Thermostate
- Digitale Timer
- Tragbare Messgeräte
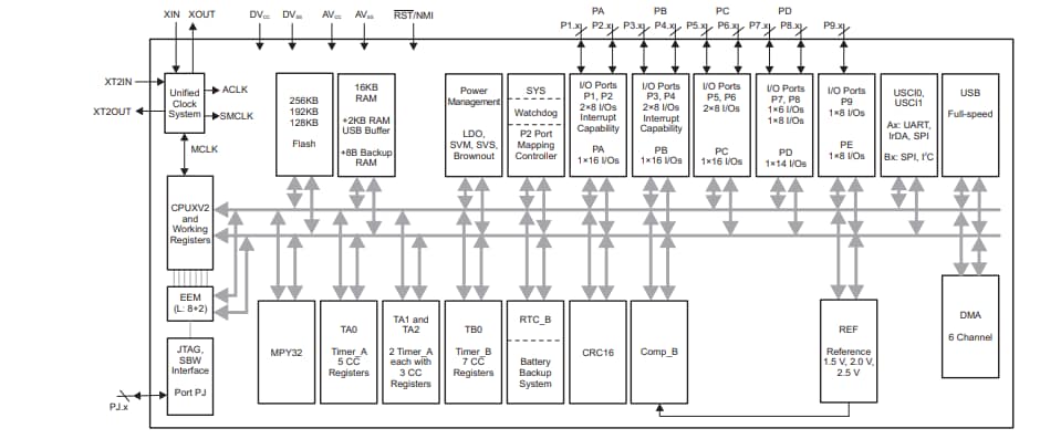
MSP430F5630/31/32 Blockdiagramm
MSP430F5633/34/35 – Blockdiagramm
MSP430F5636/37/38 Blockdiagramm
Veröffentlichungsdatum: 2020-10-20
| Aktualisiert: 2025-07-31
