Texas Instruments MSP430F261x / MSP430F241x Mischsignal-MCUs
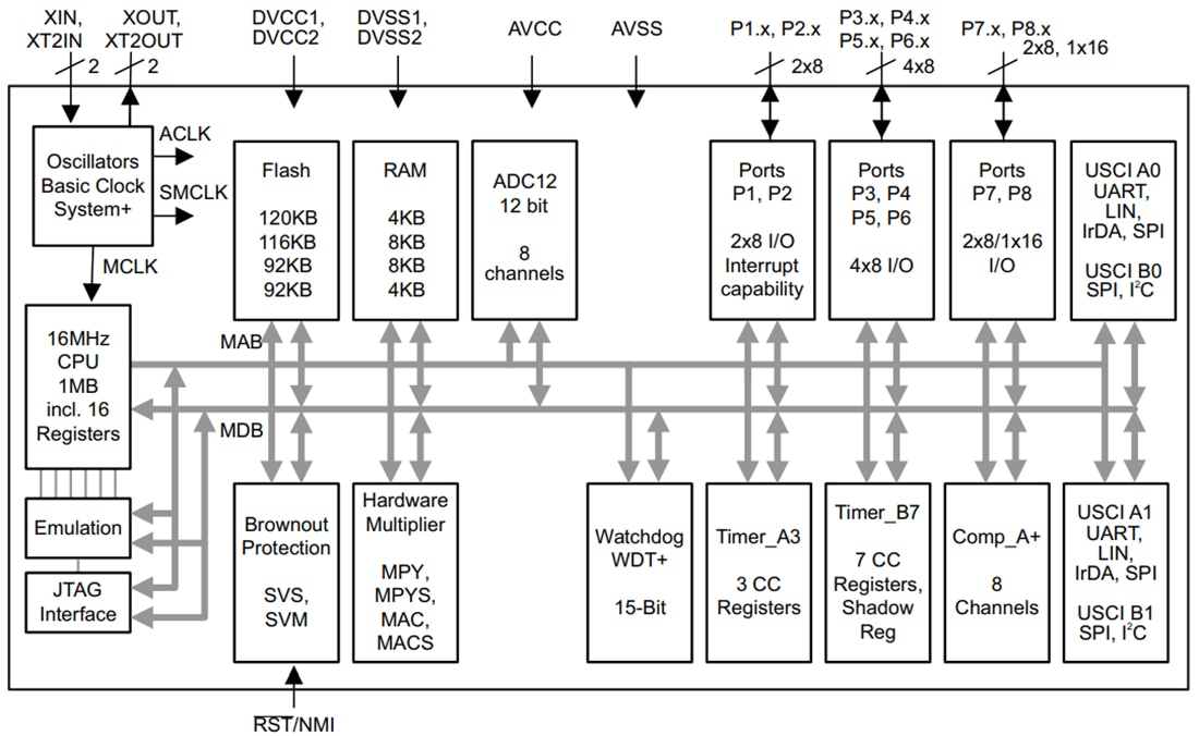
Texas Instruments MSP430F261x / MSP430F241x Mischsignal-Mikrocontroller (MCUs) sind Teil der MSP430™ -Produktfamilie von stromsparenden MCUs. Diese MCUs bestehen aus mehreren Bauteilen, die unterschiedliche Sätze von Peripherie enthalten, die auf verschiedene Applikationen ausgerichtet sind. Die Architektur, kombiniert mit fünf Stromsparmodi, ist zur Verlängerung der Batterielaufzeit in tragbaren Messapplikationen ausgelegt. Die Texas Instruments MSP430F261x-/MSP430F241x-Baureihe besteht aus MCU-Konfigurationen mit zwei integrierten 16-Bit-Timern, einem schnellen 12-Bit-ADC, einem Komparator, zwei 12-Bit-DACs, vier USCI-Modulen, DMA und bis zu 64 I/O-Pins. Die MSP430F241x Bauteile sind mit den MSP430F261x Bauteilen identisch, mit der Ausnahme, dass die DAC12- und DMA-Module nicht implementiert sind. Das LQFP-64-Gehäuse ist auch als nicht-magnetisches Gehäuse für medizinische Bildgebungsapplikationen erhältlich.Merkmale
- Niedriger Versorgungsspannungsbereich: 1,8 V bis 3,6 V
- Extrem geringer Stromverbrauch
- Aktiver Modus: 365 µA bei 1 MHz, 2,2 V
- Standby-Modus (VLO): 0,5 µA
- Ausschalt-Modus: 0,1 µA (RAM-Erhaltung)
- Aktivierung aus dem Standby-Modus in weniger als 1 µs
- 16-Bit-RISC-Architektur, 62,5 ns Befehlszykluszeit
- Interner Dreikanal-DMA (nur MSP430F261x)
- 12-Bit-Analog-Digital-Wandler (ADC) mit interner Referenz, Abtast- und Halte- sowie automatischer Scanning-Funktion
- Zwei 12-Bit-Digital-Analog-Wandler (DACs) mit Synchronisation (nur MSP430F261x)
- 16-Bit-Timer_A mit drei Erfassungs-/Vergleichsregistern
- 16-Bit-Timer_B mit sieben Erfassungs-/Vergleichsregistern mit Schattenregister
- On-Chip-Komparator
- Versorgungsspannungswächter und -monitor mit programmierbarer Pegelerkennung
- Vier serielle Universal-Kommunikationsschnittstellen (USCIs)
- USCI_A0 und USCI_A1
- Verbesserte UART unterstützt die automatische Baudratenerkennung
- IrDA-Encoder und -Decoder
- Synchrone SPI
- USCI_B0 und USCI_B1
- I2C
- Synchrone SPI
- USCI_A0 und USCI_A1
- Brownout-Detektor
- Bootloader (BSL)
- Serielle On-Board-Programmierung, keine externe Programmierspannung erforderlich, programmierbarer Code-Schutz durch Schutzsicherung
- Erhältlich in einem 80-Pin-Quad-Flat-Pack (LQFP), einem 64-Pin-LQFP und einem 113-Pin-Ball-Grid-Array (nFBGA)
Applikationen
- Sensorsysteme
- Industriesteuerungsapplikationen
- Tragbare Messgeräte
- Medizinische Bildverarbeitungsapplikationen
Veröffentlichungsdatum: 2020-05-27
| Aktualisiert: 2025-04-16
