Texas Instruments MSP430F21x2 Extrem stromsparende 16-Bit-MCUs
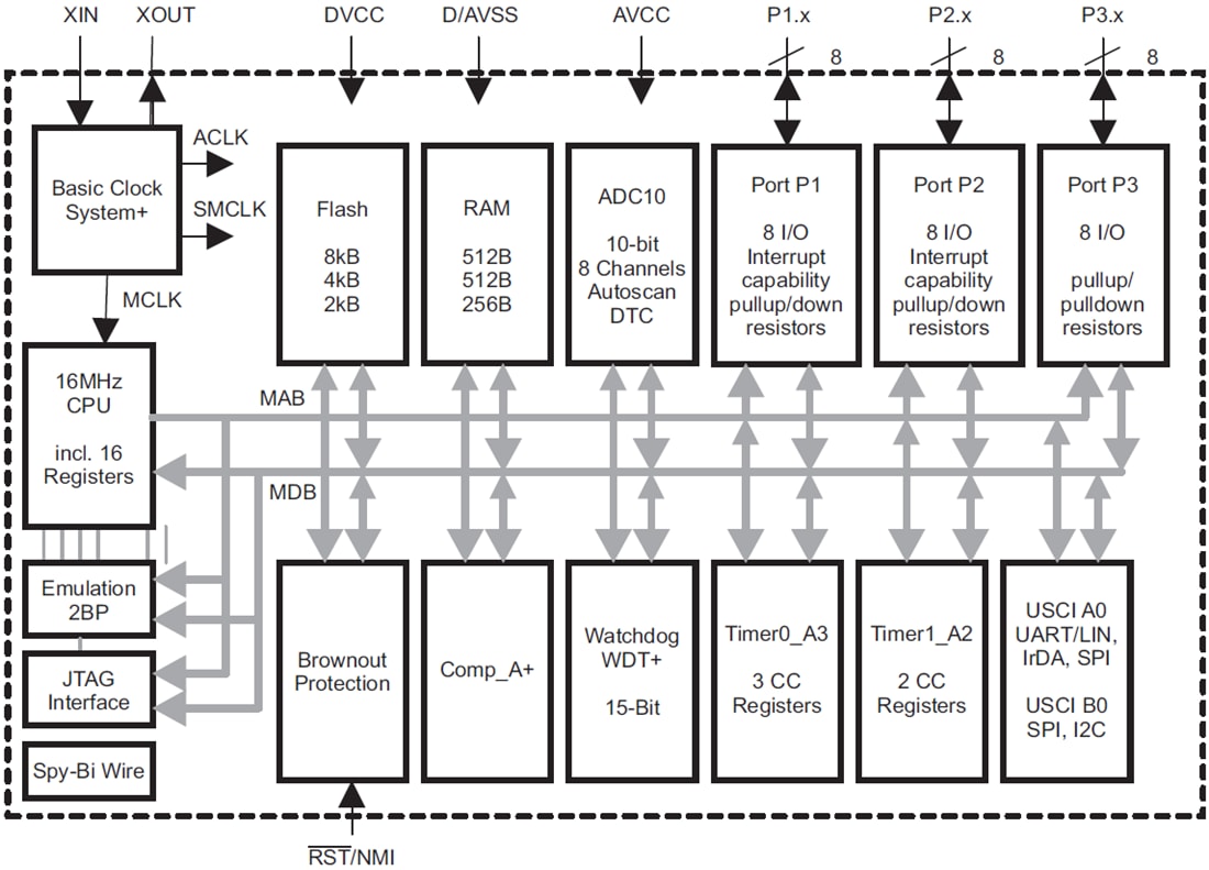
Texas Instruments MSP430F21x2 Extrem stromsparende 16-Bit-Mikrocontroller (MCUs) sind Teil der MSP430-Produktfamilie von Mikrocontrollern. Diese MCUs verfügen über eine Architektur, die kombiniert mit fünf Stromsparmodi für die Verlängerung der Batterielaufzeit in tragbaren Messapplikationen optimiert ist. Das Bauteil ist mit einem leistungsstarken 16-Bit-RISC-CPU, 16-Bit-Registern und konstanten Generatoren ausgestattet, was zu einem maximalen Code-Wirkungsgrad beiträgt. Der digital gesteuerte Oszillator (DCO) macht ein Umschalten aus den Stromsparmodi in den aktiven Modus in weniger als 1 µs möglich.Die MSP430F21x2 enthalten zwei eingebaute 16-Bit-Timer, einen schnellen 10-Bit-A/D-Wandler mit integrierter Referenz und einen Datenübertragungs-Controller (DTC). Dazu gehören außerdem ein Komparator und eine eingebaute Kommunikationsfunktion, welche die serielle Universal-Kommunikationsschnittelle und bis zu 24 I/O-Pins verwenden. Die MSP430F21x2 Bauteile verfügen über einen Gold-Bonddraht, einen Temperaturbereich von -55 °C bis +100 °C und einen SnPb-Leitungsfinish.
Merkmale
- Niedriger Versorgungsspannungsbereich: 1,8 V bis 3,6 V
- Extrem geringer Stromverbrauch
- Aktiver Modus: 250 µA bei 1 MHz, 2,2 V
- Standby-Modus: 0,7 µA
- Aus-Modus (RAM-Erhaltung): 0,1 µA
- Extrem schnelles Hochfahren aus dem Standby-Modus in weniger als 1 µs
- 16-Bit-RISC-Architektur, 62,5 ns Befehlszykluszeit
- Grundlegende Taktmodulkonfigurationen
- Interne Frequenzen von bis zu 16 MHz mit vier kalibrierten Frequenzen bis ±1 %
- Interner extrem stromsparender Oszillator mit niedriger Frequenz
- 32 kHz Quarz
- Hochfrequenz-(HF)-Quarz von bis zu 16 MHz
- Resonator
- Externe digitale Taktquelle
- Externer Widerstand
- 16-Bit-Timer0_A3 mit drei Capture-/Compare-Registern
- 16-Bit-Timer1_A2 mit zwei Capture-/Compare-Registern
- On-Chip-Komparator für Analogsignal-Vergleichsfunktion oder Analog-Digital-(A/D)-Neigungswandlung
- 10-Bit-200ksps-A/D-Wandler mit interner Referenz, Sample-and-Hold, Autoscan und Datenübertragungs-Controller
- Serielle Universal-Kommunikationsschnittstelle
- Verbesserter UART unterstützt Auto-Baudraten-Erkennung (LIN)
- IrDA-Encoder und -Decoder
- Synchrone SPI
- I2C™
- Brownout-Detektor
- Serielle On-Board-Programmierung, keine externe Spannungsprogrammierung notwendig, programmierbare Code-Sicherheit durch Schutzsicherung
- Bootstrap-Loader
- On-Chip-Emulationsmodule
- Zur Produktfamilie gehören:
- MSP430F2132: 8 KB + 256 B Flash-Speicher und 512 B RAM
- MSP430F2122: 4 KB + 256 B Flash-Speicher und 512 B RAM
- MSP430F2112: 2 KB + 256 B Flash-Speicher, 256 B RAM
- Erhältlich in 28-Pin-TSSOP- (PW) und 32-Pin-QFN-Gehäusen (RHB oder RTV)
Funktionales Blockdiagramm
Veröffentlichungsdatum: 2019-01-25
| Aktualisiert: 2025-06-06
