Texas Instruments LP8758-E3 Synchrone DC/DC-Abwärtswandler
Texas Instruments LP8758-E3 Synchrone DC/DC-Abwärtswandler sind zur Erfüllung der Leistungsmanagement-Anforderungen für stromsparende Prozessoren in Handys, Netzwerkkarten und ähnlichen Applikationen ausgelegt. Das Bauteil enthält vier DC/DC-Abwärtswandler-Cores, die vier Ausgangsspanungsschienen bereitstellen. Das Bauteil wird über eine I2C-kompatible serielle Schnittstelle gesteuert. Der automatische PWM-PFM-Betrieb (AUTO-Modus) maximiert den Wirkungsgrad über einen großen Ausgangsstrombereich. Der LP8758-E3 von Texas Instruments unterstützt programmierbare Einschalt- und Abschaltsequenzierungen, die mit dem Hardware-Freigabeeingangssignal synchronisiert sind.Zu den Schutzfunktionen gehören eine Kurzschluss-Sicherung, Strombegrenzungen, Eingangsversorgungs-UVLO sowie Temperaturwarn- und Abschaltfunktionen. Für die Statusinformationen des Bauteils sind mehrere Fehlerflags vorgesehen. Darüber hinaus unterstützt das LP8758-E3 Bauteil die Laststrommessung ohne zusätzliche externe Strommesswiderstände. Während der Inbetriebnahme und den Spannungswechseln steuert das Bauteil die Ausgangsanstiegsrate zur Reduzierung des Ausgangsspannungsüberschwingens und des Einschaltstroms.
Merkmale
- Vollständig integrierter Quad-Buck, bis zu 4 A programmierbarer maximaler Ausgangsstrom pro Buck
- Automatischer PWM-PFM- und erzwungener PWM-Betrieb
- Programmierbare Ausgangsspannungs-Anstiegsrate von 30 mV/µs bis 0,5 mV/µs
- 2,5 V bis 5,5 V Eingangsspannungsbereich
- 0,5 V bis 3,36 V mit DVS VOUT -Bereich
- Programmierbare Sequenzierung bei der Inbetriebnahme und dem Herunterfahren mit Freigabesignal
- I2C-kompatible Schnittstelle, die Standard- (100 kHz), Schnell- (400 kHz), Schnell+- (1 MHz) und Hochgeschwindigkeits-Modi (3,4 MHz) unterstützt
- Unterbrechungsfunktion mit programmierbarer Maskierung
- Laststrommessung
- Überlastschutz und Kurzschluss-Sicherung am Ausgang
- Frequenzspreizungmodus zur EMI-Reduzierung
- Die vier Buck-Cores arbeiten 90 ° phasenverschoben und reduzieren dadurch die Eingangsstromwelligkeit
- Übertemperaturwarnung und -schutz
- Unterspannungssperre (UVLO)
Applikationen
- Optische Module
- Drohnensysteme
- Smartphones, eBooks und Tablets
- Solid-State-Drives
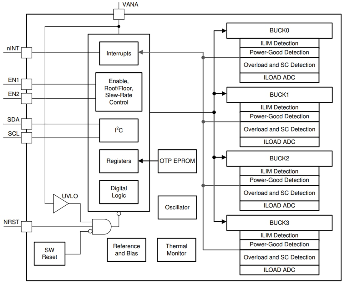
Funktionales Blockdiagramm
Veröffentlichungsdatum: 2020-05-29
| Aktualisiert: 2024-06-20
