Texas Instruments LP875701-Q1 DC/DC-Abwärtswandler
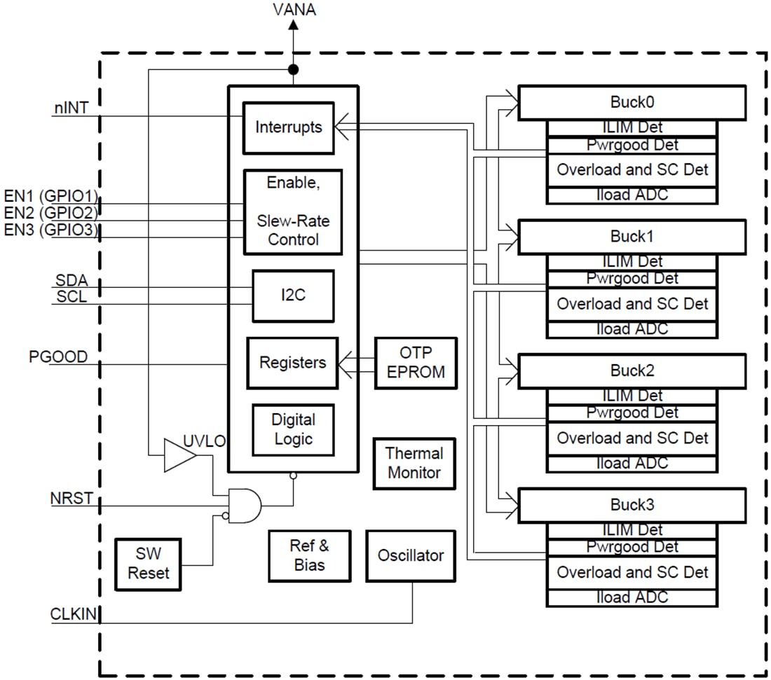
Texas Instruments LP875701-Q1 DC/DC-Abwärtswandler sind für die Erfüllung der Leistungsmanagementanforderungen der neuesten Prozessoren und Plattformen in verschiedenen Automotive-Leistungsapplikationen ausgelegt. Diese Bauteile enthalten vier DC/DC-Abwärtswandler-Cores, die als vierphasiger Ausgang im erzwungenen PWM-Modus konfiguriert sind. Diese Bauteile werden über eine I2C-kompatible serielle Schnittstelle und über Freigabe-Signale gesteuert.Das LP875701-Q1 Bauteil unterstützt eine Laststrommessung ohne zusätzliche externe Strommesswiderstände. Der LP875701-Q1 unterstützt außerdem programmierbare Einschalt- und Abschaltverzögerungen und Sequenzen, die zur Freigabe der Signale synchronisiert sind. Diese Sequenzen können GPIO-Signale zur Steuerung von externen Reglern, Lastschaltern und einem Prozessor-Reset umfassen. Während der Inbetriebnahme und Spannungsänderung steuert das Bauteil die Ausgangs-Anstiegsrate zur Reduzierung der Überschwingung der Ausgangsspannung und des Einschaltstroms.
Merkmale
- Qualifiziert für Fahrzeuganwendungen
- AEC-Q100-qualifiziert mit den folgenden Ergebnissen:
- Temperatur des Bauteils der Klasse 1: -40 °C bis +125 °C Umgebungstemperatur
- HBM-ESD-Bauteilklassifikation Stufe 2
- CDM-ESD-Bauteilklassifikation Stufe C4B
- Eingangsspannung: 2,8 V bis 5,5 V
- Ausgangsspannung: 1,0 V
- Vier DC/DC-Abwärtswandler-Cores mit hohem Wirkungsgrad
- Maximaler Ausgangsstrom: 10 A (2,5 A pro Phase)
- Schaltfrequenz: 3 MHz
- Frequenzspreizungsmodus und Phasenverschachtelung
- Konfigurierbare Universal-I/O (GPIOs)
- I2C-kompatible Schnittstelle unterstützt Standard- (100 kHz), Fast- (400 kHz), Fast+- (1 MHz) und High-Speed- (3,4 MHz) Betriebsarten
- Interrupt-Funktion mit programmierbarer Maskierung
- Programmierbares Power-Good-Signal (PGOOD)
- Überlastschutz und Kurzschlusssicherung am Ausgang
- Übertemperaturvorwarnung und Schutz
- Unterspannungssperre (UVLO) und Überspannungsschutz (OVP)
Applikationen
- Automotive-Infotainment-Systeme
- Kombiinstrumente
- Radar
- Kameraleistung
Funktionales Blockdiagramm
Veröffentlichungsdatum: 2019-03-07
| Aktualisiert: 2025-03-06
