Texas Instruments LP87322E/F-Q1 Leistungsmanagement-IC (PMIC)
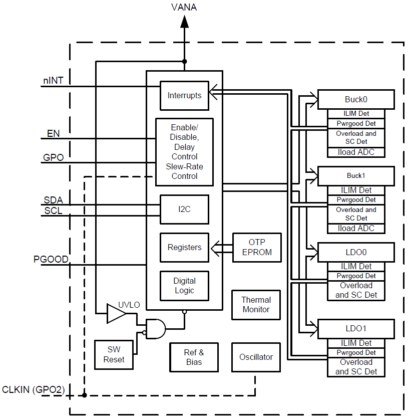
Der Texas Instruments LP87322E/F-Q1 Leistungsmanagement-IC ist für die Erfüllung der Leistungsmanagementanforderungen der neuesten Prozessoren und Plattformen in verschiedenen Automotive-Kamera- und Radarapplikationen ausgelegt. Dieser PMIC enthält zwei DC/DC-Abwärtswandler und zwei Linearregler sowie digitale Universal-Ausgangssignale. Das Bauteil wird über eine I2C-kompatible serielle Schnittstelle und über ein Freigabesignal gesteuert. Der automatische PWM/PFM-Betrieb (AUTO-Modus) ermöglicht einen hohen Wirkungsgrad über einen großen Ausgangsstrombereich. Der LP87322E/F-Q1 unterstützt die ferngesteuerte Spannungserfassung, um den IR-Abfall zwischen dem Wandlerausgang und der Punktlast (POL) zu kompensieren und dadurch die Genauigkeit der Ausgangsspannung zu verbessern. Außerdem kann der Schalttakt in den PWM-Modus gezwungen und mit einem externen Takt synchronisiert werden, um Störungen zu reduzieren.The automatic PWM/PFM (AUTO mode) operation gives high efficiency over a wide output current range. The Texas Instruments LP87322E/F-Q1 supports remote voltage sensing to compensate for IR drop between the regulator output and the point-of-load (POL), thus improving the accuracy of the output voltage. In addition, the switching clock can be forced to PWM mode and synchronized to an external clock to minimize the disturbances.
Merkmale
- AEC-Q100-qualifiziert mit den folgenden Ergebnissen:
- Temperatur des Bauteils der Klasse 1: -40 °C bis +125 °C Umgebungstemperatur
- Eingangsspannung: 2,8 V bis 5,5 V
- Zwei hocheffiziente synchrone DC-DC-Abwärtswandler
- Ausgangsspannung: 0,7 V bis 3,36 V
- Maximaler Ausgangsstrom 2 A
- Programmierbare Ausgangsspannungs-Anstiegsrate von 0,5 mV/µs auf 10 mV/µs
- 2 MHz Schaltfrequenz
- Frequenzspreizungsmodus und Phasenverschachtelung für EMI-Reduktion
- Zwei Linearregler
- Eingangsspannung: 2,5 V bis 5,5 V
- Ausgangsspannung: 0,8 V bis 3,3 V
- Max. Ausgangsstrom: 300 mA
- Konfigurierbare Universal-Ausgang-Signale (GPO, GPO2)
- Interrupt-Funktion mit programmierbarer Maskierung
- Programmierbares Power-Good Signal (PGOOD)
- Überlast- und Kurzschluss-Schutz am Ausgang
- Übertemperaturwarnung und Schutz
- Unterspannungssperre (UVLO) und Überspannungsschutz (OVP)
- 5 mm × 5 mm 28-Pin-VQFN-Gehäuse mit benetzbaren Flanken
Applikationen
- Automobilsteuergeräte und Cluster
- Automobil-Kamera-Modul
- Rundumsichtsystem ECU
- Radarsystem ECU
- Anzeige in Fahrzeugen
Funktionales Blockdiagramm
Veröffentlichungsdatum: 2018-04-16
| Aktualisiert: 2022-12-01
