Texas Instruments LP5811 Vierkanal-RGBW-LED-Treiber
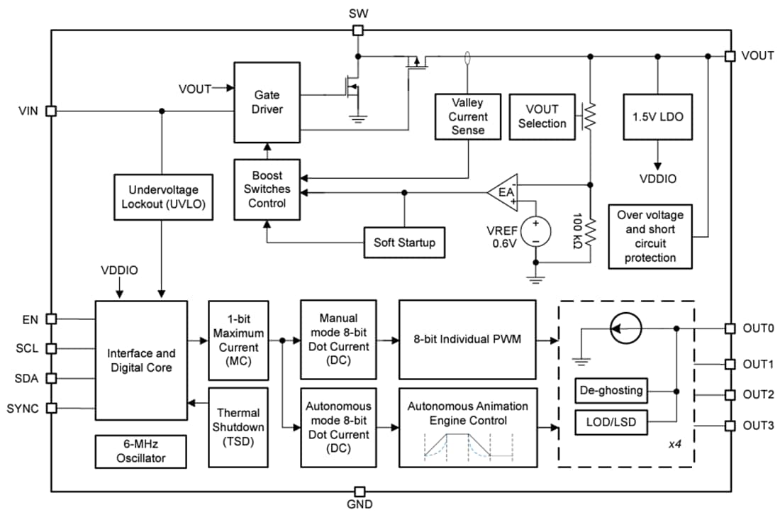
Der Texas Instruments LP5811 Vierkanal-RGBW-LED-Treiber ist ein synchroner RGBW-LED-Aufwärtstreiber mit autonomer Animation-Engine-Steuerung. Das Bauelement eignet sich hervorragend für den Einsatz in batteriebetriebenen Applikationen mit einem Eingangsspannungsbereich von 0,5 V bis 5,5 V und verfügt über einen extrem niedrigen Normalbetriebsstrom von 0,4 mA (typisch) bei der Beleuchtung von LEDs.Der integrierte synchrone Aufwärtswandler verfügt über einen hervorragenden Wirkungsgrad und hält die Helligkeit von LEDs über einen großen Betriebsspannungsbereich stabil. Die Ausgangsspannung kann in Schritten von 0,1 V für verschiedene LED-Durchlassspannungen von 3 V bis 5,5 V ausgewählt werden. Der Aufwärtswandler kann die genutzten LEDs und andere Lasten im System betreiben. Wenn der Aufwärtswandler überbrückt werden muss, wird VOUT als Stromversorgungseingang für die LED-Treiberblöcke verwendet.
Sowohl die analoge Verdunkelung als auch PWM-Verdunkelungsmethoden werden eingesetzt, um eine leistungsstarke Verdunkelung zu erzielen. Der Ausgangsstrom jeder LED kann in 256 Schritten von 0,1 mA bis 25,5 mA oder 0,2 mA bis 51mA angepasst werden. Der 8-Bit-PWM-Generator ermöglicht eine reibungslose und rauschfreie Verdunkelungssteuerung für die LED-Helligkeit.
Die autonome Animation-Engine kann die Echtzeit-Belastung des Reglers erheblich reduzieren. Jede LED kann über die entsprechenden Register konfiguriert werden, um lebendige und auffällige Beleuchtungseffekte zu realisieren. Der LP5811 von Texas Instruments kann ein 6-MHz-Taktsignal erzeugen und die Beleuchtungseffekte zwischen mehreren Bauteilen synchronisieren.
Merkmale
- Betriebsspannungsbereich
- Eingangsspannungsbereich (VIN): 0,5 V bis 5,5 V
- 1,8 V Mindesteingangsspannung für die Inbetriebnahme
- Logik-Pins kompatibel mit 1,8 V, 3,3 V und 5 V
- Synchroner Aufwärtswandler mit hohem Wirkungsgrad
- Ausgangsspannungsbereich (VOUT): 3 V zu 5,5 V
- 140 mΩ (HS)/60 mΩ (LS) MOSFETs
- 1,6 A Strombegrenzung für Valley-Schaltungen
- 95 % Wirkungsgrad bei VIN = 4,2 V, VOUT = 5,0 V, IOUT = 300 mA
- Pass-Through-Modus, wenn VIN > V OUT -Einstellung
- Echte Trennung zwischen Eingang und Ausgang während dem Abschalten
- Vier Konstantstromsenken mit hoher Präzision
- 0,1 mA bis 51 mA pro Stromsenke
- Bauteil-zu-Bauteil-Fehlerrate von maximal ±5 %
- Kanal-zu-Kanal-Fehler von ±5 % max.
- Ultra-niedrige Headroom-Spannung von 110 mV (typ.) bei 25.5 mA; 210 mV (typ.) bei 51 mA
- PWM-Phasensprung für jede LED konfigurierbar
- Extrem geringer Stromverbrauch
- Abschaltung: ISD = 0,1 µA (typisch) wenn EN = Low
- Standby: ISTB = 26 µA (typisch) wenn EN = High und CHIP_EN = 0 (Daten bleiben erhalten)
- Aktiv: INOR = 0,45 mA (typisch) wenn LED-Strom = 25,5 mA
- Analoge Verdunkelung (Stromverstärkungsregelung)
- Globaler maximaler Strom (MC) bei 1-Bit: 25,5 mA oder 51 mA
- Individuelle 8-Bit-Punktstromeinstellung (DC)
- PWM-Verdunkelung bis zu rauschfreien 24 kHz
- Individuelle 8-Bit-PWM-Verdunkelungsauflösung
- Lineare oder exponentielle Verdunkelungskurven
- Autonome Animation-Engine-Steuerung
- Erkennung von Unterbrechungen/Kurzschlüssen für einzelne LED-Punkte
- Integrierte Anti-Ghosting-Funktion
- 1 MHz (max.) I2C-Schnittstelle
- Betriebstemperaturbereich: -40°C bis 85°C
Applikationen
- LED-Animation und Anzeige für:
- Ortsunabhängige und tragbare Elektronik – Ohrhörer und Ladegehäuse, E-Zigaretten, Smartwatches
- Spiele und Heimunterhaltung – Smart-Lautsprecher, RGB-Mäuse, VR-Headsets und Controller
- Internet der Dinge (Internet of Things, IoT) – E-Tags, Video-Türklingeln
- Netzwerke – Router, Zugangspunkte
- Industrielles HMI – Ladegerät für Elektrofahrzeuge, Fabrikautomation
Funktionales Blockdiagramm
