Texas Instruments LMR60410-Q1 Synchroner Abwärtswandler
Der ausgangssynchrone Abwärtswandler LMR60410-Q1 von Texas Instruments ist ein Fahrzeug 36 V 1 A Wechselrichter mit niedrigemIQ, hoher Effizienz und minimierter Kapazitätsausgabe. Dieser Abwärtswandler arbeitet im programmierbaren Schaltfrequenzbereich von 200 kHz bis 2,2 MHz. Der LMR60410-Q1 DC/DC-Wandler ist darauf ausgelegt, eine höhere Eingangsspannung effizient auf eine niedrigere, geregelte Ausgangsspannung herunterzuwandeln. Dieser Wechselrichter bietet Varianten mit Frequenzspreizung in einem äußerst kompakten 2,5 mm x 2 mm HotRod QFN-9-Gehäuse, wobei benetzbare Flanken verfügbar sind. Das Gerät LMR60410-Q1 ist nach AEC-Q100 für Fahrzeuganwendungen qualifiziert. Dieser LMR60410-Q1 Wechselrichter eignet sich für Infotainment und Cluster in Kraftfahrzeugen, Treiber in Kraftfahrzeugen und Karosserieanforderungen in Kraftfahrzeugen.Merkmale
- Dokumentation zur funktionalen Sicherheit steht bei der Entwicklung von Systemen zur funktionalen Sicherheit unterstützend zur Verfügung
- Gemäß AEC-Q100 für Fahrzeuganwendungen zugelassen
- -40 °C bis 125 °C UmgebungsBetriebstemperaturbereich Gerätetemperaturklasse 1
- Pin programmierbar Ausgangsspannungs- Optionen verfügbar in festen 3.3V/ADJ und 5V/ADJ
- Einstellbarer Ausgangsspannungsbereich von 1 V bis 20 V
- Kurze On-Zeit tON von 30 ns (typisch)
- Optimiert für niedrige Elektromoagnetische Störung (EMI) Anforderungen:
- HotRod™ QFN-Paket mit niedriger Induktivität
- Erweiterte Spread-Spectrum-Optionen sind verfügbar
- 200 kHz Bereich 2,2 MHz programmierbarer Schaltfrequenzbereich
- FPWM, PFM oder externe Frequenzsynchronisierung verfügbar
- Eingangsspannungsbereich von 3 V bis 36 V (42 V absoluter Maximumwert)
- Sehr niedriger Ruhestrom:
- 0,65 μA Abschaltstrom
- Standby-Strom von 5 μA
- Konzipiert für skalierbare Stromversorgung:
- Pin-kompatibel mit LMR60406-Q1 LMR60420-Q1 LMR60430-Q1 und LMR60440-Q1
- Power-Good-Ausgang für Power Sequencing
Applikationen
- Fahrzeuginfotainment und Cluster
- Fahrerassistenzsysteme
- Karosserieelektronikanforderungen
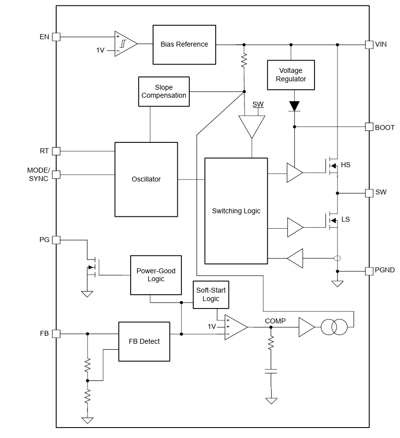
Blockdiagramm
Veröffentlichungsdatum: 2025-09-19
| Aktualisiert: 2025-09-30
