Texas Instruments LMH12x9 12 G SDI-Kabel-Equalizer
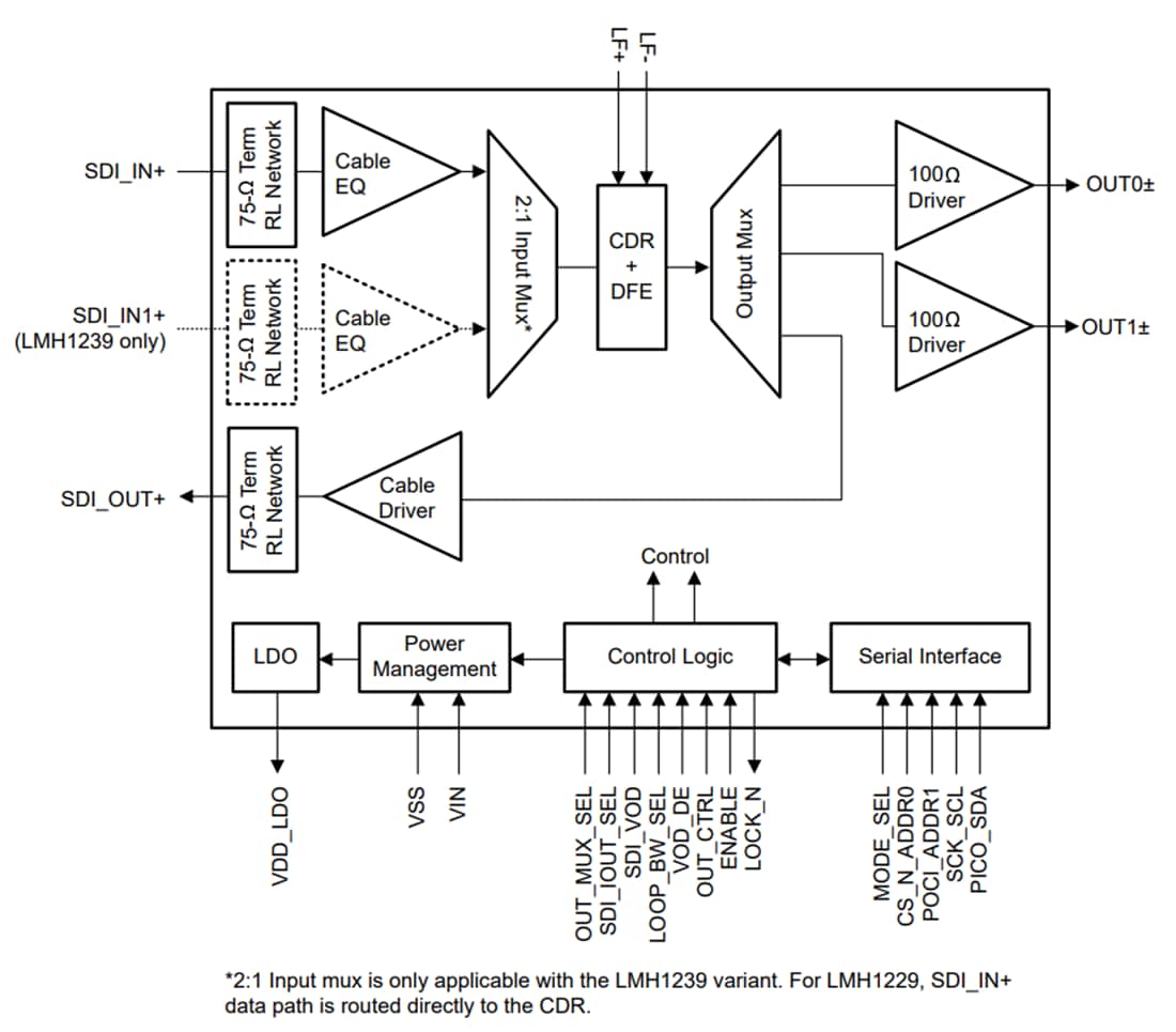
Texas Instruments LMH12x9 12 G SDI-Kabelentzerrer sind weitreichende adaptive Kabelentzerrer mit einem integrierten Reclocker, zwei Ausgängen und einem 75Ω-Durchschleifausgang. Das Gerät wurde für die Entzerrung von Daten entwickelt, die über 75-Ω-Koaxialkabel übertragen werden, und arbeitet mit SMPTE-Datenraten von 125 Mbps bis 11,88 Gbps. Der adaptive Equalizer am SDI-Eingang ermöglicht einen automatischen Verlustausgleich für Kabel mit einer Reichweite von bis zu 100 m Belden 1.694 A in 4K/8K-Videoanwendungen, bei denen 12G-SDI (11,88 Gbps) verwendet wird. Der integrierte Reclocker dämpft hochfrequenten Jitter und regeneriert die Daten vollständig mit einem sauberen, jitterarmen Takt. Der Schleifenfilter des Reclockers ist mit einem optionalen externen Kondensator einstellbar, um die Bandbreite der CDR-Schleife zu reduzieren.Für einfaches Routing und Debugging verfügt der LMH12x9 über einen 1:3 Ausgangs-Mux, bestehend aus zwei 100-Ω Fanouts mit VOD- und De-Emphasis-Steuerung und einem 75-Ω Durchschleif-SDI-Ausgang. Der 75-Ω-Durchschleifausgang dient zur Erweiterung der Signalreichweite oder zur Diagnose auf Systemebene. Das LMH12x9 verfügt über interne integrierte Rückflussdämpfungsnetzwerke, die die strengen SMPTE-Spezifikationen für alle Datenraten erfüllen. Das LMH12x9 verfügt außerdem über einen internen Überwachungsmonitor und einen programmierbaren Pin für die Anzeige der CDR-Sperre, die Erkennung von Eingangsträgern, die Erkennung von Kabelfehlern oder Hardware-Interrupts zur Unterstützung der Systemdiagnose und des Hochfahrens der Karte.
Bei der Verwendung in Kabelequalizer-Anwendungen ist der Texas Instruments LMH1229 pin-kompatibel mit dem LMH1297 (12 G UHD-SDI bidirektionaler I/O mit integriertem Reclocker). Die LMH1239 wird mit einem zusätzlichen integrierten SDI-Eingangs-Mux für Redundanz auf Systemebene angeboten.
Merkmale
- Adaptiver Kabel-Equalizer mit integriertem Reclocker
- Unterstützt ST-2082-1(12 G), ST-2081-1(6 G), ST-424(3 G), ST-292(HD) und ST-259(SD)
- Kompatibel mit DVB-ASI und AES10 (MADI)
- Integrierter referenzloser Reclocker sperrt auf SMPTE-Raten von 11,88 Gbps 5,94 Gbps 2,97 Gbps und 1,485 Gbps, oder divide-by-1.001 Unterraten von 270 Mbps
- Typische Kabelreichweite (Belden 1.694 A), PRBS-9 Muster
- 100 m auf 11,88 Gbps (4Kp60 UHD)
- 150 m unter 5,94 Gbps (UHD)
- 220 m auf 2,97 Gbps (FHD)
- 300 m unter 1,485 Gbps (HD)
- 600 m bei 270 Mbps (SD)
- Typische Kabelreichweite (Belden 1.694 A), pathologisches Muster
- 90 m auf 11,88 Gbps (4Kp60 UHD)
- 140 m unter 5,94 Gbps (UHD)
- 220 m auf 2,97 Gbps (FHD)
- 300 m unter 1,485 Gbps (HD)
- 600 m bei 270 Mbps (SD)
- 75-Ω-Abschluss und Netzwerk zur Kompensation der Rückflussdämpfung auf dem Chip
- Eingangskabel-Equalizer und Reclocker-Funktionen
- Verbesserte Kabelreichweite mit Spannungsmustern
- Programmierbare CDR-Bandbreiteneinstellungen
- 2:1 75 Ω Eingangs-Mux (nur LMH1239)
- Eigenschaften des Ausgangstreibers
- 1:2 100 Ω Fanout-Ausgang mit De-Emphasis
- Wiederverriegelter 75-Ω-Durchschleifausgang mit Kabelfehlererkennung (bis zu 600 m)
- Integrierter PRBS-Generator und -Prüfer
- Interner Augenöffner Monitor
- Einzelversorgung 2,5 V
- 350 mW (typisch) geringe Leistung
- 70 mW Energiesparmodus
- Konfigurierbar über Steuerpins, SPI- oder SMBus-Schnittstelle
- 5 mm × 5 mm 32-poliges WQFN-Gehäuse
- Betriebstemperaturbereich: -40°C bis +85 °C
Applikationen
- SMPTE-kompatible serielle digitale Schnittstelle
- Broadcast-Video-Router, Umschalter, Verteilungsverstärker und Monitore
- UHDTV/4K/8K/HDTV/SDTV Video
- Digitale Videobearbeitung und -schnitt
Videos
Funktionales Blockdiagramm
