Texas Instruments IWR2243 Einzelchip-FMCW-Transceiver
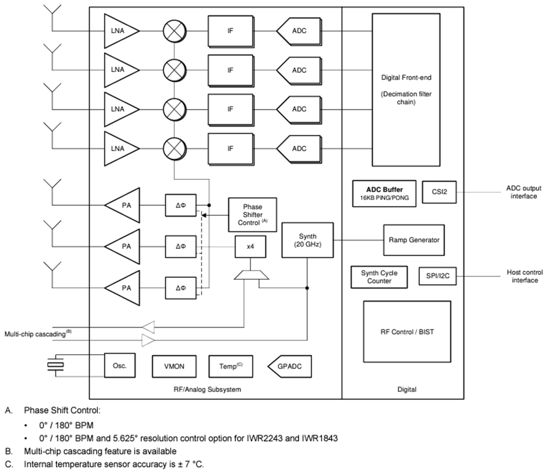
Der IWR2243 Einzelchip-FMCW-Transceiver von Texas Instrument kann im 76 GHz- bis 81 GHz-Band betrieben werden. Das Gerät ermöglicht ein bisher unerreichtes Maß an Integration in einem extrem kleinen Formfaktor. IWR2243 ist eine ideale Lösung für selbstüberwachte, hochpräzise Radarsysteme mit geringem Stromverbrauch im industriellen Bereich.IWR2243 ist eine eigenständige FMCW-Transceiver Einzelchip-Lösung, welche die Implementierung von Radarsensoren vereinfacht. Sie basiert auf dem stromsparenden 45-nm-RFCMOS-Verfahren von TI, das eine monolithische Implementierung eines 3TX-, 4RX-Systems mit eingebauten PLL- und A2D-Wandlern ermöglicht. Durch einfache Änderungen des Programmiermodells können verschiedene Sensorimplementierungen mit der Möglichkeit einer dynamischen Neukonfiguration zur Implementierung eines Multimode-Sensors ermöglicht werden. Das IWR2243 Bauteil unterstützt den Anschluss mehrerer Bauelemente in Kaskadenform. Diese Funktion verbessert die Winkelauflösung, um der Entwicklung leistungsstarker Radarsensoren gerecht zu werden.
Merkmale
- FMCW Transceiver
- PLL, Sender, Empfänger, Basisband und ADC integriert
- Reichweite von 76 GHz bis 81 GHz mit 5-GHz-Bandbreite verfügbar
- Vier Empfangskanäle
- Drei Sendekanäle
- Extrem genaue Chirp-Engine basierend auf Fraktional-N-PLL
- 13dBm TX Leistung
- RX-Rauschfaktor: 13 dB
- Phasenrauschen bei 1 MHz
- -96 dBc/Hz: 76 GHz bis 77 GHz
- -94 dBc/Hz: 77 GHz bis 81 GHz
- Integrierte Kalibrierung und Selbsttest
- Integrierte Firmware (ROM)
- Selbstkalibrierungssystem über Frequenz und Temperatur
- Host-Schnittstelle
- Steuerschnittstelle mit einem externen Prozessor über SPI oder I2C-Schnittstelle
- Datenschnittstelle mit einem externen Prozessor über MIPI D-PHY und CSI2 v1.1
- Interrupts zur Störungsmeldung
- Mit der funktionalen Sicherheit konform
- Für funktionale Sicherheitsapplikationen ausgelegt
- Dokumentation zur Unterstützung des Designs von funktionalen Sicherheitssystemen gemäß IEC 61508 bis SIL 3 ist verfügbar
- Hardware-Integrität bis zu SIL-2
- Sicherheitsbezogene Zertifizierung
- IEC 61508 zertifiziert bis SIL 2 durch TÜV SÜD
- IWR2243 Erweiterte Funktionen
- Embedded-Selbstüberwachung mit begrenzter Beteiligung des Host-Prozessors
- Komplexe Basisband-Architektur
- Möglichkeit der Kaskadierung mehrerer Bauteile für eine größere Anzahl an Kanälen
- Embedded-Störungserkennungsfunktion
- Leistungsmanagement
- Eingebautes LDO-Netzwerk für verbesserte PSRR
- I/Os unterstützen eine Dual-Spannung von 3,3 V/1,8 V
- Taktquelle
- Unterstützt einen extern angetriebenen Taktgeber (quadratisch/sinusförmig) bei 40 MHz
- Unterstützt eine Quarzverbindung mit Lastkondensator von 40 MHz
- Einfaches Hardware-Design
- 161-Pin-Flip-Chip-BGA-Gehäuse mit einem Rastermaß von 0,65 mm von 10,4 mm × 10,4 mm für eine einfache Montage und ein kostengünstiges PCB-Design
- Kleine Lösungsgröße
- Sperrschichttemperaturbereich von -40 °C bis 105 °C
Applikationen
- Industriesensor zur Messung von Bereich, Geschwindigkeit und Winkel
- Robotik
- Verkehrsüberwachung
- Sicherheit und Überwachung
- Fabrikautomatisierungs-Schutzvorrichtungen
- Bildgebungsradar mit Kaskadierungs-Konfiguration
Funktionales Blockdiagramm
Veröffentlichungsdatum: 2024-01-19
| Aktualisiert: 2024-01-31
