Texas Instruments IWR1443 76- bis 81GHz-mmWave-Einzelchip-Sensoren

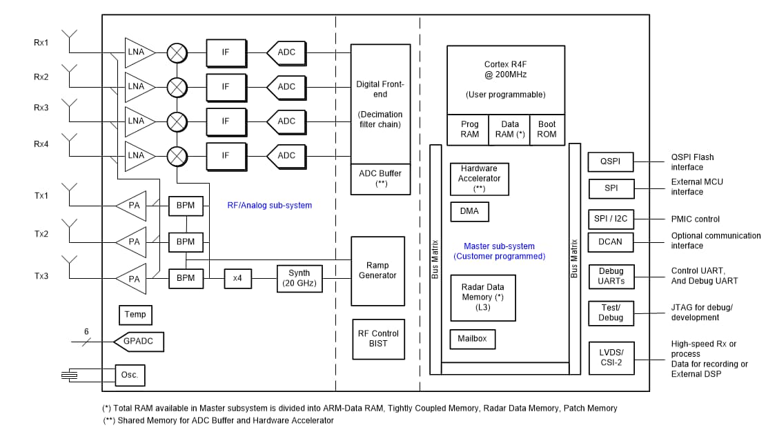
Texas Instruments IWR1443 mmWave-Einzelchip-Sensoren basieren auf der FMCW-Radartechnologie und sind zu einem Betrieb im 76- bis 81GHz-Band mit einem Dauerchirp von bis zu 4 GHz fähig. Der IWR1443 ist eine ideale Lösung für stromsparende, selbstüberwachte, extrem präzise Radarsysteme in Industrieapplikationen. Der IWR1443 wurde mit dem stromsparenden 45-nm-RFCMOS-Verfahren von TI hergestellt. Diese Lösung ermöglicht eine bisher unerreichte Integration in einem extrem kleinen Formfaktor. Das Bauteil beinhaltet eine monolithische Implementierung eines 3TX-, 4RX-Systems mit eingebauten PLL- und A2D-Wandlern.

Ein vollständig konfigurierbarer Hardware-Beschleuniger befindet sich auf den mmwave-Sensoren, der eine komplexe FFT- und CFAR-Erkennung unterstützt. Darüber hinaus enthält das Bauteil zwei ARM R4F-basierte Prozessor-Subsysteme. Ein Prozessor-Subsystem ist für die Mastersteuerung und zusätzliche Algorithmen vorgesehen. Das zweite Prozessor-Subsystem ist für die Frontend-Konfiguration, Steuerung und Kalibrierung zuständig. Das Bauteil bietet einfache Programmiermodelländerungen, die eine Implementierung von zahlreichen Sensoren mit der Möglichkeit einer dynamischen Rekonfiguration für die Implementierung eines Multimodus-Sensors ermöglichen. Der IWR1443 umfasst das Referenzhardwaredesign, den Softwaretreiber, Beispielkonfigurationen, den API-Leitfaden, eine Schulung und die Benutzerdokumentation.

Merkmale

  • FMCW-Transceiver
    • Integrierte PLL, Sender, Empfänger, Basisband und A2D
    • Reichweite von 76 bis 81 GHz mit kontinuierlicher 4GHz-Bandbreite
    • Vier Empfangskanäle
    • Drei Sendekanäle (zwei können gleichzeitig verwendet werden)
    • Sehr genaue Chirp-Engine basierend auf Fraktional-N-PLL
    • TX-Leistung: 12 dBm
    • RX-Rauschfaktor:
      • 14 dB (76 bis 77 GHz)
      • 15 dB (77 bis 81 GHz)
    • Phasenrauschen bei 1 MHz:
      • –95 dBc/Hz (76 bis 77 GHz)
      • –93 dBc/Hz (77 bis 81 GHz)
  • Programmierbarer On-Chip-Core für embedded Benutzerapplikation
    • Integrierter Cortex®-R4F-Mikrocontroller, bei 200 MHz getaktet
    • Der On-Chip-Bootloader unterstützt einen autonomen Modus (Ladenutzerapplikation von QSPI-Flash-Speicher)
    • Integrierte Peripherie
      • Interne Speicher mit ECC
      • Radar-Hardware-Beschleuniger (FFT, Log-Magnitudeberechnungen und weitere)
      • Integrierte Timer (Watchdog und bis zu vier 32-Bit- oder zwei 64-Bit-Timer)
      • I2C (Master- und Slave-Modi unterstützt)
      • Zwei SPI-Anschlüsse
      • CAN-Anschluss
      • Bis zu sechs Universal-ADC-Anschlüsse
  • Hochgeschwindigkeits-Datenschnittstelle zur Unterstützung von verteilten Applikationen
  • Integrierte Kalibrierung und Selbsttest
    • ARM® Cortex®-R4F-basiertes Funkfernsteuerungssystem
    • Integrierte Firmware (ROM)
    • Selbstkalibrierungssystem über Frequenz und Temperatur
  • Host-Schnittstelle
    • Steuerschnittstelle mit externem Prozessor über SPI
    • Datenschnittstelle mit externem Prozessor über MIPI D-PHY und CSI2 V1.1
    • Interrupts für eine Störungsmeldung
  • IWR1443 Erweiterte Funktionen
    • Integrierte Selbstüberwachung ohne Einbeziehung des Host-Prozessors
    • Komplexe Basisband-Architektur
    • Integrierte Interferenzerkennungsfähigkeit
  • Leistungsmanagement
    • Eingebautes LDO-Netzwerk für verbesserte PSRR
    • E/As-Support-Dual-Spannung 3,3 V/1,8 V
  • Taktquelle
    • Unterstützt einen externen Oszillator bei 40 MHz
    • Unterstützt einen extern angetriebenen Takt (Quadratisch/Sinus) bei 40 MHz
  • Einfaches Hardware-Design
    • 161-Pin-Flip-Chip-BGA-Gehäuse mit einem Rastermaß von 0,65 mm von 10,4 mm × 10,4 mm für eine einfache Montage und ein kostengünstiges PCB-Design
    • Kleine Lösungsgröße
  • Betriebsbedingungen
    • Sperrschichttemperaturbereich: –40 °C bis 105 °C

Applikationen

  • Industriesensor für Messbereich, Geschwindigkeit und Winkel
  • Füllstandsmessradar
  • Verdrängungsmessung
  • Feldtransmitter
  • Verkehrsüberwachung
  • Positions- und Näherungserkennung
  • Sicherheit und Überwachung
  • Fabrikautomatisierung
  • Schutzvorrichtungen

Blockdiagramm

Blockdiagramm - Texas Instruments IWR1443 76- bis 81GHz-mmWave-Einzelchip-Sensoren
Veröffentlichungsdatum: 2018-12-17 | Aktualisiert: 2024-09-16