Texas Instruments DS90UH949A-Q1 HDMI-zu-FPD-Link-Brücken-Serialisierer
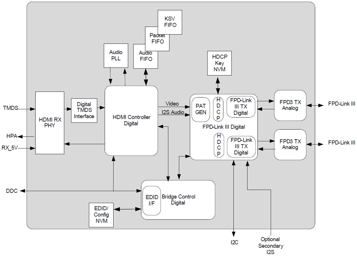
Der DS90UH949A-Q1 HDMI-zu-FPD-Link-III-Brücken-Serialisierer von Texas Instruments kann mit den FPD-Link III DS90UH940A-Q1/DS90UH948A-Q1 Entserialisierern geparrt werden, um serielle Hochgeschwindigkeits-Datenströme mit einem Leitungpaar oder zwei Leitungspaaren zu versorgen. Diese Datenströme können über kostengünstige einendige 50Ω-Koaxial- oder 100Ω-Differential-STP- (Shielded Twisted-Pair) und abgeschirmte STQ-Kabel (Shielded Twisted Quad) erfolgen. Das Bauteil kann einen HDMI-v1.4b Eingang zur Unterstützung von Video-Auflösungen bis zu 2 K mit 24-Bit-Farbtiefe serialisieren.Die FPD-Link III-Schnittstelle unterstützt Video- und Audiodatenübertragungen sowie eine vollständige Duplexsteuerung, einschließlich I2C- und SPI-Kommunikation über denselben Differential-Link. Die Konsolidierung von Videodaten und die Steuerung über zwei Differential-Paare kann die Größe und das Gewicht der Verbindungen reduzieren und das Systemdesign vereinfachen. EMI wird durch die Verwendung einer Niederspannungs-Differential-Signalgebung, einer Datenverschlüsselung und Randomisierung reduziert. Im rückwärtskompatiblen Modus unterstützt das Bauelement Auflösungen von bis zu 1.080 p für 94x-Entserialisierer und bis zu 720 p für 92x-Entserialisierer mit einer 24-Bit-Farbtiefe über einen einzelnen Differential-Link.
Merkmale
- Nach AEC-Q100 für Fahrzeuganwendungen qualifiziert
- Gerätetemperatur Klasse 2: -40 °C bis +105 °C Umgebungstemperaturbereich
- HBM-ESD-Bauteilklassifikation Stufe 2
- CDM-ESD-Bauteilklassifikation Stufe C5
- Unterstützt TMDS-Takt bis zu 210 MHz für 2 K (2.880x1.080) Auflösungen mit 24-Bit-Farbtiefe
- FPD-Link III-Einzel- und Dual-Ausgänge, unterstützen STP- oder STQ-Kabel
- High-Definition-Multimedia (HDMI) v1.4b-kompatible Eingänge
- HDMI-Modus-DisplayPort-(DP++)-Eingänge
- Integrierte HDCP v1.4 Cipher-Engine mit On-Chip-Schlüsselspeicher
- HDMI-Audio-Extraktion für bis zu 8 Kanäle
- Hochgeschwindigkeits-Rückkanal unterstützt GPIO bis zu 2 MBit/s
- Verfolgt den Eingangstakt der Frequenzspreizung zur Reduzierung von EMI
- I2C (Master/Slave) mit 1 MBit/s Fast-Mode Plus
- SPI-Pass-Through-Schnittstelle
- Rückwärtskompatibel mit DS90UH926Q-Q1 und DS90UH928Q-Q1 FPD-Link III Entserialisierer
Applikationen
- Automotive-Infotainment-Systeme
- IVI-Basis-Haupteinheiten und HMI-Module
- Rücksitz-Entertainment-Systeme
- Digitale Kombi-Instrumente
- Sicherheits- und Überwachungskamera
- HDMI-Anschluss für Verbraucherelektronik-Eingang
Funktionales Blockdiagramm
