Texas Instruments DRV81646 Vierkanalige Low-Side-Schalter Treiber
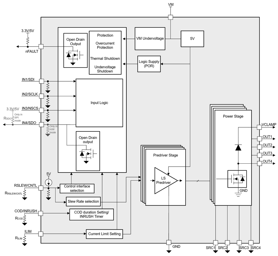
Der Vierkanalige Low-Side-Schalter-Treiber DRV81646 von Texas Instruments arbeitet mit 4,5 V bis 65 V und unterstützt einen breiten Bereich von Lastströmen. Diese Geräte integrieren vier Low-Side-Schalter mit einem RDS(ON) von 140 mΩ, jeweils mit einer Freilauf-Diode zum VCLAMP-Pin. Mithilfe dieser Funktion kann der Nutzer den Strom entweder wiederverwenden oder einen externen TVS für das Abschalten der induktiven Last anschließen.Der Texas Instruments DRV81646 kann über eine Hardware-GPIO-Schnittstelle gesteuert werden. Jeder Kanal verfügt über einen individuellen Übertemperaturschutz und eine analoge Strombegrenzung, die sich mit einem externen Widerstand am ILIM-Pin einstellen lässt. Es gibt eine optionale Bauform (COD), die die Dauer einer Strombegrenzungsbedingung auf dem jeweiligen Kanal begrenzt und so dazu beiträgt, Schäden am Gerät oder an der Last zu vermeiden. Die Anstiegsgeschwindigkeiten des Ausgangs können durch das Setzen eines Widerstands auf den RSLEW/CNTL-Pin konfiguriert werden. Dadurch wird eine größere Flexibilität bei der Steuerung des Ausgangs-Schalters ermöglicht. Das Gerät verfügt über einen INRUSH-Modus, der die Strombegrenzung für kapazitive Lasten erhöht.
Der DRV81646 verfügt über einen Fehler Ausgangs-Pin (nFAULT) zur Anzeige von Fehlerzuständen, und der Fehlerstatus pro Kanal kann im SPI Modus überwacht werden. Diese Funktion ermöglicht es dem Nutzer, Fehler schnell zu erkennen und darauf zu reagieren.
Merkmale
- Vierkanalige integrierte Low-Side-Schalter
- 140 mΩ RDS(ON) bei 25 °C
- Betriebsspannung Bereich: 4,5 V bis 65 V (70 V absolutes Maximum)
- Wählbare Strombegrenzung von 0,5 A bis 4 A pro Kanal
- Schnelles PWM-Schalten bis zu 500 kHz
- Flexible Schnittstellenoptionen
- Hardware-Schnittstelle mit einem unabhängigen PWM-Kanal-Eingang
- SPI ermöglicht die Reduzierung des GPIO- und Isolierungsbedarfs für Designs mit hoher Kanalanzahl.
- Integrierte Fangdioden ermöglichen flexible Abklingmodi mit optionaler externer TVS-/Zener-Diode als alternativem Strompfad beim Abschalten der Diode.
- Die konfigurierbare Anstiegsgeschwindigkeit (100 ns – 1500 ns) ermöglicht sowohl langsame als auch schnelle Schaltanwendungen
- Diagnostisches Feedback
- MCU Fehler Interrupt Signal (nFAULT)
- Pro Kanal verfügbarer Fehlerbericht über SPI
- Schutzmerkmale
- Benutzerdefinierte Strombegrenzung
- Unabhängiger Übertemperatur- und Überstromschutz für jeden Kanal
- Die konfigurierbare Überstromabschaltverzögerung (COD) beträgt 0,5–2 ms.
Applikationen
- PLC
- Verteilter I/O
- Feldgeräte
- Allgemeine Relais- und Magnettreiber
- Textilmaschinen
Funktionales Blockdiagramm
