Texas Instruments DRV81545 Vierkanal-Low-Side-Schaltertreiber

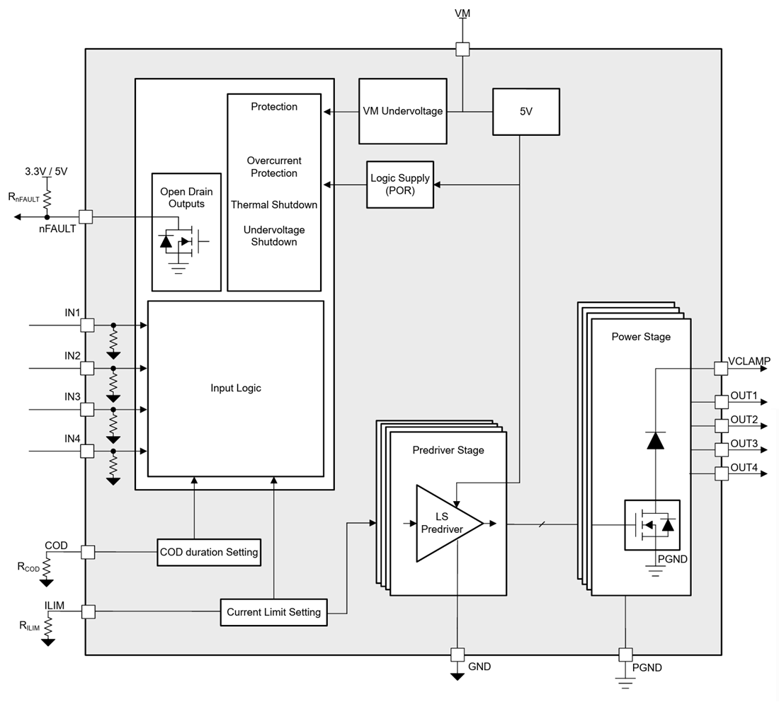
Der DRV81545 Vierkanal-Low-Side-Schaltertreiber von Texas Instruments arbeitet von 4,5 V bis 55 V und unterstützt eine Vielzahl von Lastströmen. Das Bauteil integriert vier Low-Side-Schalter mit einem RDS(ON) von 235 mΩ, wobei jeder über eine Freilaufdiode mit dem VCLAMP-Pin verbunden ist. Diese Funktion ermöglicht es dem Benutzer, entweder Strom zurückzuleiten oder einen externen TVS zur induktiven Lastabschaltung anzuschließen.

Der DRV81545 von Texas Instruments kann über eine Hardware-GPIO-Schnittstelle gesteuert werden. Jeder Kanal verfügt über einen individuellen Übertemperaturschutz und eine analoge Strombegrenzung, die mit einem externen Widerstand am ILIM-Pin eingestellt werden kann. Es steht eine optionale Abschaltverzögerungs-Bauform (COD) zur Verfügung, die die Dauer einer Strombegrenzungsbedingung auf dem jeweiligen Kanal begrenzt und so dazu beiträgt, Schäden am Bauteil oder an der Last zu vermeiden. Fehler werden an einem Fehler-Ausgangs-Pin angezeigt (nFAULT).

Merkmale

  • Integrierte Vierkanal-Low-Side-Schalter
    • 235 mΩ RDS(ON) bei 25 °C
    • Ausgangsstufe 55 V Betriebsmaximum (60 V absolutes Maximum)
    • 4,5 V niedriger Minimum-Betriebsversorgungsspannungsbereich mit stabilem RDS(ON) über Spannung
    • Wählbare Strombegrenzung von 0,5 A bis 3 A pro Kanal
    • Integrierte Catch-Dioden für flexibles Abklingen (externe TVS-/Zener) als alternativer Strompfad beim Abschalten des Schalters
  • Hardware-INx-Schnittstelle für schnelles Schalten bis zu 250 kHz
  • Diagnose-Feedback mit einem MCU-Fehler-Interrupt-Signal (nFAULT)
  • Thermisch optimiertes Gehäuse zur Oberflächenmontage (PWP20)
  • Schutzmerkmale
    • Vom Benutzer einstellbare Strombegrenzung
    • Unabhängiger Übertemperatur- und Überstromschutz für jeden Schalter
    • Konfigurierbare Überstromabschaltverzögerung (COD)

Applikationen

  • PLC
  • Verteilter I/O
  • Feldgeräte
  • Allgemeine Relais- und Magnettreiber
  • Textilmaschinen

Funktionales Blockdiagramm

Blockdiagramm - Texas Instruments DRV81545 Vierkanal-Low-Side-Schaltertreiber
Veröffentlichungsdatum: 2026-01-21 | Aktualisiert: 2026-01-28