Texas Instruments DACx0504 Spannungsausgangs-DACs
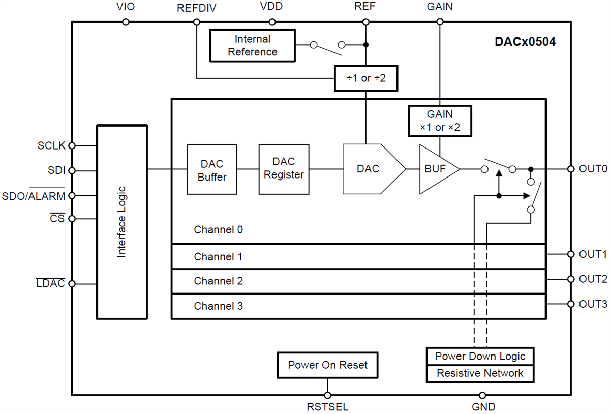
DACx0504 Spannungsausgangs-Digital-Analog-Wandler (DACs) von Texas Instruments sind stromsparende, gepufferte Vierkanal-DACs mit einer 16- oder 14-Bit-Auflösung. Der DACx0504 enthält eine niedrige Drift, eine interne 2,5V-Referenz, wodurch die Notwendigkeit für eine externe Präzisionsreferenz in den meisten Applikationen entfällt. Eine vom Anwender auswählbare Gain-Konfiguration bietet maximale Ausgangsspannungen von 1,25 V (Gain = 1/2), 2,5 V (Gain = 1) oder 5 V (Gain = 2). Diese Bauteile werden über eine Einzelversorgung von 2,7 V bis 5,5 V betrieben, sind monoton spezifiziert und bieten eine hohe Linearität von ±1 LSB INL.Die Kommunikation mit dem DACx0504 erfolgt über eine 4-drahtige serielle Schnittstelle, die mit Taktraten von bis zu 50 MHz betrieben wird. Die serielle Schnittstelle wird über den VIO-Pin mit einem Betrieb von 1,7 V bis 5,5 V aktiviert. Die vielseitige Schnittstelle ermöglicht den Betrieb des Bauteils mit einer großen Auswahl von Industriestandard-Mikroprozessoren und Mikrocontrollern.
Der DACx0504 integriert eine Power-On-Reset-Schaltung, die sicherstellt, dass die DAC-Ausgänge auf einem Null- oder mittleren Wert gehalten werden, bis ein gültiger Code auf die Bauteile geschrieben wird. Diese Bauteile haben bei 5,5 V einen äußerst geringen Stromverbrauch von 0,7 mA pro Kanal. Daher eignen sie sich ideal für batteriebetriebene Geräte. Die pro-Kanal-Abschaltfunktion reduziert den Stromverbrauch auf 15 µA.
Merkmale
- Leistung
- INL: ±1 LSB maximal bei 16-Bit-Auflösung
- TUE: ±0,1 % FSR max.
- Integrierte interne 2,5V-Präzisionsreferenz
- Anfangsgenauigkeit: ±5 mV max.
- Geringe Drift: 2 ppm/°C (typisch), DAC80504
- Hohe Antriebsfähigkeit: 20 mA mit 0,5 V von Versorgungsschienen
- Flexible Ausgangskonfiguration
- Vom Benutzer auswählbare Gain: 2, 1 oder 1/2
- Reset auf Null- oder Mittelwert
- Großer Temperaturbereich
- Stromversorgung: 2,7 V bis 5,5 V
- Temperatur: –40 °C bis +125 °C
- 50 MHz SPI-kompatible serielle Schnittstelle
- 4-Draht-Modus, Betrieb bei 1,7 V bis 5,5 V
- Daisy-Chain-Betrieb
- CRC-Fehler-Check
- Geringer Stromverbrauch: 0,7 mA/Kanal bei 5,5 V
- Kleines Gehäuse: 3 mm×3 mm, 16-Pin-WQFN
Applikationen
- Optische Netzwerke
- Drahtlose Infrastruktur
- Industrieautomatisierung
- Datenerfassungssysteme
Funktionales Blockdiagramm
