Texas Instruments DAC60516 16-Kanal-12-Bit-DAC
Der Texas Instruments DAC60516 16-Kanal-12-Bit-Digital-Analog-Wandler (DAC) ist ein stromsparender 16-Kanal-12-Bit-DAC mit gepuffertem Spannungsausgang. Der DAC60516 enthält eine interne Referenz mit 2,5 V, 15 ppm/°C, wodurch die Notwendigkeit einer externen Präzisionsreferenz in den meisten Applikationen entfällt. Eine vom Benutzer wählbare Gain-Konfiguration kann maximale Ausgangsspannungen von 2,5 V oder 5 V liefern. Der DAC60516 wird von einer einzigen Stromversorgung betrieben.Die Kommunikation mit dem DAC60516 erfolgt über eine SPI- und I2C-unterstützte serielle Schnittstelle, die mit Taktraten von bis zu 50 MHz (bei SPI-Schreibvorgängen auf dem Bauelement) betrieben wird. Der VIO-Pin ermöglicht den Betrieb der seriellen Schnittstelle von 1,7 V bis 5,5 V. Die DAC60516 flexible Schnittstelle ermöglicht den Betrieb mit verschiedenen Industriestandard-Mikroprozessoren und -Mikrocontrollern.
Der DAC60516 von Texas Instruments ist in einem kleinen WQFN-Gehäuse erhältlich und wird über einen Temperaturbereich von -40°C bis +125 °C betrieben.
Merkmale
- Leistungsfähigkeit
- INL von ±1 LSB maximal bei 12-Bit-Auflösung
- TUE von ±0,15 % von FSR max.
- Integrierte 2,5 V interne Präzisionsreferenz
- Anfängliche Genauigkeit von max. ±2,5 mV
- Drift von 15 ppm/°C typ.
- Flexible Konfigurationsoptionen
- Vom Benutzer wählbares Gain von 2× oder 1×
- Auf Nullskala zurücksetzen
- Transparente Ausgangsfunktion
- Hohe Antriebsfähigkeit von 50 mA mit 0,5 V von Versorgungsschienen
- Umfangreicher Betriebsbereich
- Stromversorgung von 2,7 V bis 5,5 V
- Temperaturbereich: -40 °C bis +125 °C
- SPI- und I2C-Schnittstellen mit Betrieb von 1,7 V bis 5,5 V
- SPI: 4-Draht-Schnittstelle
- I2C: Vier Zieladressen
- 4 mm × 4 mm, 28-Pin-WQFN-Gehäuse
Applikationen
- Optische Module
- Inter-DC-Verbindung
- Modul mit Analogausgang
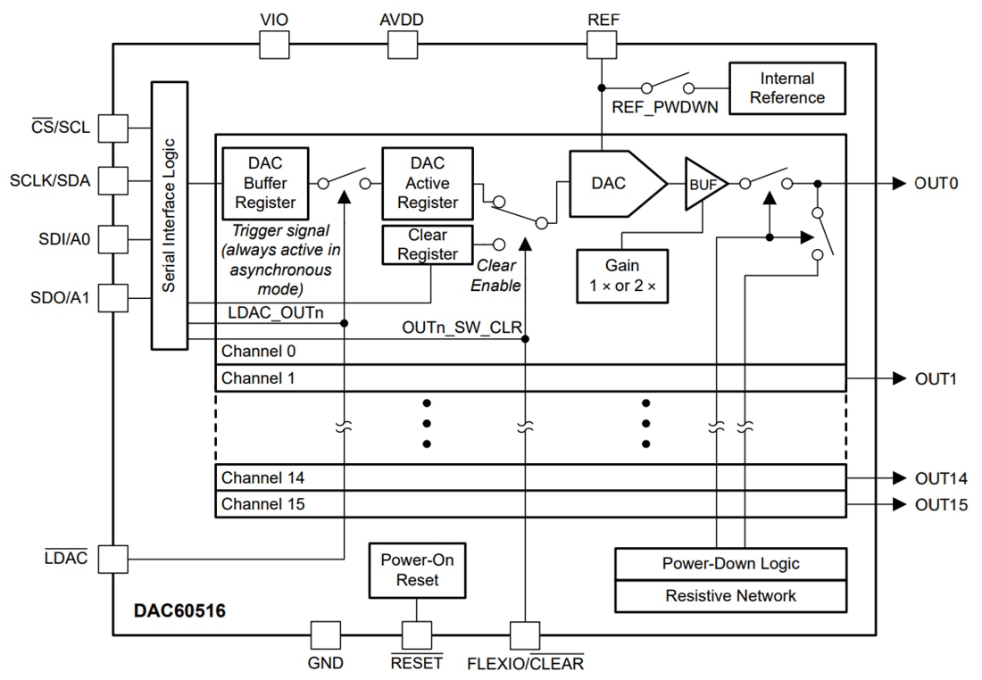
Funktionales Blockdiagramm
Veröffentlichungsdatum: 2025-04-09
| Aktualisiert: 2025-04-17
