Texas Instruments CC3235x SimpleLink™-Wi-Fi®-MCU-Lösung

Die Texas Instruments CC3235x SimpleLink™-Wi-Fi®-Dualband-Einzelchip-MCU-Wireless-Lösung integriert zwei Prozessoren in einem Einzelchip und ist in zwei Ausführungen, CC3235S und C3235SF, verfügbar. Der CC3235S enthält einen RAM mit 256 KB, IoT-Netzwerk-Sicherheit und Bauteil-Identität/-Schlüssel. Darüber hinaus bietet der CC3235S Sicherheitsfunktionen auf MCU-Ebene, wie z. B. Datei-Systemverschlüsselung, Nutzer-IP-Verschlüsselung (MCU-Bild), sicheres Hochfahren und Debug-Sicherheit. Der CC3235SF basiert auf dem CC3235S und integriert zusätzlich zum 256 KB RAM einen benutzerdedizierten ausführbaren Flash von 1 MB.

Die CC3235x SimpleLink™-Baureihe bietet einen Netzwerkprozessor-MCU zum Ausführen aller WLAN- und logischen Internet-Schichten Das ROM-basierte Subsystem entlastet den Host-MCU vollständig und enthält einen 802.11a/b/g/n 2,4-GHz- und 5-GHz-Dualbandfunk, ein Basisband und einen MAC mit einer leistungsstarken Hardware-Kryptographie-Engine. Die CC3235x Bauteile verfügen über neue Funktionen für eine einfachere Konnektivität der IoT-Applikationen. Diese Funktionen umfassen 802.11a-Unterstützung (5 GHz), BLE-/2,4-GHz-Funk-Koexistenz, Antennenauswahl, verbesserte Sicherheit mit FIPS 140-2 Stufe 1 Zertifizierung, bis zu 16 aufeinanderfolgende Sicherheitssockel und eine Zertifikatsregistrierungsanforderung (CSR).

Merkmale

  • System-on-Chip (SoC) mit Multi-Core-Architektur
  • 802.11 a/b/g/n: 2,4 GHz und 5 GHz
  • FIPS 140-2 Stufe 1 zertifiziert
  • Mehrschichtige Sicherheitsfunktionen, die Entwickler beim Schutz von Identitäten, Daten und der Software-IP unterstützen
  • Stromsparende Modi für batteriebetriebene Applikationen
  • Koexistenz mit 2,4-GHz-Funk
  • Industrietemperaturbereich: -40 °C bis +85 °C
  • Wi-Fi CERTIFIED™ gemäß Wi-Fi Alliance®
  • Applikations-Mikrocontroller-Subsystem:
    • ARM® Cortex®-M4-Core bei 80 MHz
    • Benutzerdedizierter Speicher
      • 256 KB RAM
      • Optionaler ausführbarer Flash von 1 MB
    • Umfassender Satz von Peripherien und Timern
    • 27 I/O-Pins mit flexiblen Multiplexing-Optionen
      • UART-, I2S-, I2C-, SPI-, SD-, ADC-, 8-Bit-Parallelschnittstelle
      • Timer und PWM
  • WLAN-Netzwerkprozessor-Subsystem (NWP)
    • Wi-Fi®-Core:
      • 802.11 a/b/g/n 2,4 GHz und 5 GHz
      • Modi:
      • Zugangspunkt (AP)
      • Station (STA)
      • Wi-Fi Direct® (nur bei 2,4 GHz unterstützt)
      • Sicherheit:
      • WEP
      • WPA™-/WPA2™-PSK
      • WPA2-Enterprise
    • Internet- und Applikationsprotokolle:
      • HTTPS-Server, mDNS, DNS-SD, DHCP
      • IPv4- und IPv6-TCP/IP-Stapel
      • 16 BSD-Sockel (vollständig gesicherte TLS v1.2 und SSL 3.0)
    • Eingebautes Leistungsmanagement-Subsystem:
      • Konfigurierbare stromsparende Profile (immer, zeitweise, Tag)
      • Fortschrittliche stromsparende Modi
      • Integrierte DC/DC-Regler
  • Mehrschichtige Sicherheitsfunktionen:
    • Separate Ausführungsumgebungen
    • Netzwerksicherheit
    • Bauteil-Identität und -Schlüssel
    • Kryptografische Hardware-Beschleuniger-Engines (AES, DES, SHA/MD5, CRC)
    • Sicherheit auf Applikationsebene (Verschlüsselung, Authentifizierung, Zugriffskontrolle)
    • Erste sichere Programmierung
    • Software-Manipulationserkennung
    • Sicheres Booten
    • Zertifikatsregistrierungsanforderung (Certificate Signing Request, CSR)
    • Eindeutiges Schlüsselpaar pro Gerät
  • Applikationsdurchsatz:
    • UDP: 16 MBit/s, TCP: 13 MBit/s
    • Spitze: 72 MBit/s
  • Leistungsmanagement-Subsystem
    • Integrierte DC/DC-Wandler unterstützen eine große Auswahl von Versorgungsspannungen:
      • Großer VBAT-Spannungsmodus: 2,1 V bis 3,6 V
      • VIO ist immer mit VBAT gebunden
    • Fortschrittliche Stromsparmodi
      • Abschaltung: 1 µA, Ruhezustand: 4,5 μA
      • Stromsparender Tiefschlaf (LPDS): 120 µA
      • Leerlauf verbunden (MCU in LPDS): 710 µA
      • RX-Verkehr (MCU aktiv): 59 mA
      • TX-Verkehr (MCU aktiv): 223 mA
  • WLAN-TX-Leistung:
    • 2,4 GHz: 18,0 dBm bei 1 DSSS
    • 5 GHz: 18,1 dbm bei 6 OFDM
  • WLAN-RX-Empfindlichkeit:
    • 2,4 GHz: –96 dBm bei 1 DSSS
    • 5 GHz: –92 dBm bei 6 OFDM
  • Taktquelle:
    • Interner 40,0-MHz-Quarzoszillator
    • 32,768-kHz-Quarz oder externe RTC
  • RGK-Gehäuse
    • Sehr dünnes 64-Pin-Quad-Flat-Nonleaded-Gehäuse (VQFN) von 9 mm x 9 mm mit einem Rastermaß von 0,5 mm
  • Bauteil unterstützt das SimpleLink™-MCU-Plattform-Entwickler-Ökosystem

Applikationen

  • Internet of Things
    • Gebäude- und Hausautomatisierung:
      • HLK-Systeme und Thermostat
      • Videoüberwachung, Video-Türklingeln und stromsparende Kamera
      • Gebäude-Sicherheitssysteme und E-Schlösser
    • Haushaltsgeräte
    • Bestandsverfolgung
    • Fabrikautomatisierung
    • Medizin und Gesundheitswesen
    • Netzinfrastruktur

Videos

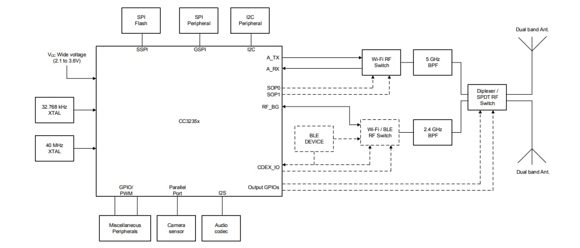
Funktionales Blockdiagramm

Blockdiagramm - Texas Instruments CC3235x SimpleLink™-Wi-Fi®-MCU-Lösung

Hardware-Übersicht

Blockdiagramm - Texas Instruments CC3235x SimpleLink™-Wi-Fi®-MCU-Lösung
Veröffentlichungsdatum: 2019-02-19 | Aktualisiert: 2024-05-16