Texas Instruments BQ25910 Parallele 6A-Einzelzellen-Batterieladegeräte
Texas Instruments BQ25910 I2C-gesteuerte parallele 6A-Einzelzellen-Batterie Ladegeräte mit dreistufigem Schaltmodus verwalten das Laden von Einzelzellen-Li-Ionen- und Li-Polymer-Batterien. Mit der seriellen I2C-Schnittstelle mit Lade- und Systemeinstellungen ist das BQ25910 eine äußerst flexible Lösung. Der dreistufige Wandler hält die höchste Betriebseffizienz des Schaltmodus aufrecht, reduziert gleichzeitig den Platzbedarf der Lösung und erhöht die Leistungsdichte. Das BQ25910 unterstützt schnellere Ladevorgänge mit einer hohen Eingangsspannung und ist dadurch für eine große Auswahl von tragbaren Geräten verfügbar. Eine zusätzliche Funktion bietet integrierte Schalt-FETs (QHSA, QHSB, QLSB, QLSA) und ein Sperrblockierungs-FET (QBLK). Mehrere Sicherheitsfunktionen sind auf dem Gerät enthalten, einschließlich Wärmeregulierung und Abschaltung, Eingangs-UVLO, Überspannungsschutz, Batterie-OVP, Lade-Sicherheitstimer und vieles mehr.Merkmale
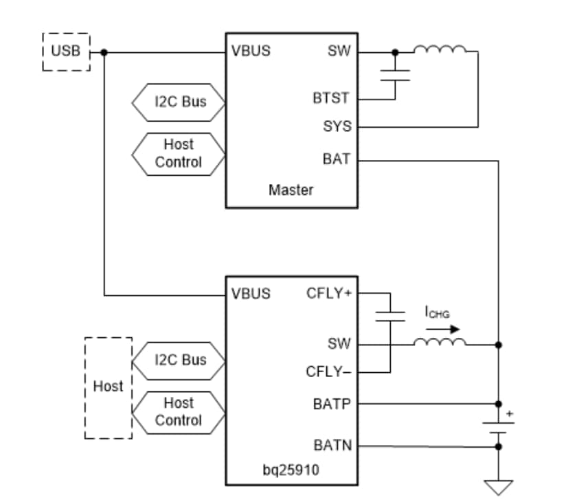
- Betrieb als Parallel-Ladegerät zur Bereitstellung einer schnellen Ladung im Dual-Ladebetrieb
- Synchrones paralleles 750Hz-Ladegerät mit dreistufigem Schaltmodus und hohem Wirkungsgrad
- Reduzierte Welligkeit zur Unterstützung von Induktivitäten mit niedrigem Profil
- 95,4 % Ladeleistung bei 1,5 A von einem 5V-Eingang
- 93,3 % Ladeleistung bei 3 A von einem 9V-Eingang
- Überragender Wirkungsgrad im Vergleich zu herkömmlichen Abwärtswandlern mit kompaktem Formfaktor
- Einzeleingang zur Unterstützung des USB-Eingangs und der anpassbaren Hochspannungsadapter
- Unterstützt einen Eingangsspannungsbereich von 3,9 V bis 14 V bei einer absoluten Eingangsnennspannung von max. 20 V
- Eingang mit Strombegrenzung (500 mA bis 3,6 A mit 100 mA Auflösung) zur Unterstützung der USB-2.0- und USB-3.0-Standards und Hochspannungsadapter
- Maximalleistungs-Tracking durch Eingangsspannungsbegrenzung (VINDPM) bis 14 V
- Flexibler I2C-Modus für eine optimale Systemleistung
- Die hohe Integration umfasst alle MOSFETs, Stromabtastung und Schleifenkompensation
- Verlustfreie Ladestrommessung ohne Messwiderstand
- Geringer Batterie-Ableitstrom im Standby-Modus von <10 µA
- Hohe Genauigkeit
- ±0,4 % Ladespannungsregelung
- ±10 % Ladestromregelung
- ±7,5 % Eingangsstromregelung
- Differentielle Batterie-Fernerkundung
- Sicherheit
- Wärmeregulierung und Übertemperaturschutz
- Eingangs-UVLO und Überspannungsschutz
- Batterie-OVP
- Dynamisches Eingangsleistungsmanagement (DPM)
- Batterieladungs-Sicherheitstimer
- Kurzschlussschutz mit fliegendem Kondensator
- Kurzschlussschutz der Ausgangsspannung
- Erhältlich in einem 36-Ball-WCSP-Gehäuse
Applikationen
- Smartphone
- Tablet
- Kabelloses Laden
- Tragbare Elektronik
- Elektronische Kassensysteme (ePOS)
BQ25910 Blockdiagramm
Veröffentlichungsdatum: 2018-04-11
| Aktualisiert: 2022-11-18
